GM Service Manual Online
For 1990-2009 cars only

Auxiliary Air Conditioning Evaporator Replacement Suburban

Removal Procedure

    Caution: Unless directed otherwise, the ignition and start switch must be in the OFF or LOCK position, and all electrical loads must be OFF before servicing any electrical component. Disconnect the negative battery cable to prevent an electrical spark should a tool or equipment come in contact with an exposed electrical terminal. Failure to follow these precautions may result in personal injury and/or damage to the vehicle or its components.

  1. Disconnect the negative battery cable.
  2. Recover the refrigerant. Refer to Refrigerant Recovery and Recharging .
  3. Remove the rear quarter interior trim, as necessary. Refer to Rear Quarter Trim Panel Replacement in Interior Trim.
  4. Remove the right rear quarter trim panel. Refer to Rear Quarter Trim Panel Replacement in Interior Trim.
  5. Remove the right rear wheelhouse. Refer to Rear Wheel Opening Flare Replacement in Exterior Trim.

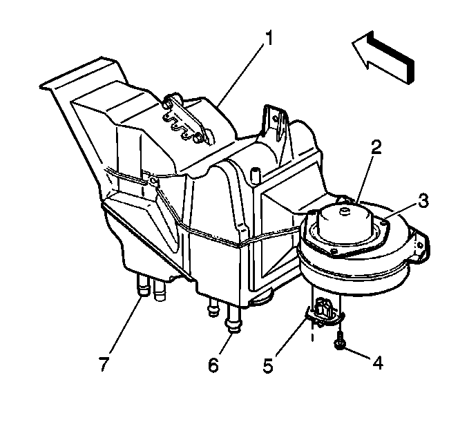
  6. Object Number: 258108  Size: SH
  7. Disconnect the rear heater hoses from the auxiliary heater core (7), if equipped. Refer to Heater Hoses Replacement - Auxiliary in Heating and Ventilation (Non-A/C).
  8. Disconnect the auxiliary refrigerant hoses from the auxiliary evaporator (6). Refer to Heater Hoses Replacement - Auxiliary in Heating and Ventilation (Non-A/C).
  9. Disconnect the electrical connectors, as necessary.

  10. Object Number: 258121  Size: SH
  11. Complete the following steps in order to remove the heater/evaporator case cover:
  12. 9.1. Remove the case clips.
    9.2. Remove the 11 screws.
    9.3. Separate the case halves.
  13. Remove the pipe insulator.
  14. Remove the evaporator core.

Installation Procedure

  1. Install the evaporator core.
  2. Install the pipe insulator.

  3. Object Number: 258121  Size: SH
  4. Install the heater/evaporator case cover clips.

  5. Object Number: 258108  Size: SH
  6. Install the blower motor (2) to the case.
  7. Install the auxiliary case to the vehicle.
  8. Connect the auxiliary refrigerant hoses to the auxiliary evaporator (6). Refer to Heater Hoses Replacement - Auxiliary in Heating and Ventilation (Non-A/C).
  9. Connect the rear heater hoses to the auxiliary heater core (7), if equipped. Refer to Heater Hoses Replacement - Auxiliary in Heating and Ventilation (Non-A/C).
  10. Connect the electrical connectors, as necessary.
  11. Install the right rear wheelhouse. Refer to Rear Wheel Opening Flare Replacement in Exterior Trim.
  12. Install the right rear quarter trim panel. Refer to Rear Quarter Trim Panel Replacement in Interior Trim.
  13. Install the rear quarter interior trim. Refer to Rear Quarter Trim Panel Replacement in Interior Trim.
  14. Connect the negative battery cable.

Auxiliary Air Conditioning Evaporator Replacement 4-Door Utility

Removal Procedure

    Caution: Unless directed otherwise, the ignition and start switch must be in the OFF or LOCK position, and all electrical loads must be OFF before servicing any electrical component. Disconnect the negative battery cable to prevent an electrical spark should a tool or equipment come in contact with an exposed electrical terminal. Failure to follow these precautions may result in personal injury and/or damage to the vehicle or its components.

  1. Disconnect the negative battery cable.
  2. Recover the refrigerant. Refer to Refrigerant Recovery and Recharging
  3. Remove the rear quarter interior trim, as necessary. Refer to Rear Quarter Trim Panel Replacement in Interior Trim.
  4. Remove the right rear quarter trim panel. Refer to Rear Quarter Trim Panel Replacement in Interior Trim.

  5. Object Number: 258115  Size: SH
  6. Disconnect the auxiliary refrigerant hoses from the auxiliary evaporator (5).
  7. Disconnect the electrical connectors, as necessary.
  8. Complete the following steps in order to remove the evaporator case cover:
  9. 7.1. Remove the screws (2) securing the case to the rear quarter sheet metal.
    7.2. Remove the blower housing (3) from the rear of the case.
    7.3. Remove the 10 case clips (6).
    7.4. Separate the case halves.
  10. Remove the pipe insulator.
  11. Remove the evaporator core.

Installation Procedure

  1. Install the evaporator core.
  2. Install the pipe insulator.

  3. Object Number: 258115  Size: SH
  4. Install the clips (6) to the evaporator case cover.
  5. Install the screws (2) to the evaporator case cover.
  6. Install the auxiliary case to the vehicle.
  7. Connect the auxiliary refrigerant hoses to the auxiliary evaporator (5).
  8. Connect the electrical connectors, as necessary.
  9. Install the right rear quarter trim panel. Refer to Rear Quarter Trim Panel Replacement in Interior Trim.
  10. Install the rear quarter interior trim. Refer to Rear Quarter Trim Panel Replacement in Interior Trim.
  11. Connect the negative battery cable.