| Figure 1: |
Underhood Fuse/Relay Center
|
| Figure 2: |
Data Link Connector (DLC)
|
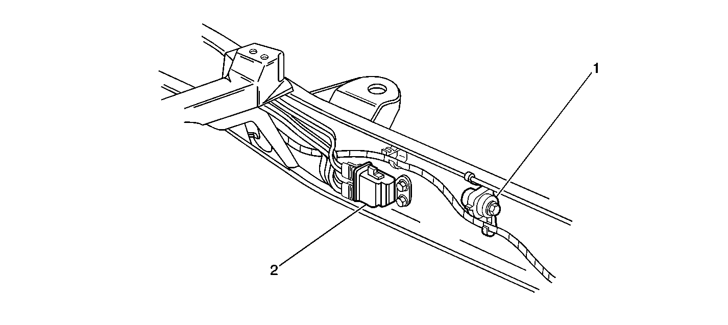
| Figure 3: |
Vehicle Speed Sensor (4WD)
|
| Figure 4: |
Vehicle Speed Sensor (2WD)
|
| Figure 5: |
Fuel Filter
|
| Figure 6: |
Fuel Balance Module and Fuel Balance Pump (dual tanks only)
|
| Figure 7: |
Fuel Tank Pressure Sensor and Fuel Tank Sender Assembly (Utility side
tank)
|
| Figure 8: |
Fuel Tank Pressure Sensor and Fuel Tank Sender Assembly (Pick-up
side tank)
|
| Figure 9: |
Fuel Tank Pressure Sensor and Fuel Tank Sender Assembly (rear tank)
|
| Figure 10: |
Idle Air Control (IAC) and Throttle Position (TP) Sensor
|
| Figure 11: |
Idle Air Control, Manifold Absolute Pressure, Engine Coolant Temperature,
Throttle Position Sensors
|
| Figure 12: |
Knock Sensors
|
| Figure 13: |
Ignition Control Module,Camshaft Position Sensor,Knock Sensor
|
| Figure 14: |
Intake Air Temperature, Mass Air Flow Sensors
|
| Figure 15: |
Canister Purge, Linear EGR, Knock Sensor
|
| Figure 16: |
EVAP Canister, EVAP Vent Valve
|
| Figure 17: |
VCM, Auxiliary Electric Cooling Fan, Underhood Electrical Center
|
| Figure 18: |
Heated Oxygen Sensors
|
| Figure 19: |
Air Injection Reaction (AIR) Pump
|
| Figure 20: |
Auxillary Cooling Fan
|