GM Service Manual Online
For 1990-2009 cars only
Figure 1:

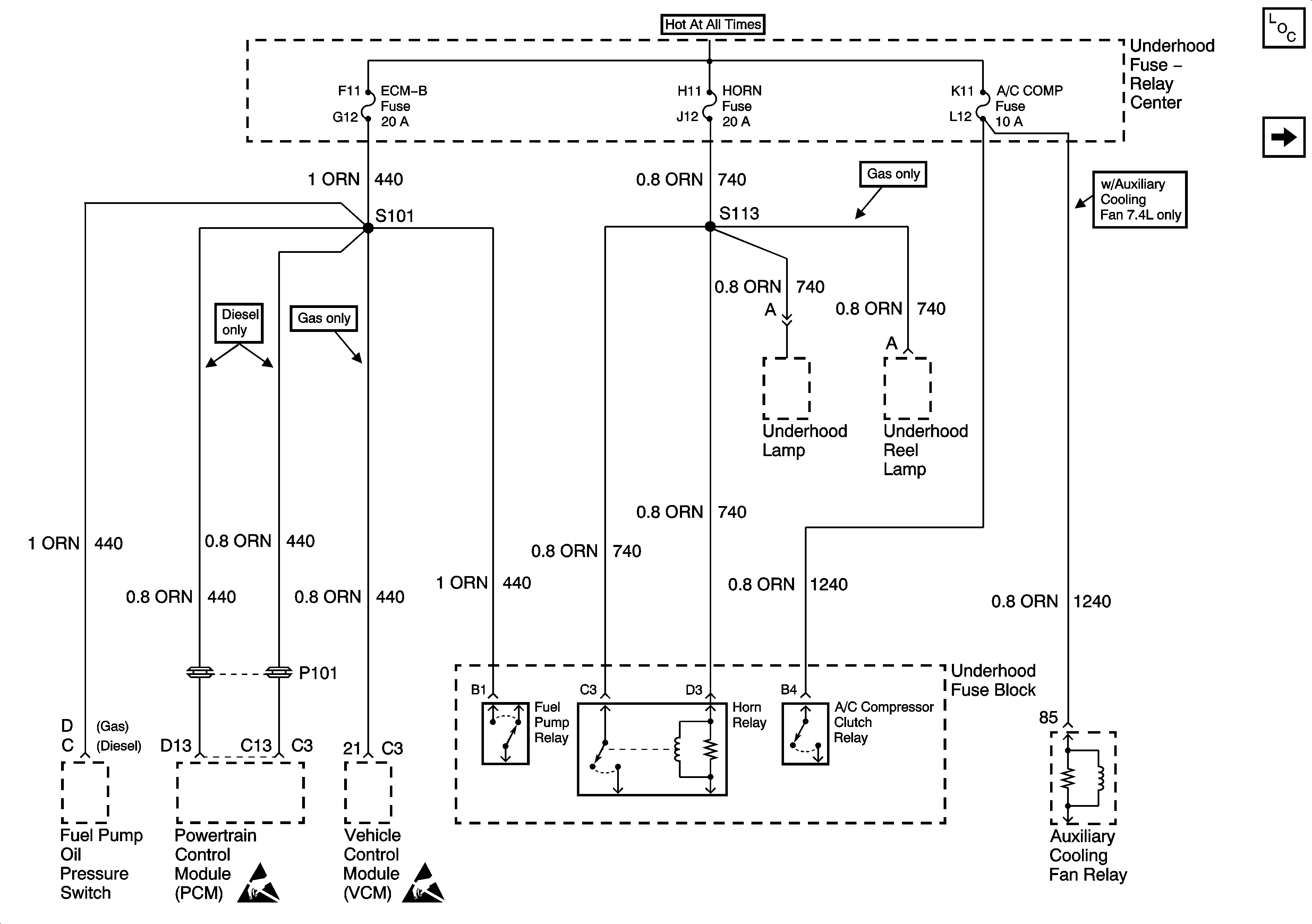
Cell 11: ECM-B, HORN and A/C COMP Fuses


Object Number: 1469702  Size: FS
Power and Grounding Components
Cell 11: FRONT HEATED SEATS, MIRRORS, AUX FAN and RR DEFOG Fuses
Handling Electrostatic Discharge Sensitive Parts Notice
Handling Electrostatic Discharge Sensitive Parts Notice
Figure 2:

Cell 11: FRONT HEATED SEATS, MIRRORS, AUX FAN and RR DEFOG Fuses


Object Number: 1469704  Size: FS
Power and Grounding Components
Cell 11: IGN-E Fuse
Cell 11: ECM-B HORN, and A/C COMP Fuses
Cell 10: IGN A and RADIO BATT Fuses, PWR ACCY Circuit Breaker (w/ ZM9)
Cell 10: Battery, LIGHTING and RADIO BATT Fuses
Handling Electrostatic Discharge Sensitive Parts Notice
Handling Electrostatic Discharge Sensitive Parts Notice
Handling Electrostatic Discharge Sensitive Parts Notice
Figure 3:

Cell 11: IGN-E Fuse


Object Number: 1469709  Size: FS
Power and Grounding Components
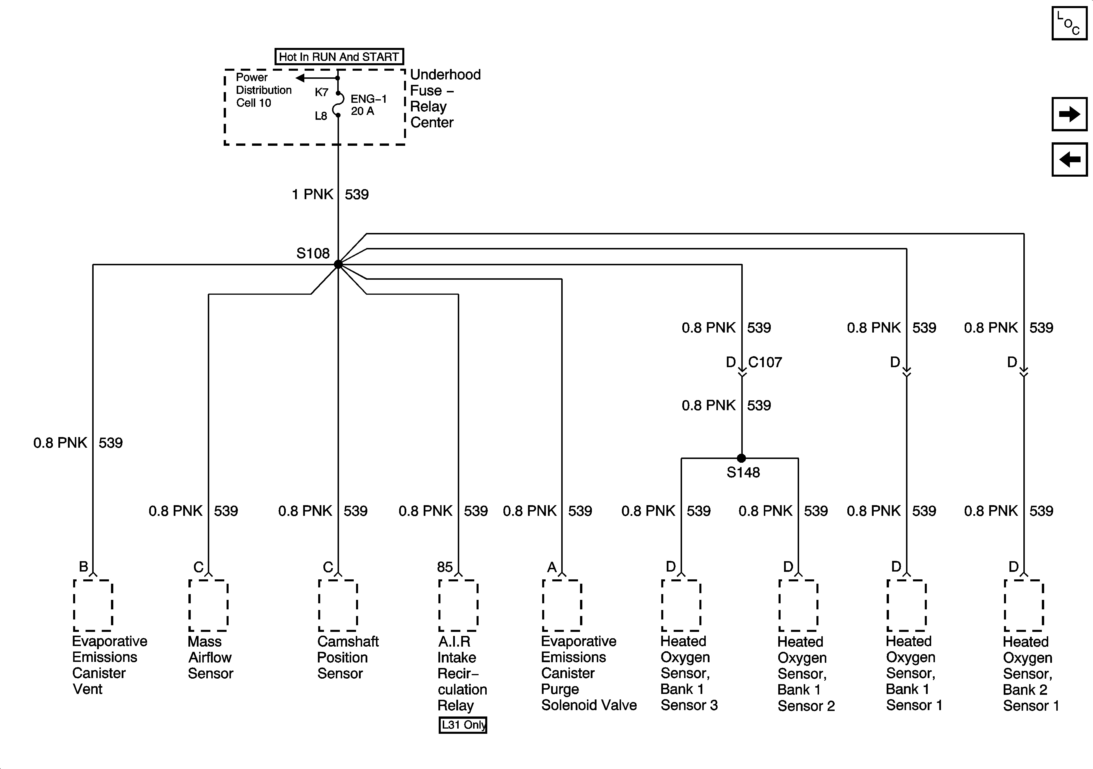
Cell 11: ENG-1 Fuse
Cell 11: FRONT HEATED SEATS, MIRRORS, AUX FAN and RR DEFOG Fuses
Handling Electrostatic Discharge Sensitive Parts Notice
Figure 4:

Cell 11: ENG-1 Fuse


Object Number: 1469713  Size: FS
Power and Grounding Components
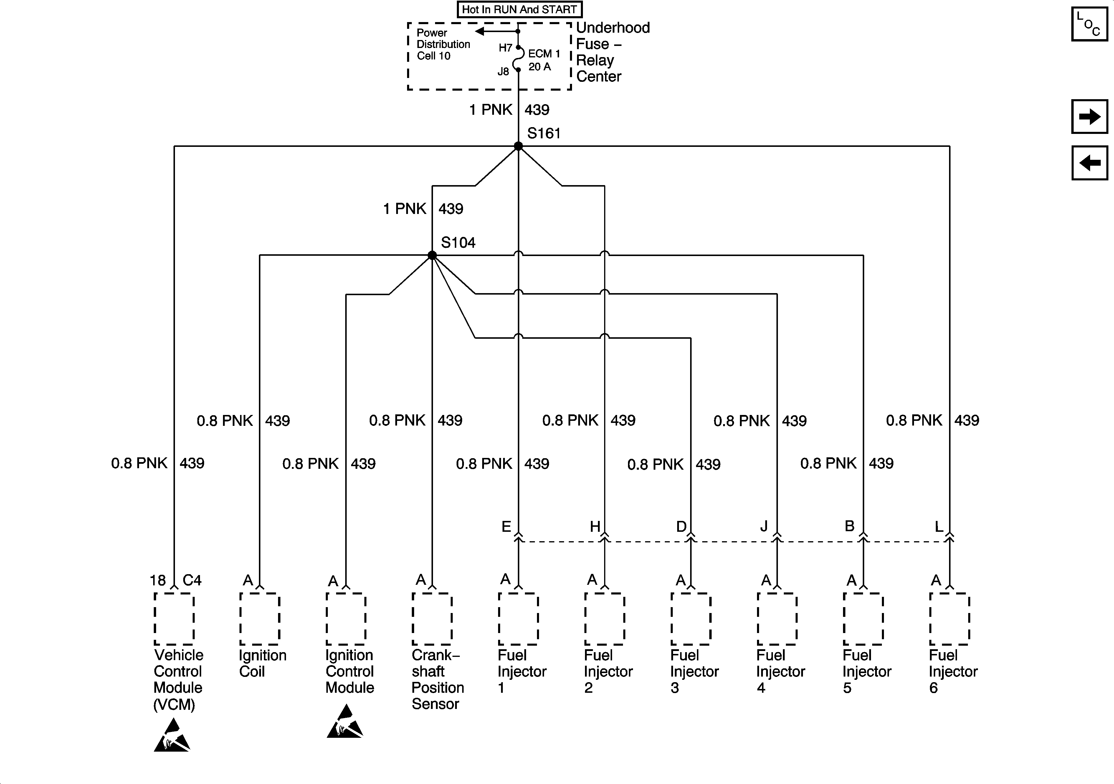
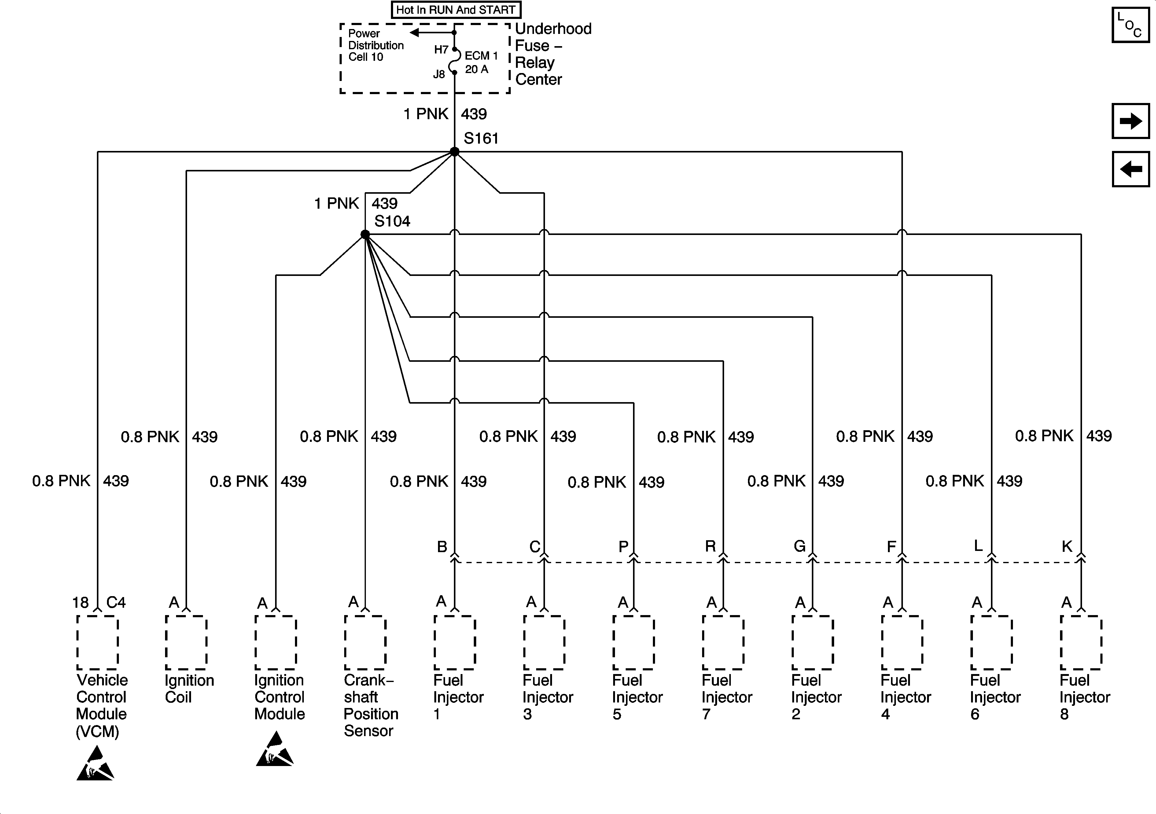
Cell 11: ECM-1 Fuse (4.3L)
Cell 11: IGN-E Fuse
Cell 10: IGN E and CRANK Fuses
Figure 5:

Cell 11: ECM-1 Fuse - 4.3L


Object Number: 1469715  Size: FS
Power and Grounding Components
Cell 11: ECM-1 Fuse (5.0L/5.7L)
Cell 11: ENG-1 Fuse
Cell 10: IGN E and CRANK Fuses
Handling Electrostatic Discharge Sensitive Parts Notice
Handling Electrostatic Discharge Sensitive Parts Notice
Figure 6:

Cell 11: ECM-1 Fuse - 5.0L/5.7L


Object Number: 1469719  Size: FS
Power and Grounding Components
Cell 11: ECM-1 Fuse (7.4L)
Cell 11: ECM-1 Fuse (4.3L)
Cell 10: IGN E and CRANK Fuses
Handling Electrostatic Discharge Sensitive Parts Notice
Handling Electrostatic Discharge Sensitive Parts Notice
Figure 7:

Cell 11: ECM-1 Fuse - 7.4L


Object Number: 1469723  Size: FS
Power and Grounding Components
Cell 11: ENG-1 and ECM-1 Fuses (Diesel)
Cell 11: ECM-1 Fuse (5.0L/5.7L)
Cell 10: IGN E and CRANK Fuses
Handling Electrostatic Discharge Sensitive Parts Notice
Handling Electrostatic Discharge Sensitive Parts Notice
Figure 8:

Cell 11: ENG-1 and ECM-1 Fuses - Diesel


Object Number: 1469727  Size: FS
Power and Grounding Components
Cell 11: AUX Fuse and PWR-ACCY Circuit Breaker
Cell 11: ECM-1 Fuse (7.4L)
Cell 10: IGN E and CRANK Fuses
Handling Electrostatic Discharge Sensitive Parts Notice
Figure 9:

Cell 11: AUX Fuse and PWR-ACCY Circuit Breaker


Object Number: 1469729  Size: FS
Power and Grounding Components
Cell 11: T CASE and CTSY Fuses (1 of 2)
Cell 11: ENG-1 and ECM-1 Fuses (Diesel)
Handling Electrostatic Discharge Sensitive Parts Notice
Figure 10:

Cell 11: T CASE and CTSY Fuses - 1 of 2


Object Number: 1469731  Size: FS
Power and Grounding Components
Cell 11: T CASE and CTSY Fuses (2 of 2)
Cell 11: AUX Fuse and PWR-ACCY Circuit Breaker
Cell 10: Battery, LIGHTING and DRL-FOG Fuses (w/ ZM9)
Handling Electrostatic Discharge Sensitive Parts Notice
Handling Electrostatic Discharge Sensitive Parts Notice
Cell 11: T CASE and CTSY Fuses (2 of 2)
Figure 11:

Cell 11: T CASE and CTSY Fuses - 2 of 2


Object Number: 1469735  Size: FS
Power and Grounding Components
Cell 11: SECURITY/STRG, PK LPS and DRL-FOG Fuses
Cell 11: T CASE and CTSY Fuses (1 of 2)
Cell 11: T CASE and CTSY Fuses (1 of 2)
Handling Electrostatic Discharge Sensitive Parts Notice
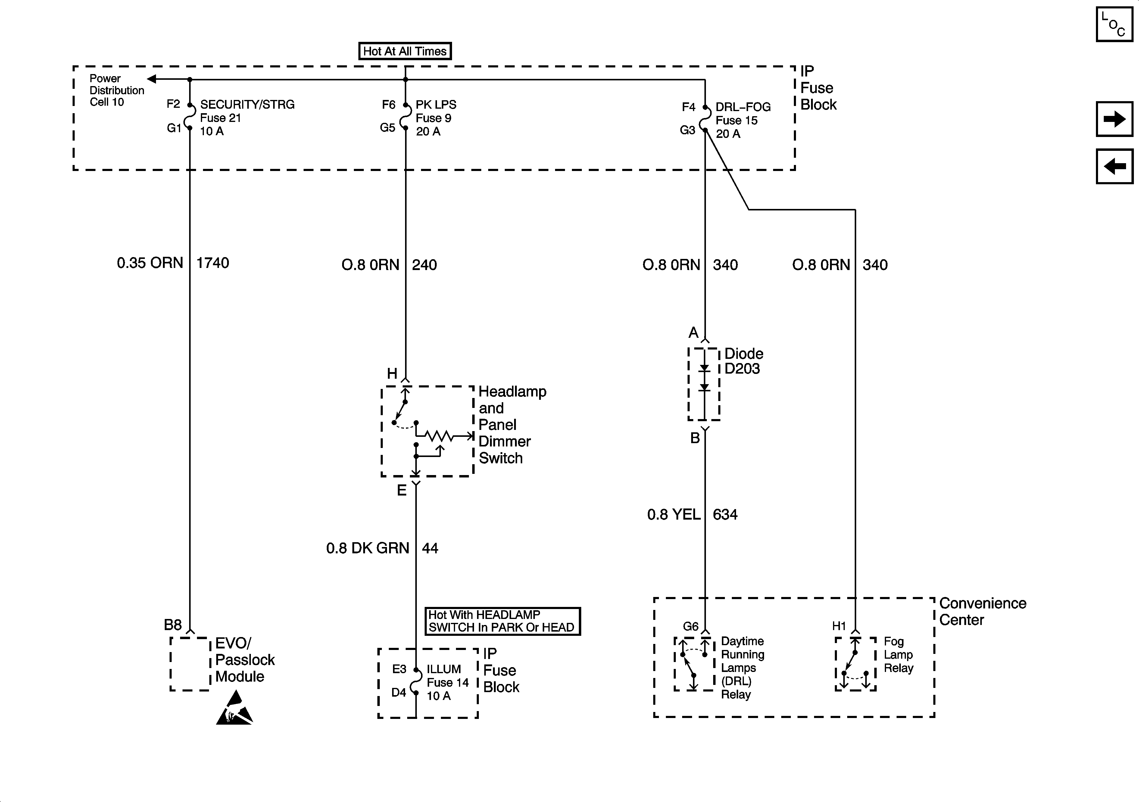
Figure 12:

Cell 11: SECURITY/STRG, PK LPS and DRL-FOG Fuses


Object Number: 1469738  Size: FS
Power and Grounding Components
Cell 11: STOP/HAZ, RADIO BATT and AUX PWR Fuses
Cell 11: T CASE and CTSY Fuses (2 of 2)
Cell 10: Battery, LIGHTING and DRL-FOG Fuses (w/ ZM9)
Handling Electrostatic Discharge Sensitive Parts Notice
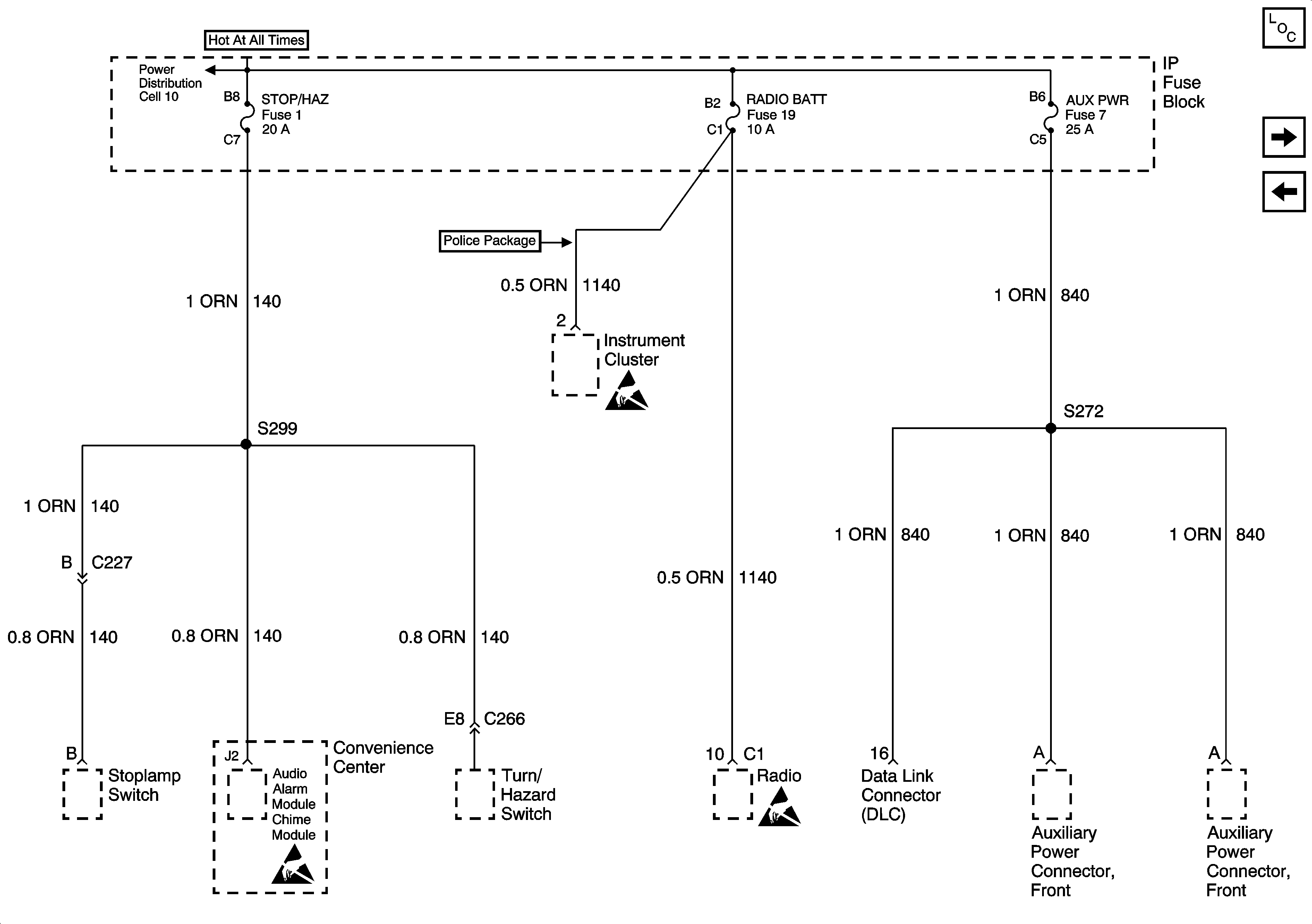
Figure 13:

Cell 11: STOP/HAZ, RADIO BATT and AUX PWR Fuses


Object Number: 1469740  Size: FS
Power and Grounding Components
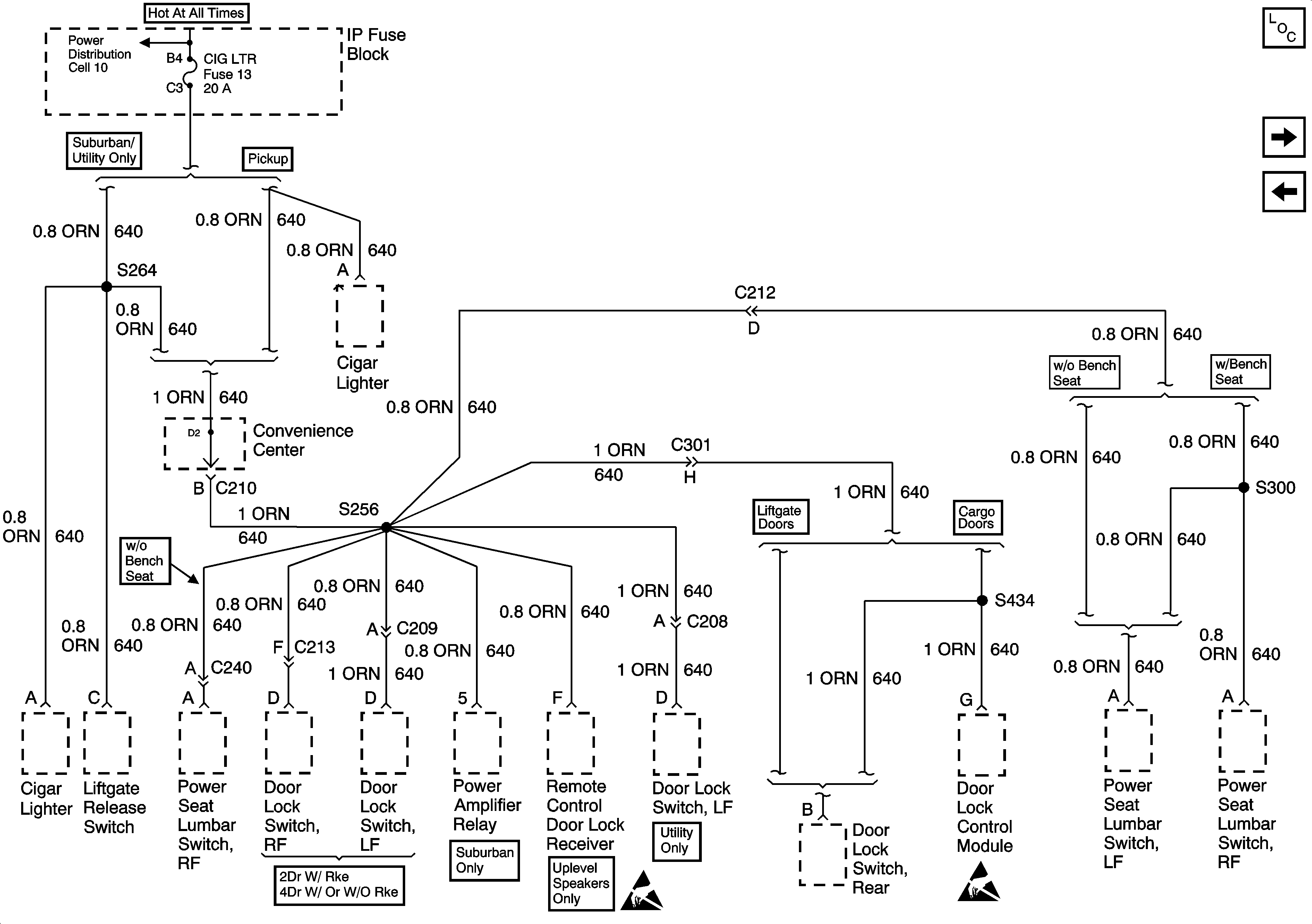
Cell 11: CIG LTR Fuse
Cell 11: SECURITY/STRG, PK LPS and DRL-FOG Fuses
Cell 10: IGN A and RADIO BATT Fuses, PWR ACCY Circuit Breaker (w/ ZM9)
Handling Electrostatic Discharge Sensitive Parts Notice
Handling Electrostatic Discharge Sensitive Parts Notice
Handling Electrostatic Discharge Sensitive Parts Notice
Figure 14:

Cell 11: CIG LTR Fuse


Object Number: 1469741  Size: FS
Power and Grounding Components
Cell 11: AIR BAG, TURN B/U, CRANK and TRANS Fuses
Cell 11: STOP/HAZ, RADIO BATT and AUX PWR Fuses
Cell 10: IGN A and RADIO BATT Fuses, PWR ACCY Circuit Breaker (w/ ZM9)
Handling Electrostatic Discharge Sensitive Parts Notice
Handling Electrostatic Discharge Sensitive Parts Notice
Figure 15:

Cell 11: AIR BAG, TURN B/U, CRANK and TRANS Fuses


Object Number: 1469743  Size: FS
Power and Grounding Components
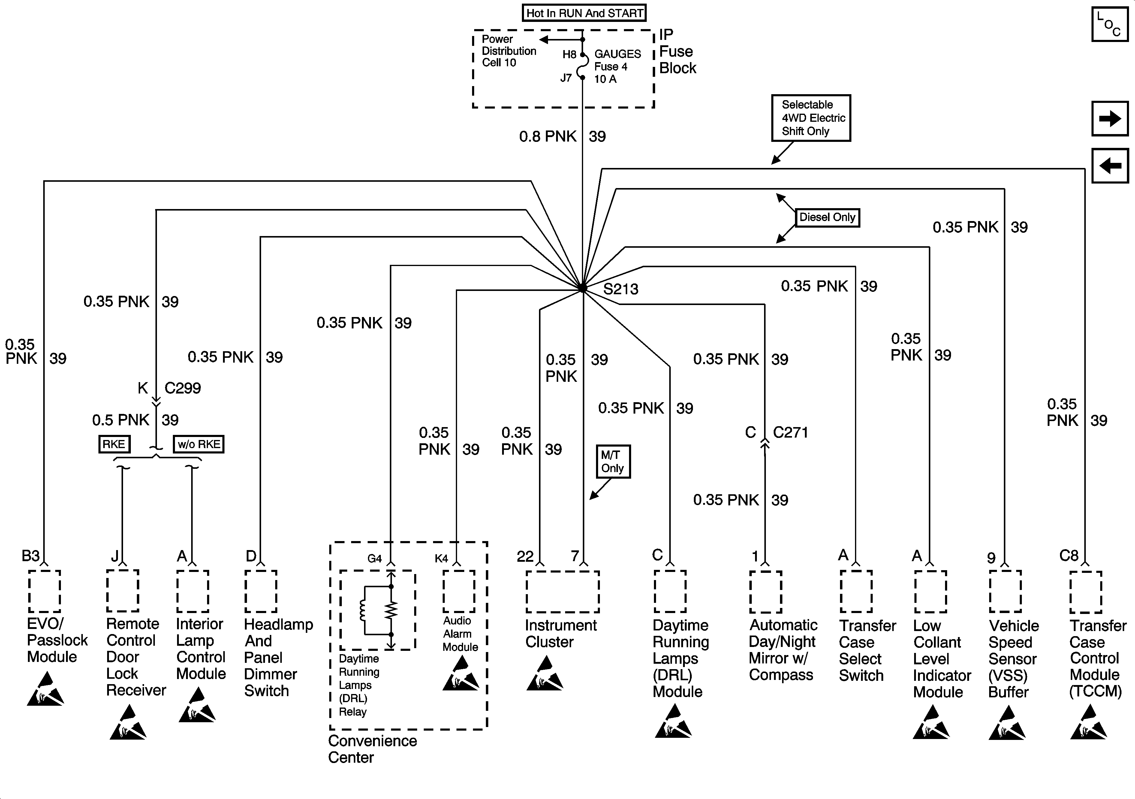
Cell 11: GAUGES Fuse
Cell 11: CIG LTR Fuse
Cell 10: Ignition Switch and WIPER Fuse
SIR Caution
SIR Caution
Handling Electrostatic Discharge Sensitive Parts Notice
Handling Electrostatic Discharge Sensitive Parts Notice
Figure 16:

Cell 11: GAUGES Fuse


Object Number: 1469744  Size: FS
Power and Grounding Components
Cell 11: RR WIPER, WIPER, RADIO Fuses and PWR WDO Circuit Breaker
Cell 11: AIR BAG, TURN B/U, CRANK and TRANS Fuses
Cell 10: Ignition Switch and WIPER Fuse
Handling Electrostatic Discharge Sensitive Parts Notice
Handling Electrostatic Discharge Sensitive Parts Notice
Handling Electrostatic Discharge Sensitive Parts Notice
Handling Electrostatic Discharge Sensitive Parts Notice
Handling Electrostatic Discharge Sensitive Parts Notice
Handling Electrostatic Discharge Sensitive Parts Notice
Handling Electrostatic Discharge Sensitive Parts Notice
Handling Electrostatic Discharge Sensitive Parts Notice
Handling Electrostatic Discharge Sensitive Parts Notice
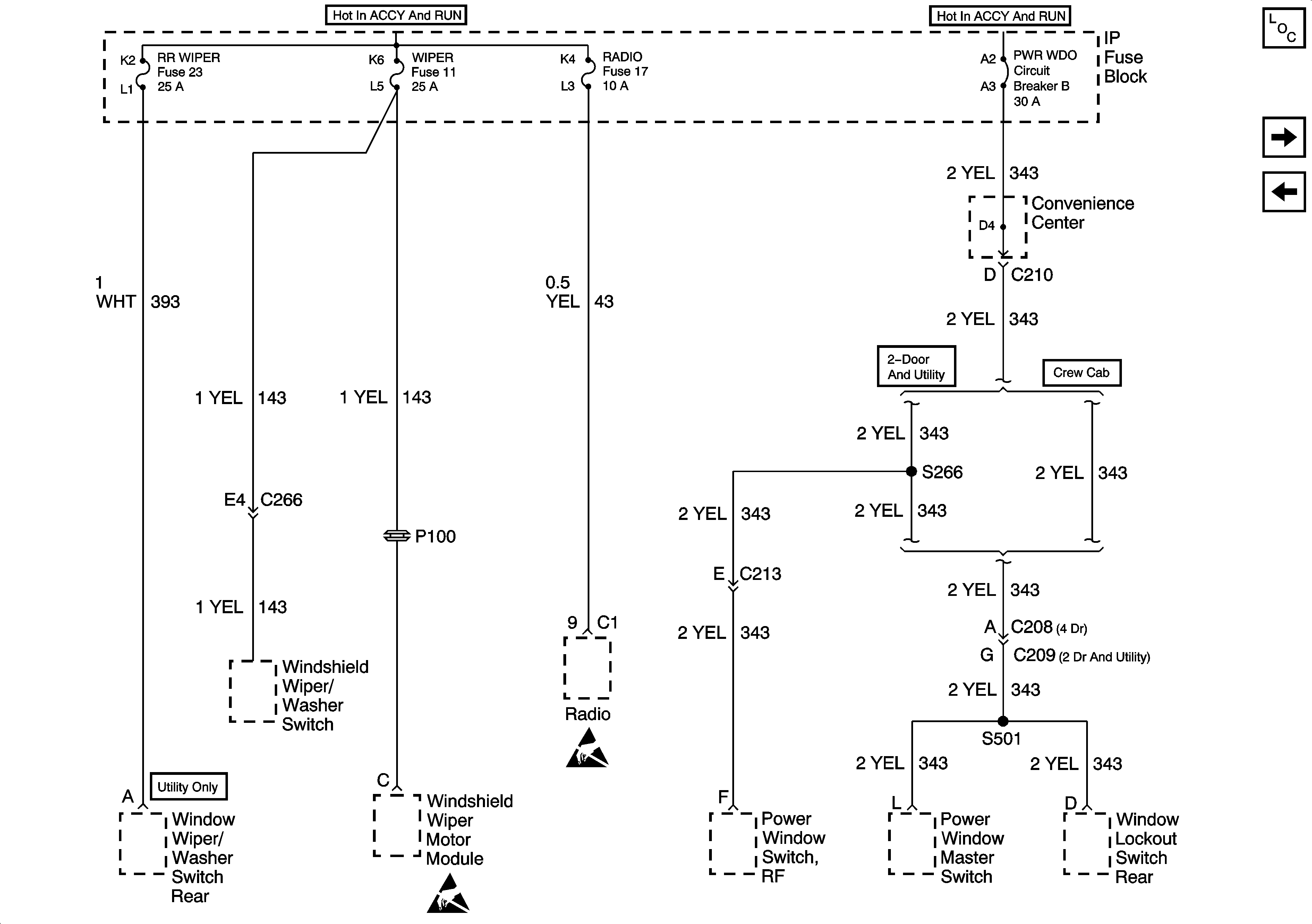
Figure 17:

Cell 11: RR WIPER, WIPER, RADIO Fuses and PWR WDO Circuit Breaker


Object Number: 1469745  Size: FS
Power and Grounding Components
Cell 11: RR HVAC Fuse
Cell 11: GAUGES Fuse
Handling Electrostatic Discharge Sensitive Parts Notice
Handling Electrostatic Discharge Sensitive Parts Notice
Figure 18:

Cell 11: RR HVAC Fuse


Object Number: 1469746  Size: FS
Power and Grounding Components
Cell 11: CRUISE and 4WD Fuses
Cell 11: RR WIPER, WIPER, RADIO Fuses and PWR WDO Circuit Breaker
Handling Electrostatic Discharge Sensitive Parts Notice
Handling Electrostatic Discharge Sensitive Parts Notice
Handling Electrostatic Discharge Sensitive Parts Notice
Figure 19:

Cell 11: CRUISE and 4WD Fuses


Object Number: 1469747  Size: FS
Power and Grounding Components
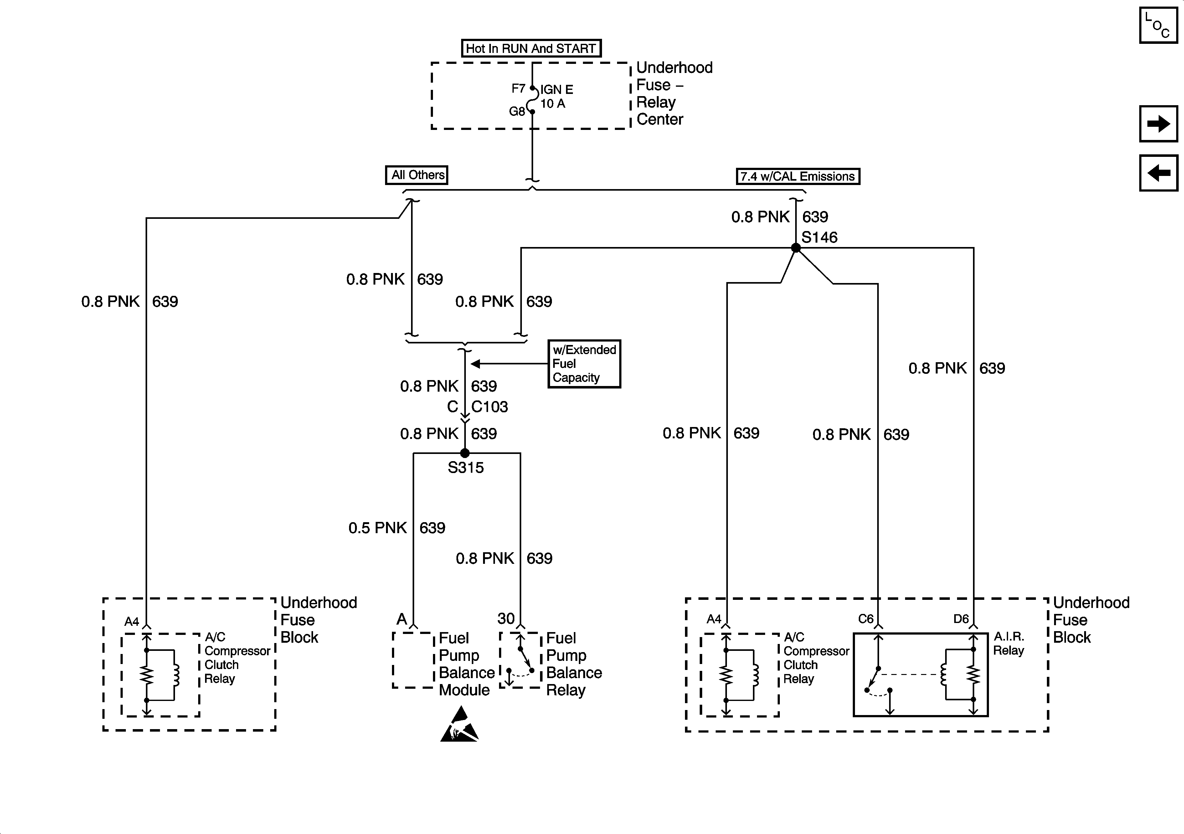
Cell 11: BRAKE and HTR-A/C Fuses
Cell 11: RR HVAC Fuse
Cell 10: Ignition Switch and WIPER Fuse
Handling Electrostatic Discharge Sensitive Parts Notice
Handling Electrostatic Discharge Sensitive Parts Notice
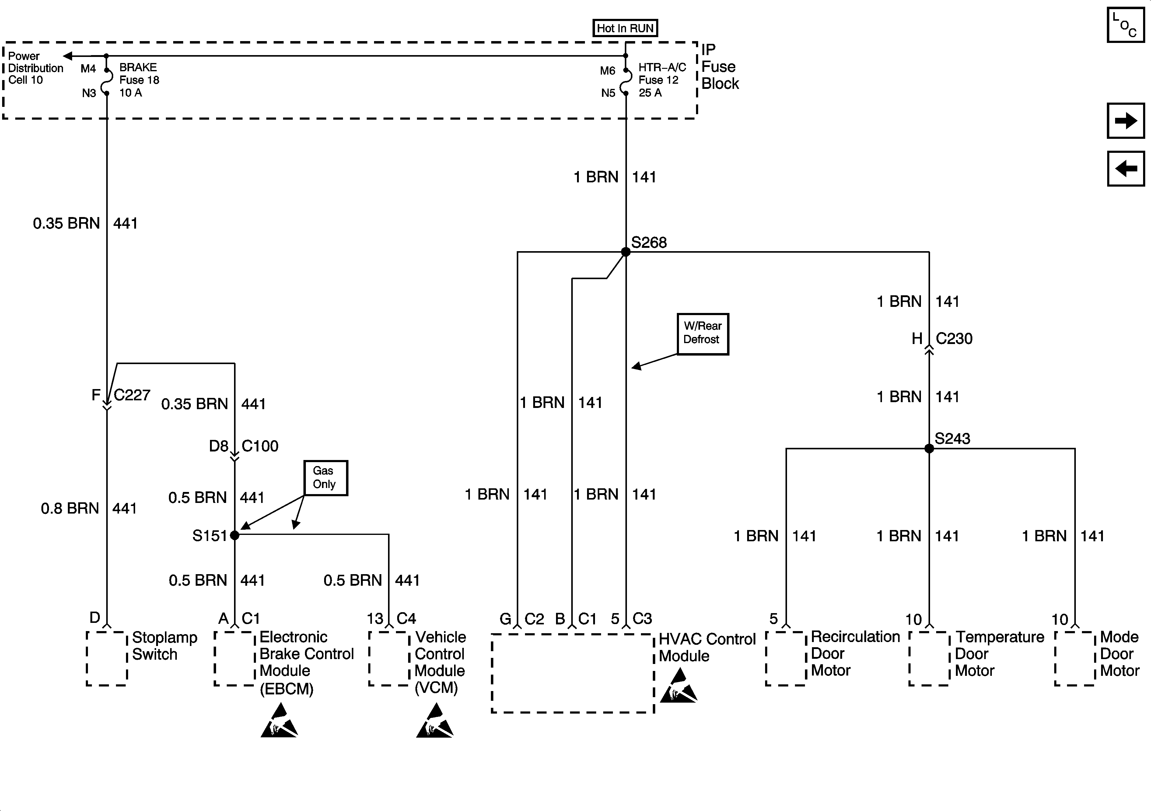
Figure 20:

Cell 11: BRAKE and HTR-A/C Fuses


Object Number: 1469748  Size: FS
Power and Grounding Components
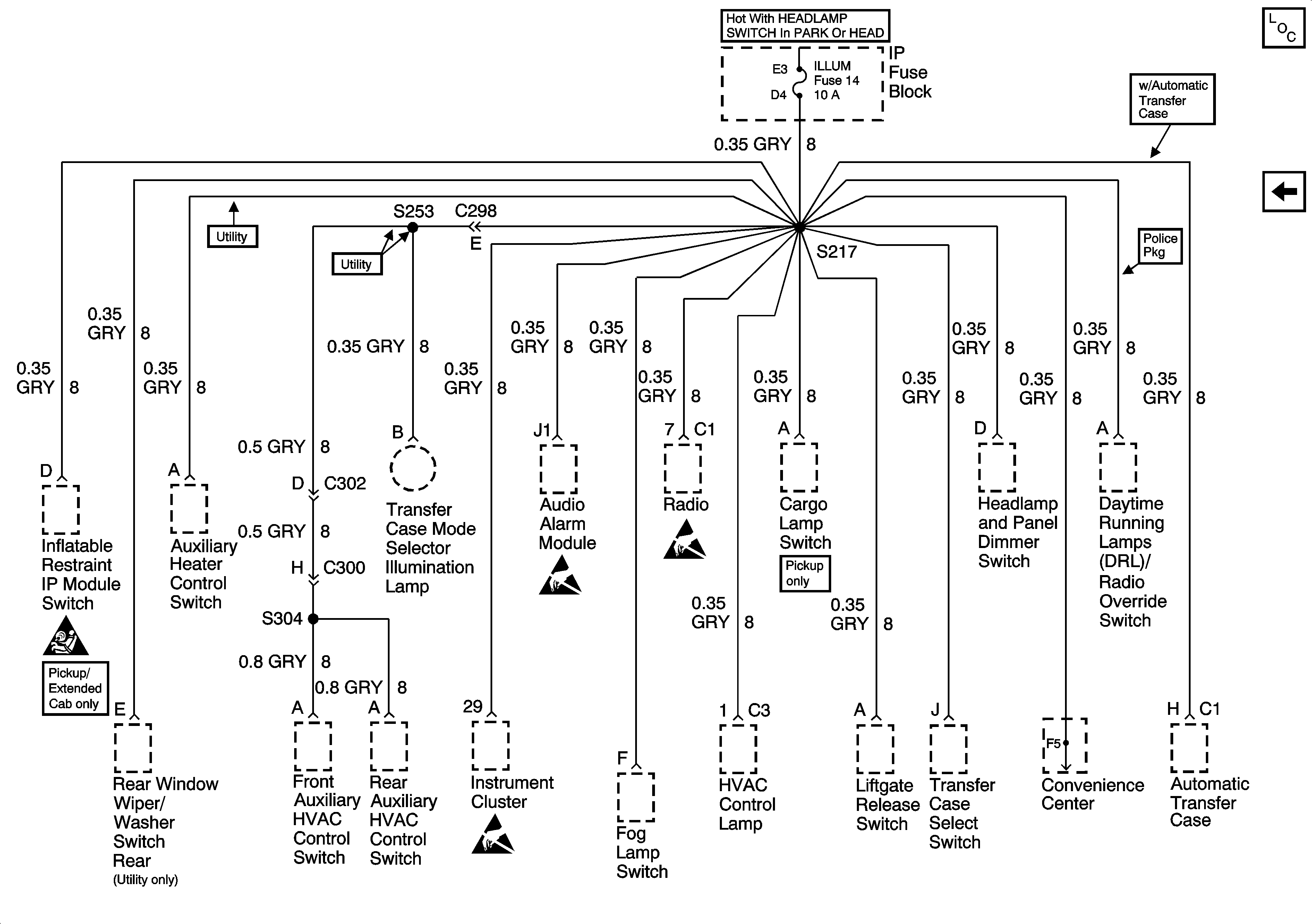
Cell 11: ILLUM Fuse
Cell 11: CRUISE and 4WD Fuses
Cell 10: Ignition Switch and WIPER Fuse
Handling Electrostatic Discharge Sensitive Parts Notice
Handling Electrostatic Discharge Sensitive Parts Notice
Handling Electrostatic Discharge Sensitive Parts Notice
Figure 21:

Cell 11: ILLUM Fuse


Object Number: 1469750  Size: FS
Power and Grounding Components
Cell 11: BRAKE and HTR-A/C Fuses
SIR Caution
Handling Electrostatic Discharge Sensitive Parts Notice
Handling Electrostatic Discharge Sensitive Parts Notice
Handling Electrostatic Discharge Sensitive Parts Notice