GM Service Manual Online
For 1990-2009 cars only

Wheel Alignment - Steering Wheel Angle and/or Front Toe Adjustment Light Duty


    Object Number: 156652  Size: SH
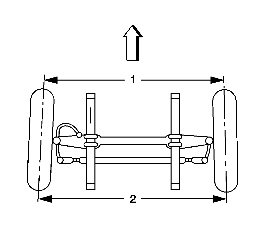
  1. Determine the toe-in (3) from the alignment equipment.
  2. With the steering wheel in the straight and the locked position, loosen the inner to outer tie rod sleeves.

  3. Object Number: 81  Size: SH
  4. Adjust the toe by turning the steering linkage tie rod adjuster in order to achieve the proper toe specification.
  5. Notice: Use the correct fastener in the correct location. Replacement fasteners must be the correct part number for that application. Fasteners requiring replacement or fasteners requiring the use of thread locking compound or sealant are identified in the service procedure. Do not use paints, lubricants, or corrosion inhibitors on fasteners or fastener joint surfaces unless specified. These coatings affect fastener torque and joint clamping force and may damage the fastener. Use the correct tightening sequence and specifications when installing fasteners in order to avoid damage to parts and systems.

  6. Verify that the toe adjustment is within specifications. Refer to Wheel Alignment Specifications in Wheel Alignment.
  7. Tighten the tie rod adjuster sleeves.

    Tighten
    Tighten the tie rod adjuster sleeves to 25 N·m (18 ft lb).

Wheel Alignment - Steering Wheel Angle and/or Front Toe Adjustment C3500HD

Measure toe-in at the following locations:

    • From the center of the tire treads or from the inboard side of the tires
    • At the front and the rear of the axle

Object Number: 200188  Size: SH
    • At the horizontal axis of the wheel

When setting the toe-in adjustment, neutralize the front suspension. Ensure that all component parts are in the same relative position when making the adjustment as they will be when in operation. In order to neutralize the suspension, roll the vehicle 3.5-4.5 meters (12-15 ft). When the vehicle is rolled forward, all normal tolerances in the suspension and the steering linkage are in the correct operating position. Neutralize the front suspension if the vehicle has been raised.

  1. Loosen the tie rod adjuster sleeve nuts.
  2. Turn the tie rod using a pipe wrench until the wheels have the proper toe-in.
  3. Set
    Toe total degrees should be within 0° to 0.24° preferred is 0.12° or Total toe in mm ,in should be within 0 to 0.12 in preferred is 0.06 in.

    Notice: Use the correct fastener in the correct location. Replacement fasteners must be the correct part number for that application. Fasteners requiring replacement or fasteners requiring the use of thread locking compound or sealant are identified in the service procedure. Do not use paints, lubricants, or corrosion inhibitors on fasteners or fastener joint surfaces unless specified. These coatings affect fastener torque and joint clamping force and may damage the fastener. Use the correct tightening sequence and specifications when installing fasteners in order to avoid damage to parts and systems.

  4. Tighten the tie rod adjuster sleeve nuts.
  5. Tighten
    Tighten the tie rod adjuster sleeve nuts to 45 N·m (33 lb ft).