GM Service Manual Online
For 1990-2009 cars only
Makes
🢒
Chevrolet
🢒
1999
🢒
Chevy C Pickup - 2WD
🢒
Transmission/Transaxle
🢒
Automatic Transmission - 4L60-E
🢒 Automatic Transmission Controls Schematics
Figure
1:
VSS, 4WD and Upshift Controls
Transmission Component Location
Transmission Component and System Description
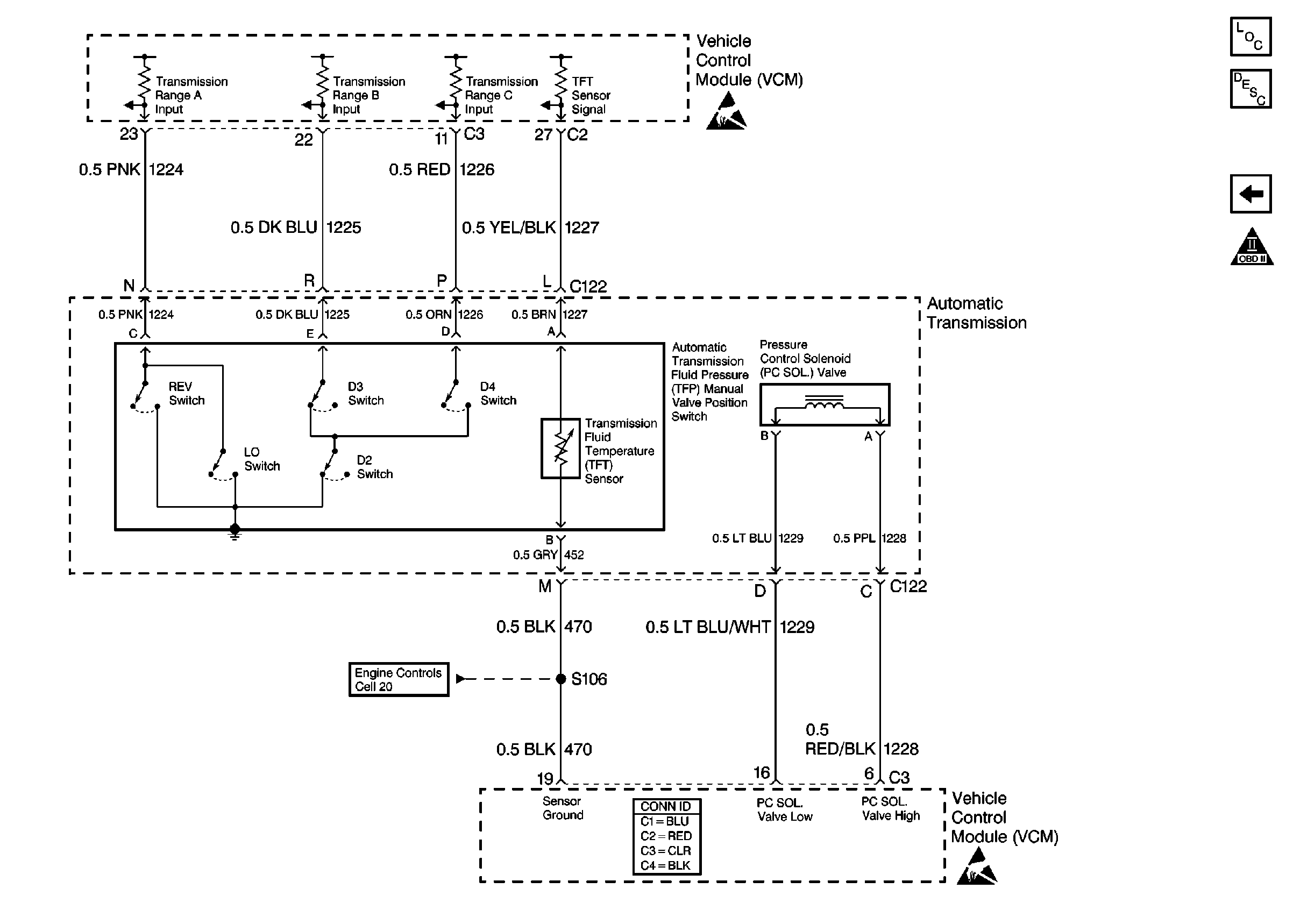
Automatic Transmission, VCM
OBD II Symbol Description Notice
VCM Connector End Views
Handling ESD Sensitive Parts Notice
Shift Solenoids
Figure
2:
Shift Solenoids
OBD II Symbol Description Notice
VCM Connector End Views
Cell 34: Cruise Control Module, VCM (Gas) (2 of 2)
ABS Schematics
Handling ESD Sensitive Parts Notice
Cell 10: IGN B Fuse and Ignition Switch
Cell 10: BRAKE and HTR-A/C Fuses
Cell 10: AIR BAG, TURN B/U, CRANK, and TRANS Fuses
Automatic Transmission, VCM
Transmission Controls (4L 60E)
Shift Solenoids (4l 60E)
Figure
3:
Automatic Transmission, VCM
Transmission Component Location
Transmission Component and System Description
VSS, 4WD and Upshift Controls
OBD II Symbol Description Notice
Handling ESD Sensitive Parts Notice
Engine Sensors
VCM Connector End Views
Handling ESD Sensitive Parts Notice