GM Service Manual Online
For 1990-2009 cars only
Makes
🢒
Chevrolet
🢒
1999
🢒
Chevy C Pickup - 2WD
🢒
Body and Accessories
🢒
Cellular Communication
🢒 Cellular Telephone Schematics
Figure
1:
Cellular Inline Harness (C251 and C252)
Cellular Communication Components
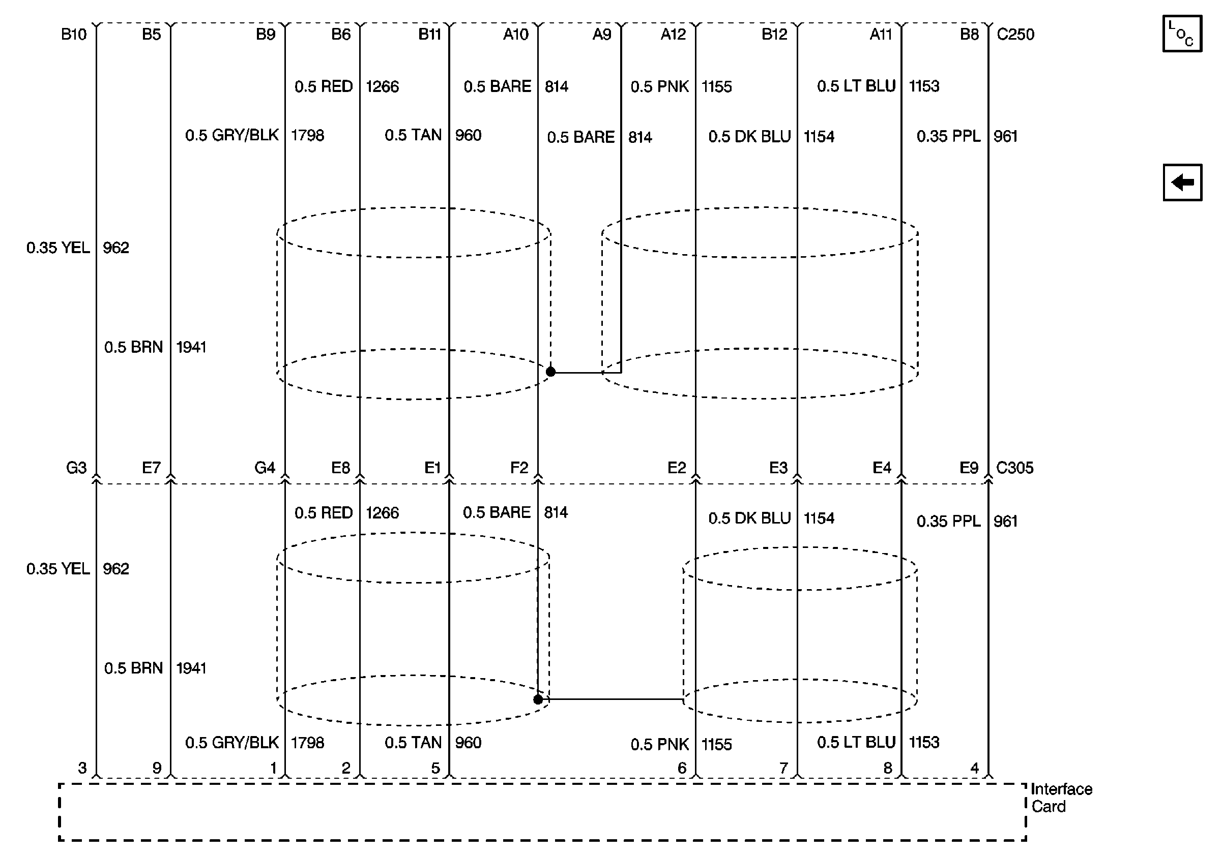
Cellular Inline w/Handset (C250 and Interface Card)
CD Changer
Figure
2:
Cellular Inline w/Handset (C250 and Interface Card)
Cellular Communication Components
Cellular Inline Harness (C251 and C252)