GM Service Manual Online
For 1990-2009 cars only

DTC P0711 TFT Sensor Circuit Range/Performance Gas


Object Number: 327716  Size: MF
Automatic Transmission Components
Automatic Transmission Controls Schematics Gas
OBD II Symbol Description Notice
Handling ESD Sensitive Parts Notice
Handling ESD Sensitive Parts Notice

Circuit Description

The automatic transmission fluid temperature (TFT) sensor is part of the 4L80-E automatic transmission (A/T) wiring harness assembly. The TFT sensor is a resistor, or thermistor, which changes value based on temperature. The sensor has a negative-temperature coefficient. This means that as the temperature increases, the resistance decreases, and as the temperature decreases the resistance increases. The vehicle control module (VCM) supplies a 5-volt reference signal to the sensor on circuit 1227 and measures the voltage drop in the circuit. When the transmission fluid is cold, the sensor resistance is high and the VCM detects high signal voltage. As the fluid temperature warms to a normal operating temperature, the resistance becomes less and the signal voltage decreases. The VCM uses this information to control shift quality and torque converter clutch apply.

If the VCM detects the TFT sensor resistance has no change, or an unrealistic change in a short amount of time, (multiple changes within seconds) then DTC P0711 sets. DTC P0711 is a type D DTC.

Conditions for Running the DTC

    • No A/T ISS sensor DTC P0716 or P0717.
    • No A/T OSS sensor DTC P0722 or P0723.
    • No engine coolant temperature (ECT) DTCs P0117 or P0118.
    • No A/T component slipping DTC P1870.
    • System voltage is 10.0-16.0 volts.
    • The engine is running greater than 475 RPM for at least 35 seconds.
    • The TFT is -40° to +21°C (-40° to +70°F) at start up.
    • The engine coolant temperature (ECT) is greater than 85°C (185°F).
    • ECT has changed at least 55°C (130°F) since start up.
    • The vehicle speed is greater than 5 mph for at least 900 seconds (15 minutes).
    • The TCC slip speed is greater than 60 RPM for at least 800 seconds (13.3 minutes).

Conditions for Setting the DTC

DTC P0711 will set if all of the above conditions have been met and one of the following conditions exist:

    • The TFT has not changed more than 2.25°C (4°F), in more than 80 seconds (no TFT change).
    • The TFT has changed more than 20°C (68°F) 14 times in 7 seconds (unrealistic temperature change).

Action Taken When the DTC Sets

    • The VCM does not illuminates the malfunction indicator lamp (MIL).
    • The VCM commands increased line pressure.
    • The VCM freezes shift adapts.
    • The VCM determines a TFT default transmission temperature (TFT) using the following matrix:
       - If the engine run time is less than 60 seconds then default TFT equals the intake air temperature (IAT), plus 5 degrees.
       - If the engine coolant temperature (ECT) is less than 85°C (185°F) then default TFT equals IAT plus 10 degrees.
       - If the ECT is 85°-110°C (185°-230°F) then default TFT equals ECT plus 10 degrees.
       - If the ECT is greater than 110°C (230°F) then default TFT is set to 140°C (284°F) and transmission shift pattern is in hot mode.
       - If ECT and TFT DTCs are both set then default TFT is 140°C (284°F).
    • The VCM stores DTC P0711 in VCM history.

Conditions for Clearing the DTC

    • A scan tool clears the DTC from VCM history.
    •  The VCM clears the DTC from VCM history if the vehicle completes 40 warm-up cycles without a non-emission-related diagnostic fault occurring.
    • The VCM cancels the DTC default actions when the fault no longer exists and the ignition switch is OFF long enough in order to power down the VCM.

Diagnostic Aids

    • Inspect the wiring at the VCM, the transmission connector and all other circuit connecting points for the following conditions:
       - A backed out terminal
       - A damaged terminal
       - Reduced terminal tension
       - A chafed wire
       - A broken wire inside the insulation.
       - Moisture intrusion
       - Corrosion
    • When diagnosing for an intermittent short or open, massage the wiring harness while watching the test equipment for a change.
    • First diagnose and clear any engine DTCs or TP sensor DTCs that are present. Then inspect for any transmission DTCs that may have reset.
    • DTC P0218 may set approximately 600 seconds after DTC P0711 has set. Follow the diagnostic table for DTC P0711 before proceeding to the diagnostic table for DTC P0218.

Test Description

The numbers below refer to the step numbers on the diagnostic table.

  1. This step tests for proper A/T fluid level and condition.

  2. This step verifies which condition has set DTC P0711.

  3. The 12-volt test lamp is used as a fixed resistance.

  4. This step ensures that the VCM monitors circuit 1227.

DTC P0711

Step

Action

Value(s)

Yes

No

1

Was the Powertrain On-Board Diagnostic (OBD) System Check performed?

--

Go to Step 2

Go to Powertrain On Board Diagnostic (OBD) System Check (5.7L) or Powertrain On Board Diagnostic (OBD) System Check (7.4L)

2

Perform the Transmission Fluid Checking Procedure.

Refer to Transmission Fluid Check .

Was the fluid checking procedure performed?

--

Go to Step 3

Go to Transmission Fluid Check

3

  1. Install the Scan Tool .
  2. With the engine OFF, turn the ignition switch to the RUN position.
  3. Important: Before clearing the DTCs, use the scan tool in order to record the Failure Records. Using the Clear Info function erases the Failure Records from the VCM.

  4. Record the Failure Records.
  5. Clear the DTCs.
  6. Select TFT on the scan tool.
  7. Drive the vehicle and observe the scan tool for one of the following conditions:
  8. • No TFT change,
    • An unrealistic TFT change (The TFT change is greater than 20°C (36°F) 14 times in 7 seconds).

Did either of the fail conditions occur?

--

Go to Step 4

Go to Diagnostic Aids

4

Did the scan tool display an unrealistic TFT change?

--

Go to Step 5

Go to Step 6

5

  1. Turn the ignition switch OFF.
  2. Disconnect the transmission 20-way connector. Additional DTCs may set.
  3. Using the J 35616 connector test adapter kit, install a 12 volt test lamp between terminals L and M of the engine side of the transmission 20-way connector.
  4. Turn the ignition switch to the RUN position.

Does the scan tool TFT display an unrealistic TFT change?

--

Go to Step 7

Go to Step 8

6

  1. Record the scan tool TFT display from step 4.
  2. Turn the ignition OFF.
  3. Disconnect the transmission 20-way connector. Additional DTCs may set.
  4. Turn the ignition switch to the RUN position.

Is the scan tool TFT the same as in step 4?

--

Go to Step 7

Go to Step 8

7

Replace the VCM.

Refer to VCM Replacement/Programming (5.7L) or VCM Replacement/Programming (7.4L) in Engine Controls.

Is the replacement complete?

--

Go to Step 9

--

8

Replace the TFT sensor.

Refer to Temperature Sensors Replacement.

Is the replacement complete?

--

Go to Step 9

--

9

Perform the following procedure in order to verify the repair:

  1. Select DTC.
  2. Select Clear Info.
  3. Operate the vehicle under the following conditions:
  4. • The TFT changes by more than 3°C (5°F) after the engine has been running for 35 seconds.
    • For a period of at least 11 seconds, the TFT does not change more than 20°C (36°F) within 0.2 seconds.
  5. Select Specific DTC.
  6. Enter DTC P0711.

Has the test run and passed?

--

System OK

Go to Step 1

DTC P0711 TFT Sensor Circuit Range/Performance Diesel


Object Number: 339269  Size: MF
Automatic Transmission Components
Automatic Transmission Controls Schematics Diesel
OBD II Symbol Description Notice
Handling ESD Sensitive Parts Notice
Handling ESD Sensitive Parts Notice

Circuit Description

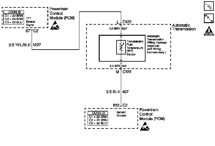
The automatic transmission fluid temperature (TFT) sensor is part of the 4L80-E automatic transmission (A/T) wiring harness assembly. The TFT sensor is a resistor, or thermistor, which changes value based on temperature. The sensor has a negative-temperature coefficient. This means that as the temperature increases, the resistance decreases, and as the temperature decreases the resistance increases. The powertrain control module (PCM) supplies a 5-volt reference signal to the sensor on circuit 1227 and measures the voltage drop in the circuit. When the transmission fluid is cold, the sensor resistance is high and the PCM detects high signal voltage. As the fluid temperature warms to a normal operating temperature, the resistance becomes less and the signal voltage decreases. The PCM uses this information to control shift quality and torque converter clutch apply.

If the PCM detects the TFT sensor resistance has no change, or an unrealistic change in a short amount of time, (multiple changes within seconds), then DTC P0711 sets. DTC P0711 is a type D DTC.

Conditions for Running the DTC

    • No A/T OSS sensor DTC P0722 or P0723.
    • No A/T ISS sensor DTC P0716 or P0717.
    • No engine coolant temperature (ECT) DTC P0117 or P0118.
    • No A/T component slipping DTC P1870.
    • System voltage is 8.0-18.0 volts.
    • The engine is running greater than 475 RPM for at least 7 seconds.
    • The TFT is -40-149°C (-40-300°F) at start up.
    • The engine coolant temperature (ECT) is greater than 80°C (176°F).
    • ECT has changed at least 55°C (130°F) since start up.
    • The vehicle speed is greater than 20 mph for at least 750 seconds (12.5 minutes).
    • The TCC slip speed is greater than 80 RPM for at least 500 seconds (8.3 minutes).

Conditions for Setting the DTC

DTC P0711 sets if all of the above conditions for running the DTC have been met and one of the following conditions exist:

    • The TFT sensor is stuck at a low temperature value of -40-21°C (-40-72.8°F) for 80.0 seconds.
    • The TFT sensor is stuck at a high temperature value of 135-150°C (275-300°F) for 80.0 seconds.
    • The TFT has changed more than 20°C (68°F) 14 times in 7 seconds (unrealistic temperature change).

Action Taken When the DTC Sets

    • The PCM does not illuminates the malfunction indicator lamp (MIL).
    • The PCM commands increased line pressure.
    • The PCM freezes shift adapts.
    • The PCM determines a TFT default using the following matrix:
       - If the engine run time is less than 60 seconds, then default TFT equals the intake air temperature (IAT) plus 5 degrees.
       - If the engine coolant temperature (ECT) is less than 85°C (185°F), then default TFT equals IAT plus 10 degrees.
       - If the ECT is 85-110°C (185-230°F), then default TFT equals ECT plus 10 degrees.
       - If the ECT is greater 110°C (230°F), then default TFT is set to 140°C (284°F) and transmission shift pattern is in Hot Mode.
       - If ECT and TFT DTCs are both set, then default TFT is 140°C (284°F).
    • The PCM stores DTC P0711 in PCM history.

Conditions for Clearing the DTC

    • A scan tool clears the DTC from PCM history.
    • The PCM clears the DTC from PCM history if the vehicle completes 40 consecutive warm-up cycles without a non-emission-related diagnostic fault occurring.
    • The PCM cancels the DTC default actions when the fault no longer exists and the ignition switch is OFF long enough in order to power down the PCM.

Diagnostic Aids

    • Inspect the wiring at the PCM, the transmission connector and all other circuit connecting points for the following conditions:
       - A backed out terminal
       - A damaged terminal
       - Reduced terminal tension
       - A chafed wire
       - A broken wire inside the insulation
       - Moisture intrusion
       - Corrosion
    • When diagnosing for an intermittent short or open, massage the wiring harness while watching the test equipment for a change.
    • First, diagnose and clear any engine DTCs or APP sensor DTCs that are present. Then inspect for any transmission DTCs that may have reset.
    • DTC P0218 may set approximately 600 seconds after DTC P0711 has set. Follow the diagnostic table for DTC P0711 before proceeding to the diagnostic table for DTC P0218.

Test Description

The numbers below refer to the step numbers on the diagnostic table.

  1. This step tests for proper A/T fluid level and condition.

  2. This step verifies which condition has set DTC P0711.

  3. The 12-volt test lamp is used as a fixed resistance.

  4. This step ensures that the PCM monitors circuit 1227.

DTC P0711

Step

Action

Value(s)

Yes

No

1

Was the Powertrain On-Board Diagnostic (OBD) System Check performed?

--

Go to Step 2

Go to Powertrain On Board Diagnostic (OBD) System Check

2

Perform the Transmission Fluid Checking Procedure.

Did you perform the fluid checking procedure?

--

Go to Step 3

Go to Transmission Fluid Check

3

  1. Install the Scan Tool .
  2. With the engine OFF, turn the ignition switch to the RUN position.
  3. Important: Before clearing the DTCs, use the scan tool in order to record the Failure Records. Using the Clear Info function erases the Failure Records from the PCM.

  4. Record the Failure Records.
  5. Clear the DTC.
  6. Select TFT on the scan tool.
  7. Drive the vehicle and observe the scan tool for one of the following conditions:
  8. • No TFT change,
    • An unrealistic TFT change (The TFT change is greater than 20°C (36°F) 14 times in 7 seconds).

Did either of the fail conditions occur?

--

Go to Step 4

Go to Diagnostic Aids

4

Did the scan tool display an unrealistic temperature change?

--

Go to Step 5

Go to Step 6

5

  1. Turn the ignition switch OFF.
  2. Disconnect the transmission 20-way connector (multiple DTCs will set).
  3. Using the J 35616 connector test adapter kit, install a 12 volt test lamp between terminals L and M of the engine side of the transmission 20-way connector.
  4. Turn the ignition switch to the RUN position.

Does the scan tool TFT display an unrealistic temperature change?

--

Go to Step 7

Go to Step 8

6

  1. Record the scan tool TFT display from step 4.
  2. Turn the ignition OFF.
  3. Disconnect the transmission 20-way connector. Additional DTCs may set.
  4. Turn the ignition switch to the RUN position.

Is the scan tool TFT the same as in step 4?

--

Go to Step 7

Go to Step 8

7

Replace the PCM.

Refer to Powertrain Control Module Replacement/Programming in Engine Controls.

Is the replacement complete?

--

Go to Step 9

--

8

Replace the TFT sensor.

Refer to Wiring Harness Replacement.

Is the replacement complete?

--

Go to Step 9

--

9

Perform the following procedure in order to verify the repair:

  1. Select DTC.
  2. Select Clear Info.
  3. Operate the vehicle under the following conditions:
  4. • The TFT changes by more than 3°C (5°F) after the engine has been running for 30 seconds.
    • For a period of at least 30 seconds, the TFT does not change more than 20°C (36°F) within 0.2 seconds.
  5. Select Specific DTC.
  6. Enter DTC P0711.

Has the test run and passed?

--

System OK

Go to Step 1