GM Service Manual Online
For 1990-2009 cars only

Rear Axle Disassembled Views 11 Inch Axle

Figure 1:

Full-Floating Axle Wheel End Components


Object Number: 177812  Size: MF
(1)Wheel Hub Bolt
(2)Axle Shaft Cap
(3)Gasket
(4)Axle Shaft
(5)Wheel Bearing Adjuster Nut
(6)Wheel Bearing Adjuster Nut Lock
(7)Wheel Bearing Adjuster Nut
(8)Oil Seal
(9)Bolt
(10)Bolt
(11)Brake Backing Plate
(12)Brake Caliper Mounting Plate
(13)Washer
(14)Nut
(15)Wheel Bearing Oil Deflector
(16)Oil Seal
(17)Inner Wheel Bearing and Cup
(18)Rear Brake Rotor
(19)Wheel Bearing Nut Key Retainer
(20)Outer Wheel Bearing and Cup
(21)Wheel Bearing Spacer
(22)Wheel Hub
Figure 2:

Drive Pinion Components


Object Number: 728867  Size: MF
(1)Nut
(2)Washer
(3)Yoke and Deflector
(4)Oil Seal
(5)Thrust Washer
(6)Bearing
(7)Bearing Cup
(8)Pinion Preload Shims
(9)Housing
(10)Oil Baffle
(11)Bearing Cup
(12)Bearing
(13)Pinion Position Shim
(14)Drive Pinion
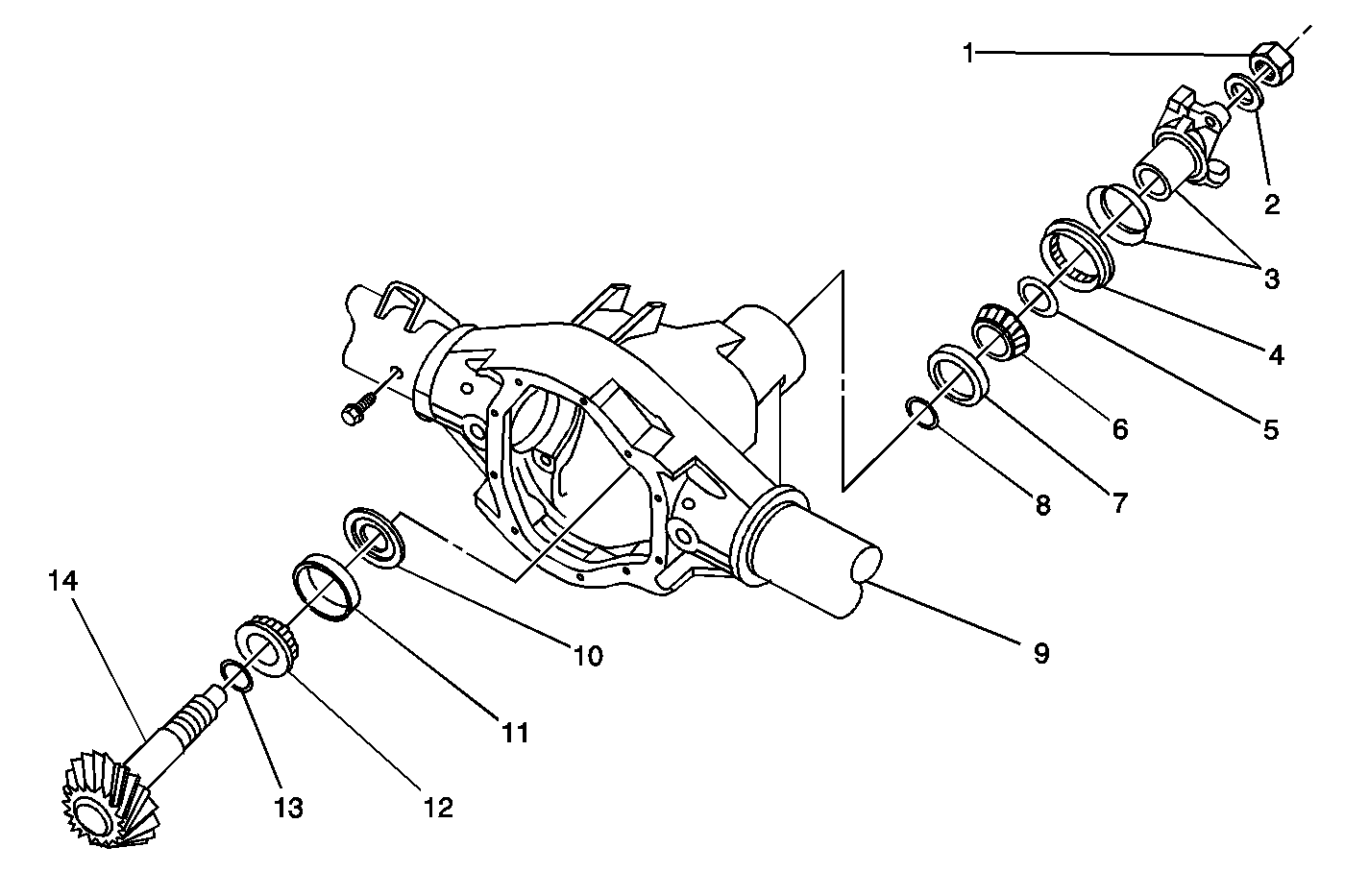
Figure 3:

Differential Case Components


Object Number: 730507  Size: MF
(1)Housing
(2)Ring Gear
(3)Lock Pin
(4)Differential Case
(5)Shim-Inboard
(6)Fill Plug
(7)Differential Housing Cover
(8)Bolt
(9)Bolt
(10)Bearing Cap
(11)Shim-Outboard
(12)Bearing Cup
(13)Bearing
(14)Bolt
(15)Pinion Shaft
(16)Thrust Washer
(17)Pinion Gear
(18)Side Gear
(19)Thrust Washer
(20)Pinion Gear
(21)Thrust Washer
(22)Side Gear
(23)Thrust Washer

Rear Axle Disassembled Views 8.6, 9.5 Inch Axle

Figure 1:

8.6 Inch Rear Drive Axle


Object Number: 691736  Size: MF
(1)Drum
(2)Stud
(3)Axle Shaft
(4)Axle Shaft Clip
(5)Bolt
(6)Brake Backing Plate
(7)Seal
(8)Wheel Bearing
(9)Washer
(10)Nut
(11)Differential Pinion Gear nut
(12)Washer
(13)Differential Pinion Gear Yoke
(14)Pinion Gear Dirt Deflector
(15)Pinion Gear Seal
(16)Differential Pinion Gear Bearing
(17)Differential Pinion Gear Bearing Cup
(18)Rear Axle Housing
(19)Rear Axle Vent Hose Connector
(20)Rear Axle Housing Fill Plug
(21)Differential Pinion Gear Bearing Spacer
(22)Differential Pinion Gear Inner Bearing Cup
(23)Pinion Gear Inner Bearing
(24)Pinion Gear Bearing Shim
(25)Differential Pinion Gear
(26)Spacer
(27)Differential Bearing Cup
(28)Differential Bearing
(29)Differential Ring Gear Bolt
(30)Bearing Cap
(31)Bearing Cap Bolt
(32)Differential Case
(33)Differential Pinion Side Gear Shaft
(34)Differential Ring Gear
(35)Pinion Gear Shaft Lock Bolt
(36)Differential Bearing
(37)Differential Bearing Cup
(38)Spacer
(39)Bearing Cap
(40)Differential Bearing Shim
(41)Thrust Washer
(42)Differential Side Pinion Gear
(43)Thrust Washer
(44)Differential Side Pinion Gear
(45)Differential Side Pinion Gear
(46)Thrust Washer
(47)Differential Side Pinion Gear
(48)Thrust Washer
(49)Rear Axle Housing Cover Gasket
(50)Rear Axle Housing Cover
(51)Magnet
(52)Brake Pipe Clip
(53)Rear Axle Housing Cover Bolt
(54)Rear Axle Housing Cover Bolt
Figure 2:

9.5 Inch Rear Drive Axle


Object Number: 691741  Size: MF
(1)Brake Pipe Clip
(2)Rear Axle Housing Cover Bolt
(3)Rear Axle Housing Cover
(4)Rear Axle Housing Cover Gasket
(5)Thrust Washer
(6)Differential Side Pinion Gear
(7)Thrust Washer
(8)Differential Side Pinion Gear
(9)Differential Side Pinion Gear
(10)Differential Side Pinion Gear
(11)Thrust Washer
(12)Thrust Washer
(13)Bearing Cap Bolt
(14)Ring Gear Bolt
(15)Bearing Cap
(16)Shim
(17)Differential Bearing
(18)Differential Case
(19)Ring Gear
(20)Differential Bearing
(21)Differential Bearing Adjuster Nut
(22)Differential Bearing Adjuster Nut Lock
(23)Bolt
(24)Differential Bearing Shim
(25)Differential Bearing Cap
(26)Differential Bearing Cap Bolt
(27)Pinion Gear Shaft Lock Bolt
(28)Differential Pinion Side Gear Shaft
(29)Pinion Gear Shaft
(30)Pinion Gear Shaft Shim
(31)Pinion Gear Inner Bearing
(32)Rear Axle Housing
(33)Wheel Bearing
(34)Rear Axle Shaft Seal
(35)Brake Backing Plate
(36)Washer
(37)Brake Backing Plate Bolt
(38)Axle Shaft Lock
(39)Rear Axle Shaft
(40)Stud
(41)Drum
(42)Pinion Gear Nut
(43)Washer
(44)Pinion Gear Shaft Yoke
(45)Pinion Gear Shaft Dirt Deflector
(46)Pinion Gear Shaft Seal
(47)Pinion Gear Outer Bearing
(48)Pinion Gear Bearing Spacer