GM Service Manual Online
For 1990-2009 cars only

Removal Procedure

  1. Open the hood

  2. Object Number: 567860  Size: SH

    Important: Do not remove the C clip from the cruise control end connector.

  3. The C clip was not design for removal. Damage may occur.

  4. Object Number: 567851  Size: SH

    Important: Do not remove the adjuster screw from the end of the cruise control cable.

  5. Cable adjustment will be needed for proper operation.

  6. Object Number: 580244  Size: SH
  7. Disconnect the cruise control cable from the throttle lever.
  8. Using a suitable tool to lightly pry off the end of the cruise control cable.


    Object Number: 580239  Size: SH
  9. Disconnect the cruise control cable from the throttle linkage.

  10. Object Number: 580230  Size: SH
  11. Disconnect the cruise control cable from the cable bracket.

  12. Object Number: 567789  Size: SH

    Important: Do not allow the cruise control ribbon to retract into the module assembly.

  13. Disconnect the cruise control cable from the cruise control module housing.
  14. Disconnect the cable bead (2) from the buckle on the end of the ribbon (1).
  15. Remove the cruise control cable from the vehicle.

Installation Procedure


    Object Number: 276106  Size: SH
  1. Route the cruise control cable (1) from the cruise control module to the throttle lever.

  2. Object Number: 293672  Size: SH

    Important: Do not twist the cruise control module ribbon.

  3. Remove all bends and twists from the cruise control module ribbon and cable, by rotating until removed.
  4. Pull the cruise control cable (1), engine end fitting until the cable is taut.

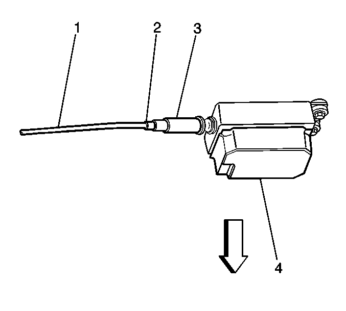
  5. Object Number: 567789  Size: SH
  6. Install the cable bead (2) to the buckle on the end of the ribbon (1) on the cruise control module.

  7. Object Number: 580235  Size: SH
  8. Check the orientation of the cruise control ribbon buckle to the cable end fitting.
  9. Snap the cruise control cable fitting (3) into the cruise control module (4).

  10. Object Number: 580230  Size: SH

    Important: Verify that the cable fitting locking tabs are expanded, and that the tabs are locked in the accelerator bracket hole.

  11. Install the cruise control cable fitting into the round hole in the accelerator bracket.

  12. Object Number: 580222  Size: SH
  13. Connect the cruise control cable connector (2) to the throttle linkage (1).
  14. Adjust the cruise control cable. Refer to Cruise Control Cable Adjustment .
  15. Close the hood.