GM Service Manual Online
For 1990-2009 cars only

Front Seat Replacement - Bucket Base

Removal Procedure

  1. Remove the seat riser trim cover. Refer to Power Seat Riser Trim Cover Replacement .
  2. Remove the seat retaining bolts.

  3. Object Number: 402347  Size: SH
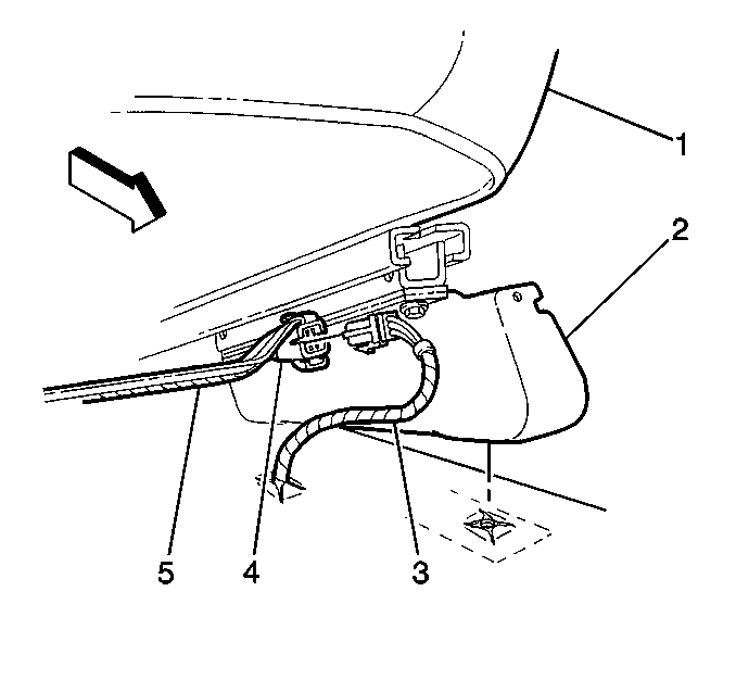
  4. Disconnect the electrical connector (3) on the driver side, if equipped.

  5. Object Number: 402353  Size: SH
  6. Disconnect the electrical connector (2) on the passenger side, if equipped.

  7. Object Number: 276274  Size: SH
  8. Remove the seat from the vehicle.

Installation Procedure


    Object Number: 276274  Size: SH
  1. Install the seat to the vehicle.
  2. Notice: Use the correct fastener in the correct location. Replacement fasteners must be the correct part number for that application. Fasteners requiring replacement or fasteners requiring the use of thread locking compound or sealant are identified in the service procedure. Do not use paints, lubricants, or corrosion inhibitors on fasteners or fastener joint surfaces unless specified. These coatings affect fastener torque and joint clamping force and may damage the fastener. Use the correct tightening sequence and specifications when installing fasteners in order to avoid damage to parts and systems.

  3. Install the seat retaining bolts.
  4. Tighten
    Tighten the retaining bolts to 55 N·m (41 lb ft).


    Object Number: 402353  Size: SH
  5. Connect the electrical connector (2) on the passenger side, if equipped.

  6. Object Number: 402347  Size: SH
  7. Connect the electrical connector (3) on the drivers side, if equipped.
  8. Install the seat riser trim cover. Refer to Power Seat Riser Trim Cover Replacement .

Front Seat Replacement - Bucket Luxury/ Limited/ Z-71 Tahoe

Removal Procedure

  1. Remove the seat riser trim cover. Refer to Power Seat Riser Trim Cover Replacement .
  2. Remove the seat retaining bolts.

  3. Object Number: 402347  Size: SH
  4. Disconnect the electrical connector (3) on the driver side, if equipped.

  5. Object Number: 402353  Size: SH
  6. Disconnect the electrical connector (2) on the passenger side, if equipped.

  7. Object Number: 311557  Size: SH
  8. Remove the seat from the vehicle.

Installation Procedure


    Object Number: 311557  Size: SH
  1. Install the seat to the vehicle.

  2. Object Number: 402353  Size: SH
  3. Connect the electrical connector (2) on the passenger side, if equipped.

  4. Object Number: 402347  Size: SH
  5. Connect the electrical connector (3) on the drivers side, if equipped.
  6. Notice: Use the correct fastener in the correct location. Replacement fasteners must be the correct part number for that application. Fasteners requiring replacement or fasteners requiring the use of thread locking compound or sealant are identified in the service procedure. Do not use paints, lubricants, or corrosion inhibitors on fasteners or fastener joint surfaces unless specified. These coatings affect fastener torque and joint clamping force and may damage the fastener. Use the correct tightening sequence and specifications when installing fasteners in order to avoid damage to parts and systems.

  7. Install the seat retaining bolts.
  8. Tighten
    Tighten the retaining bolts to 55 N·m (41 lb ft).

  9. Install the seat riser trim cover. Refer to Power Seat Riser Trim Cover Replacement .