GM Service Manual Online
For 1990-2009 cars only
Makes
🢒
Chevrolet
🢒
2000
🢒
Chevy C Pickup - 2WD
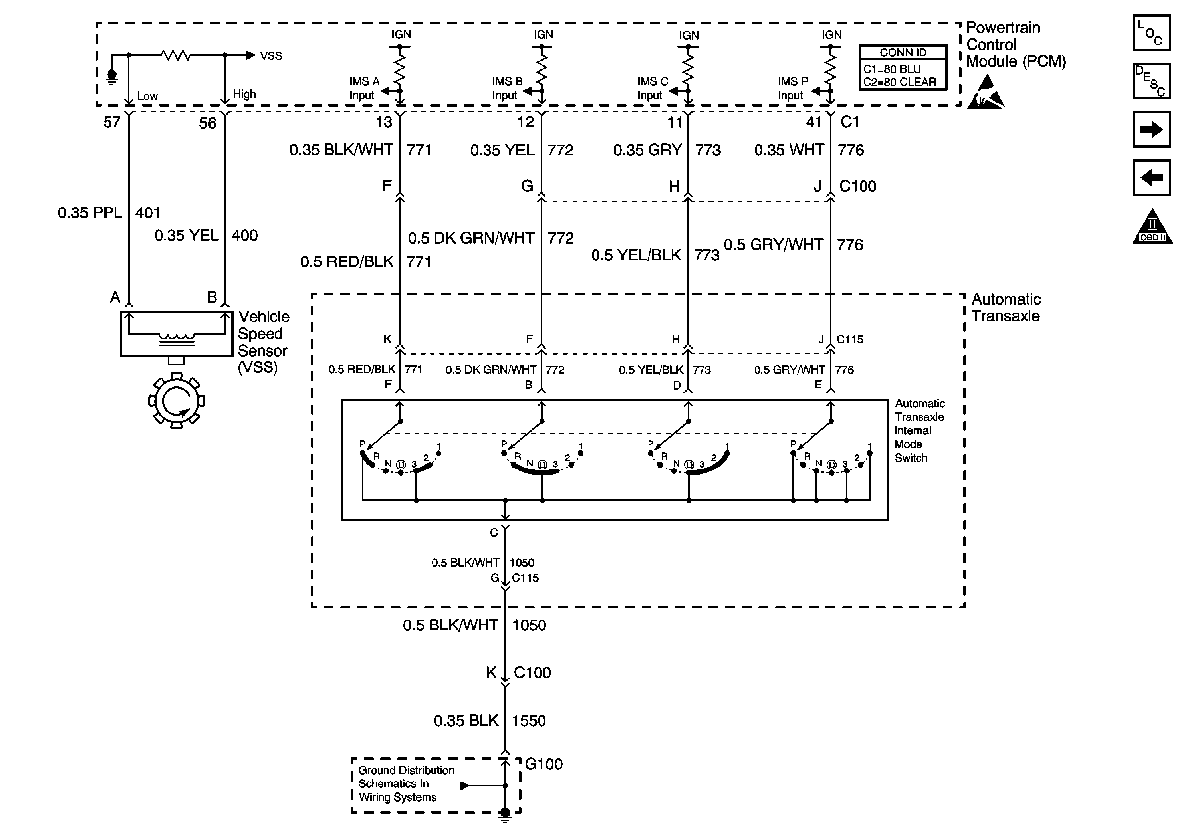
🢒 Automatic Transaxle - IMS Switch and VSS
Automatic Transaxle - IMS Switch and VSS
Automatic Transaxle -- IMS Switch and VSS
Engine Controls Components
Powertrain Control Module (PCM)
Secondary AIr Injection (AIR) Pump Motors w/NB6 - California Emissions
Automatic Transaxle - Sensors
OBD II Symbol Description Notice
Handling ESD Sensitive Parts Notice
Powertrain Control Module Connector End Views
G100