GM Service Manual Online
For 1990-2009 cars only
Makes
🢒
Chevrolet
🢒
2000
🢒
Chevy C Pickup - 2WD
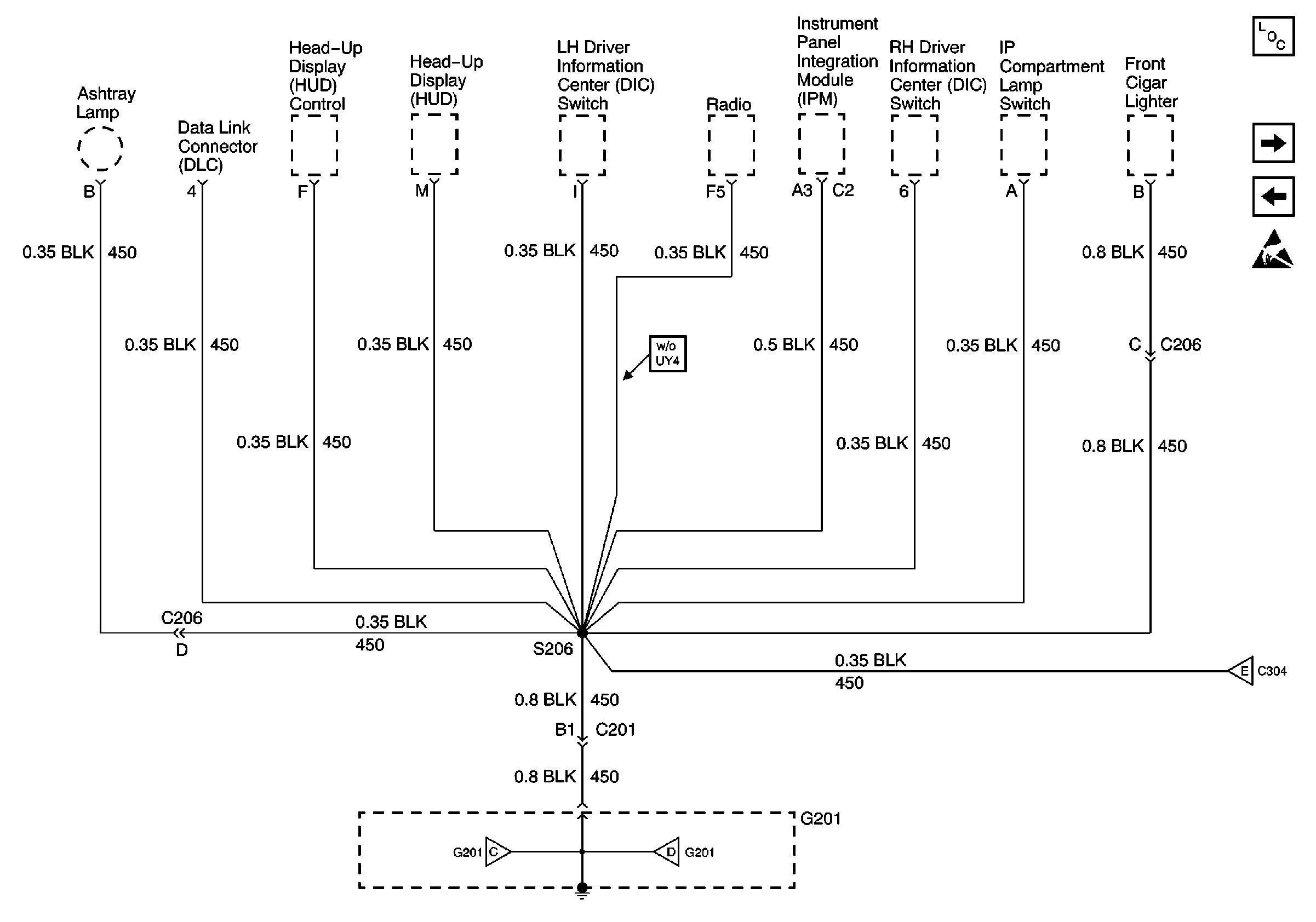
🢒 G201 - IP Harness
G201 - IP Harness
G201 -- IP Harness
Power and Grounding Components
G201 - Console Harness
G201 - Body Harness
Handling ESD Sensitive Parts Notice
G201 - Console Harness
G201 - Body Harness
G201 - Steering Column CKT 451