GM Service Manual Online
For 1990-2009 cars only
Makes
🢒
Chevrolet
🢒
2000
🢒
Chevy C Pickup - 2WD
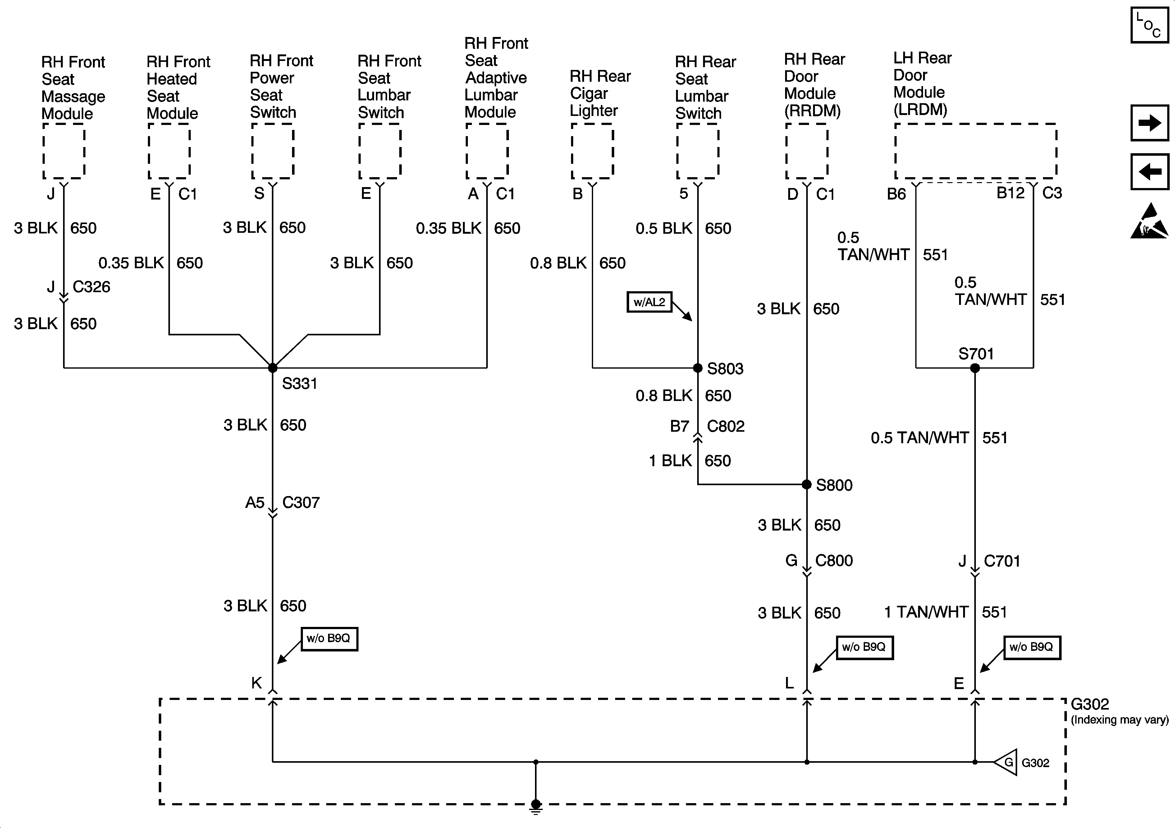
🢒 G302 - RH Front Seat
G302 - RH Front Seat
G302 -- RH Front Seat
Power and Grounding Components
G302 - LH Front Seat
G301
Handling ESD Sensitive Parts Notice
G302 - LH Front Seat