GM Service Manual Online
For 1990-2009 cars only
Makes
🢒
Chevrolet
🢒
2000
🢒
Chevy C Pickup - 2WD
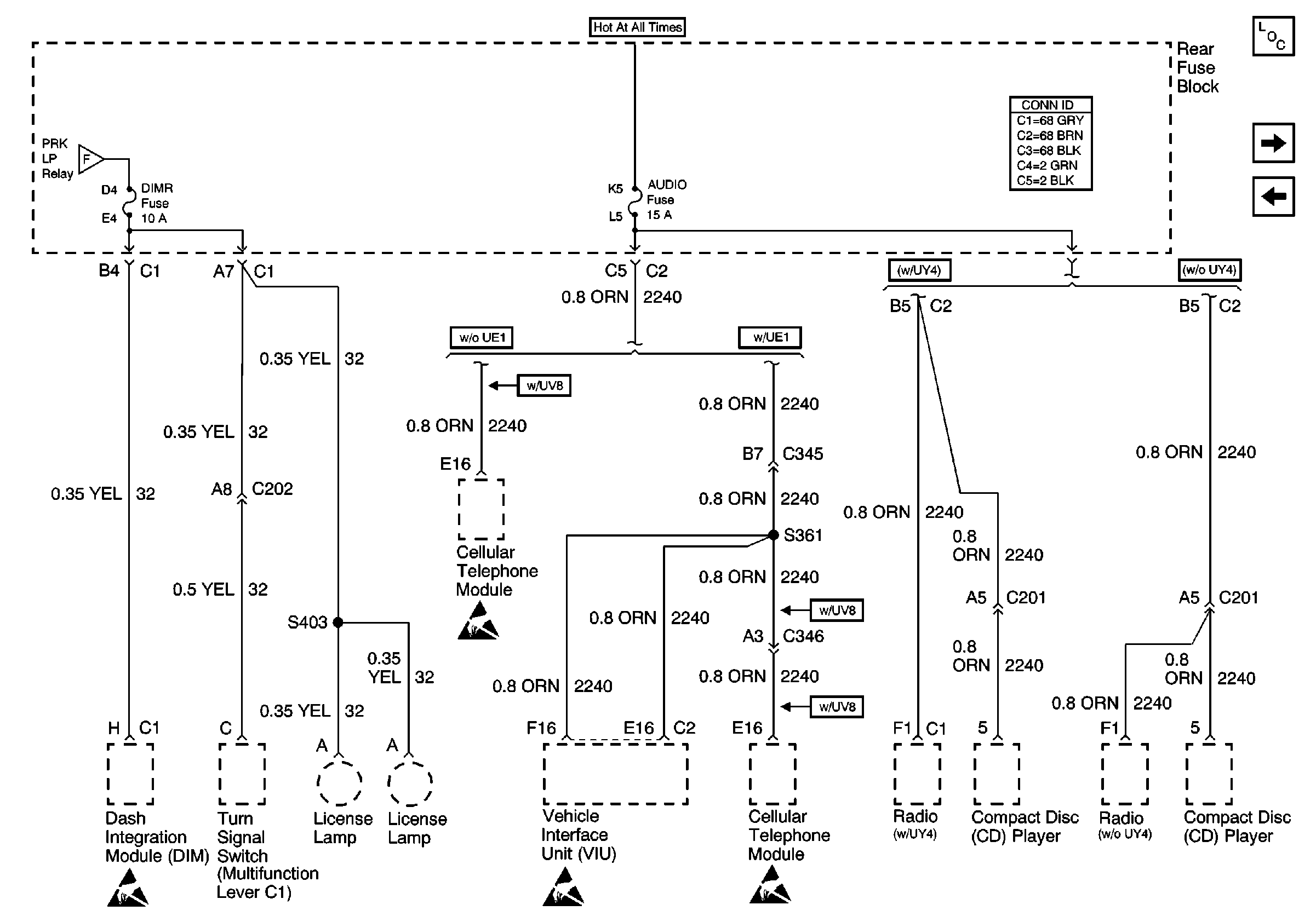
🢒 DIMR and AUDIO Fuses
DIMR and AUDIO Fuses
DIMR and AUDIO Fuses
Power and Grounding Components
HVAC BLO, DRV MDL, PASS MDL, PWR T&T, HTDST LR, HTDST RF, HTDSTRR, and DIM Fuses
RH PRK LP and LH PRK LP Fuses
RH PRK LP and LH PRK LP Fuses
Power and Grounding Connector End Views Fuse Blocks and Ignition Switch
Handling ESD Sensitive Parts Notice
Handling ESD Sensitive Parts Notice
Handling ESD Sensitive Parts Notice
Handling ESD Sensitive Parts Notice