GM Service Manual Online
For 1990-2009 cars only

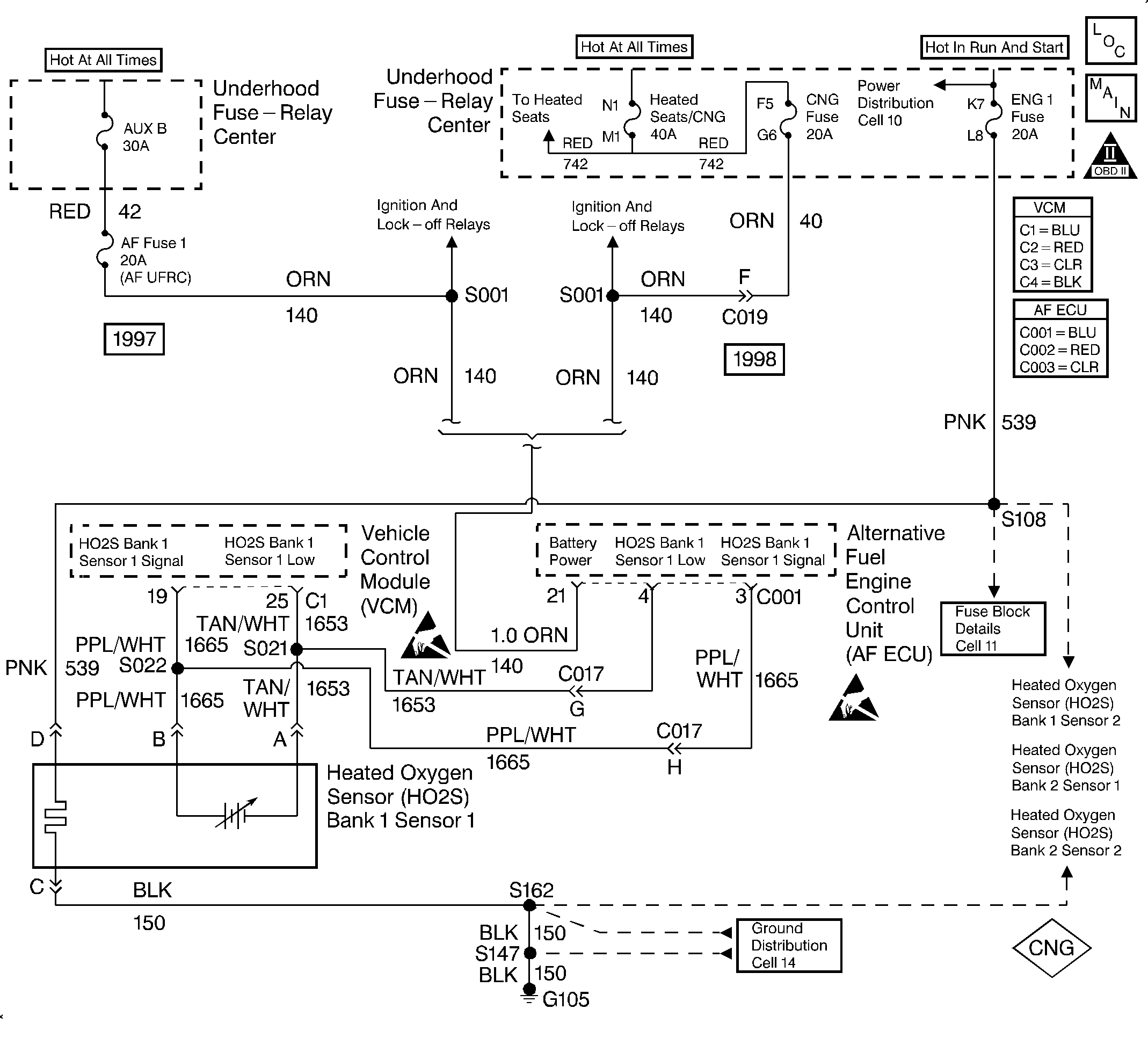
Object Number: 322588  Size: LF
Handling Electrostatic Discharge Sensitive Parts Notice
Handling Electrostatic Discharge Sensitive Parts Notice
Engine Controls Components
HO2S Sensors 5.7L
OBDII Symbol Description Notice

Circuit Description

The ECU supplies a voltage of about 0.45 volt between the HO2S High and HO2S Low circuit. The Heated Oxygen Sensor (HO2S Bank 1 Sensor 1) varies the voltage within the range of about 1.0 volt (1000 mV) if the exhaust is rich, down to about 0.1 volt (100 mV) if the exhaust is lean.

The sensor is like an open circuit. It produces no voltage when it is below 360°C (600°F). This will result in Open Loop operation.

The HO2S heater provides for a faster sensor warm-up. This allows the sensor to become active in a shorter period of time and remain active during a long extended idle.

DTC 43 determines if the HO2S heater is functioning properly by monitoring the amount of time necessary for the HO2S to become active after start-up.

This is a type A DTC for 1997 vehicles and a type B DTC for 1998 vehicles.

Conditions for Setting the DTC

The following conditions will set the DTC:

    • The vehicle is in the CNG operation mode.
    • The engine run time is greater than 5 seconds.
    • The average O2 sensor voltage at Key On is within 300 to 600 mV (cold sensor).
    • None of the following DTCs are active: 14, 15, 16, 42, 44, 45.
    • The battery voltage is greater than 8 volts.
    • The MAF is less than 35 g/s.
    • The time to obtain ±0.150 volt from the HO2S (Bank 1, Sensor 1) bias voltage (0.3 to 0.6 volt) is too great.
    • All other HO2S (Bank 1, Sensor 1) diagnostic tests are complete.

Action Taken When the DTC Sets

The ECU will set DTC 43 and turn ON the MIL after two consecutive driving trips with the fault active.

Conditions for Clearing the MIL/DTC

The ECU turns the MIL OFF after three consecutive driving trips without a fault condition present. A DTC will clear if no fault conditions have been detected for 40 warm-up cycles (coolant temperature has risen 40°C (72°F) from the start-up coolant temperature and the engine coolant temperature exceeds 70°C (160°F) during that same ignition cycle) or the code clearing procedure has been used.

Diagnostic Aids

Always diagnose ANY VCM codes that are present before beginning this diagnostic procedure.

A poor connection, rubbed-through wire insulation or a wire broken inside the insulation may cause an intermittent.

Check for the following conditions:

    • A poor connection or a damaged harness. Check for the following conditions:
       - Backed out terminals
       - Improperly formed or damaged terminals
       - Poor terminal to wire connection
       - Damaged harness
    • Never solder the HO2S wires. Refer to Repair Procedures in Electrical Diagnosis in the C/K Truck Service Manual for proper wire and connector repair.

Test Description

The number(s) below refer to the step number(s) on the diagnostic table.

  1. This step determines if DTC 43 is the result of a hard failure or an intermittent condition. Voltage should gradually change to 0.150 volt with the ignition ON and the engine OFF. This indicates that the heater is working properly. The HO2S voltage can rise as high as 975 mV before it toggles back down. The main thing to look for is change in the voltage.

  2. Probing terminal D of the HO2S (Bank 1, Sensor 1) connector verifies if the voltage is available to the HO2S (Bank 1, Sensor 1) heater.

Step

Action

Value(s)

Yes

No

1

Was the Alternative Fuels (AF) Powertrain On-Board Diagnostic (OBD) System Check performed?

--

Go to Step 2

Go to Alternative Fuels (AF) Powertrain On Board (OBD) System Check

2

  1. Connect the scan tool.
  2. Turn ON the ignition but leave the engine OFF.
  3. Monitor the HO2S (Bank 1, Sensor 1).

Does the voltage displayed gradually decrease by the specified value?

0.150 V (150 mV)

Go to Step 5

Go to Step 3

3

  1. Disconnect the HO2S (Bank 1, Sensor 1) sensor electrical connector.
  2. Probe terminal D of the connector on the engine harness side with a test lamp connected to ground.

Is the test lamp ON?

--

Go to Step 4

Go to Step 6

4

Connect a test lamp between terminals C and D of the HO2S (Bank 1, Sensor 1) sensor connector.

Is the test lamp ON?

--

Go to Step 7

Go to Step 8

5

The DTC is intermittent. If no additional DTCs are stored, refer to Diagnostic Aids. If additional DTCs are stored, refer to those tables.

Are any additional DTCs stored?

--

Go to the applicable DTC table

--

6

Inspect the fuse for the HO2S ignition feed.

Is the fuse open?

--

Go to Step 14

Go to Step 9

7

Inspect the connections at the HO2S (Bank 1, Sensor 1) sensor.

Was a problem found?

--

Go to Step 12

Go to Step 15

8

Inspect the connections at the HO2S (Bank 1, Sensor 1) sensor.

Was a problem found?

--

Go to Step 12

Go to Step 10

9

Inspect the connections at the HO2S (Bank 1, Sensor 1) sensor.

Was a problem found?

--

Go to Step 12

Go to Step 11

10

Repair the open HO2S (Bank 1, Sensor 1) sensor ground circuit. Refer to Repair Procedures in Electrical Diagnosis in the C/K Truck Service Manual.

Is the action complete?

--

Go to Step 16

--

11

Inspect for an open at the HO2S (Bank 1, Sensor 1) sensor ignition feed circuit.

Was a problem found?

--

Go to Step 13

--

12

Repair the faulty connection. Refer to Repair Procedures in Electrical Diagnosis in the C/K Truck Service Manual.

Is the action complete?

--

Go to Step 16

--

13

Repair the open in the HO2S (Bank 1, Sensor 1) sensor ignition feed circuit. Refer to Repair Procedures in Electrical Diagnosis in the C/K Truck Service Manual.

Is the action complete?

--

Go to Step 16

--

14

Repair the short to ground in the HO2S (Bank 1, Sensor 1) sensor ignition feed circuit and replace the fuse. Refer to Repair Procedures in Electrical Diagnosis in the C/K Truck Service Manual.

Is the action complete?

--

Go to Step 16

--

15

Replace the HO2S (Bank 1, Sensor 1) sensor. Refer to Heated Oxygen Sensor (HO2S) Replacement in Engine Controls - 5.0, 5.7L in the C/K Truck Service Manual.

Is the action complete?

--

Go to Step 16

--

16

  1. Clear the DTC.
  2. Operate the vehicle within the conditions for setting this DTC as specified in the supporting text.
  3. Use of the AF OBD Trip is recommended.

  4. Verify that the MIL lamp does not illuminate.

Does the diagnostic run and pass?

--

Go to Step 17

Go to Step 1

17

Are any ECU or VCM DTCs displayed that have not been diagnosed?

--

Go to the applicable DTC table

System OK