GM Service Manual Online
For 1990-2009 cars only

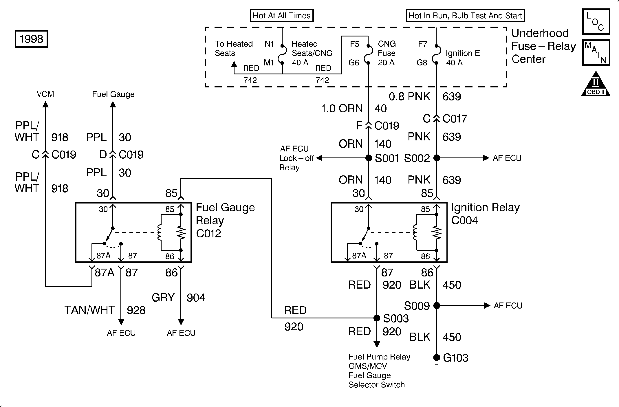
Ignition Relay Diagnosis 1998


Object Number: 322563  Size: MF
Engine Controls Components
CNG Fuel Controls
OBDII Symbol Description Notice

Step

Action

Value(s)

Yes

No

1

Inspect the 20A CNG and the 40A Heated Seats/CNG fuse.

Is the fuse blown?

--

Go to Step 13

Go to Step 2

2

  1. Disconnect fuel gauge relay connector C012.
  2. Turn the ignition ON.
  3. Probe CKT 920 (RED) in terminal 85 of connector C012 using a test light.

Does the test light illuminate?

--

Go to Step 3

Go to Step 4

3

  1. Turn OFF the ignition.
  2. Probe CKT 920 (RED) in terminal 85 of connector C012 using a test light.

Does the test light illuminate?

--

Go to Step 10

Go to Step 15

4

  1. Disconnect ignition relay connector C004.
  2. Turn ON the ignition.
  3. Install a test light between CKT 639 (PNK) in terminal 85 and CKT 450 (BLK) in terminal 86 of connector C004.

Does the test light illuminate?

--

Go to Step 5

Go to Step 7

5

  1. Connect the test light to ground.
  2. Probe CKT 140 (ORN) in terminal 30 of connector C004.

Does the test light illuminate?

--

Go to Step 6

Go to Step 8

6

Verify the continuity of CKT 920 (RED) in terminal 87 of connector C004 to CKT 920 (RED) in terminal 85 of connector C012 using a DVOM.

Is there continuity?

--

Go to Step 12

Go to Step 14

7

  1. Connect the test light to ground.
  2. Probe CKT 639 (PNK) in terminal 85 of connector C004.

Does the test light illuminate?

--

Go to Step 9

Go to Step 11

8

  1. Inspect the 20A CNG fuse.
  2. If the fuse is OK, then locate and repair the open in CKT 140.

Is the action complete?

--

Go to Step 15

--

9

Locate and repair the open in CKT 450. Refer to Repair Procedures in Electrical Diagnosis in the 1998 C/K Truck Service Manual.

Is the action complete?

--

Go to Step 15

--

10

  1. Disconnect ignition relay connector C004.
  2. Probe CKT 639 (PNK) in terminal 85 of connector C004 using a test light.

Does the test light illuminate?

--

Go to Step 11

Go to Step 12

11

CKT 639 is shorted to power. Locate and repair the circuit malfunction. Refer to Repair Procedures in Electrical Diagnosis in the 1998 C/K Truck Service Manual.

Is the action complete?

--

Go to Step 15

--

12

Replace the ignition relay.

Is the action complete?

--

Go to Step 15

--

13

  1. Locate and repair the short to ground. Refer to Repair Procedures in Electrical Diagnosis in the 1998 C/K Truck Service Manual.
  2. Replace the fuse(s).

Is the action complete?

--

Go to Step 15

--

14

  1. Inspect the 40A Heated Seats/CNG fuse.
  2. If the fuse is OK, locate and repair the open circuit. Refer to Repair Procedures in Electrical Diagnosis in the 1998 C/K Truck Service Manual.

Is the action complete?

--

Go to Step 15

--

15

  1. Disconnect fuel gauge relay connector C012.
  2. Turn the ignition ON.
  3. Probe CKT 920 (RED) in terminal 85 of connector C012 using a test light.

Does the test light illuminate?

--

Relay OK

Go to Step 1