GM Service Manual Online
For 1990-2009 cars only

Coolant Heater Replacement 4.8L, 5.3L, 6.0L Engines

Removal Procedure

  1. Raise and support the vehicle. Refer to Lifting and Jacking the Vehicle in General Information.
  2. Drain the cooling system. Refer to Cooling System Draining and Filling .
  3. Disconnect the electrical cord from the coolant heater.

  4. Object Number: 260137  Size: SH

    Important: Do not score the surface of the plug hole when removing the engine coolant heater.

  5. Remove the coolant heater from the engine block.
  6. Remove any burrs, sealer, paint or other rough spots.

Installation Procedure

  1. If you are using the old heater, apply thread sealant GM PN 12346004 or equivalent to the threads of the heater.

  2. Object Number: 260137  Size: SH

    Notice: Use the correct fastener in the correct location. Replacement fasteners must be the correct part number for that application. Fasteners requiring replacement or fasteners requiring the use of thread locking compound or sealant are identified in the service procedure. Do not use paints, lubricants, or corrosion inhibitors on fasteners or fastener joint surfaces unless specified. These coatings affect fastener torque and joint clamping force and may damage the fastener. Use the correct tightening sequence and specifications when installing fasteners in order to avoid damage to parts and systems.

  3. Install the coolant heater to the engine block.
  4. Tighten
    Tighten the coolant heater to 40 N·m (30 lb ft).

  5. Connect the coolant heater electrical cord to the heater.
  6. Lower the vehicle.
  7. Refill the engine coolant. Refer to Cooling System Draining and Filling .
  8. Test the cooling system for leaks. Refer to Cooling System Leak Testing .

Coolant Heater Replacement 4.3L Engine

Removal Procedure

  1. Drain the cooling system. Refer to Cooling System Draining and Filling .

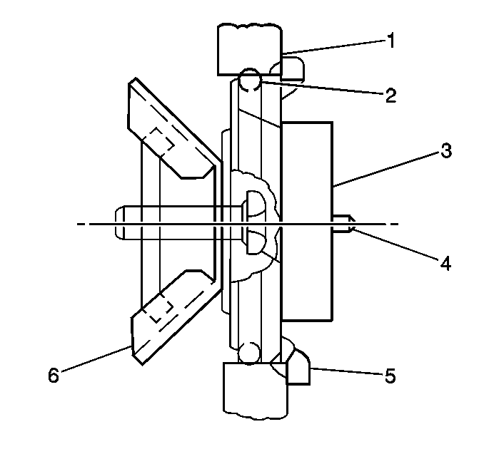
  2. Object Number: 312949  Size: SH
  3. Remove the heater cord from the engine coolant heater (4).
  4. Loosen the bolt retaining the engine coolant heater to the block.
  5. Remove the engine coolant heater from the engine block.
  6. Do not score the machined surface of the hole.
  7. Grasp the plug with pliers.
  8. Pull the plug from the engine block.
  9. Clean the core plug hole in order to remove the following substances:
  10. • Burrs
    • Compound
    • Paint
    • Rough spots

Installation Procedure


    Object Number: 312935  Size: SH
  1. Coat the o-ring seal and the cleaned surface of the plug opening with water resistant high-temperature grease lubricant GM P/N 9985164 or the equivalent.
  2. Important: Avoid element contact with the inside walls of the engine block.

  3. Tightly push the coolant heater (1) into the engine block.
  4. Notice: Use the correct fastener in the correct location. Replacement fasteners must be the correct part number for that application. Fasteners requiring replacement or fasteners requiring the use of thread locking compound or sealant are identified in the service procedure. Do not use paints, lubricants, or corrosion inhibitors on fasteners or fastener joint surfaces unless specified. These coatings affect fastener torque and joint clamping force and may damage the fastener. Use the correct tightening sequence and specifications when installing fasteners in order to avoid damage to parts and systems.


    Object Number: 312945  Size: SH
  5. Tighten the bolt on the engine coolant heater until both of the locking wings draw tightly against the inner wall of the engine block.
  6. Tighten
    Tighten the bolt in order to retain the engine coolant heater to the engine block to 2 N·m (18 lb in).

    Important: Do not allow the heater cord to touch the following areas:

       • The engine
       • Hot pipes
       • The manifold
       • Any moving parts.


    Object Number: 312949  Size: SH
  7. Install the heater cord to the coolant heater (4).
  8. Route the heater cord.
  9. Fill the cooling system. Refer to Cooling System Draining and Filling .
  10. Inspect the system for leaks.