GM Service Manual Online
For 1990-2009 cars only

Removal Procedure

    Caution: Unless directed otherwise, the ignition and start switch must be in the OFF or LOCK position, and all electrical loads must be OFF before servicing any electrical component. Disconnect the negative battery cable to prevent an electrical spark should a tool or equipment come in contact with an exposed electrical terminal. Failure to follow these precautions may result in personal injury and/or damage to the vehicle or its components.

  1. Disconnect the negative battery cable.
  2. Remove the instrument cluster bezel. Refer to Instrument Cluster Replacement in Instrument Panel, Gauges and Console.

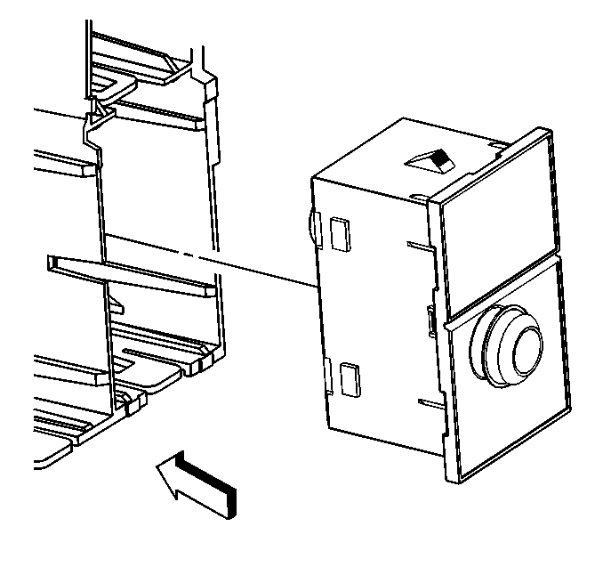
  3. Object Number: 373570  Size: SH
  4. Unsnap the switch from the housing.
  5. Disconnect the electrical connectors.
  6. Remove the switch.

Installation Procedure


    Object Number: 373570  Size: SH
  1. Connect the electrical connectors.
  2. Install the cargo lamp switch by snapping the cargo lamp switch into place.
  3. Install the bezel to the instrument panel. Refer to Instrument Cluster Replacement in Instrument Panel, Gauges and Console.
  4. Connect the negative battery cable.