GM Service Manual Online
For 1990-2009 cars only
Makes
🢒
Chevrolet
🢒
1999
🢒
Chevy C Silverado - 2WD
🢒
Body and Accessories
🢒
Entertainment
🢒 Radio/Audio System Schematics
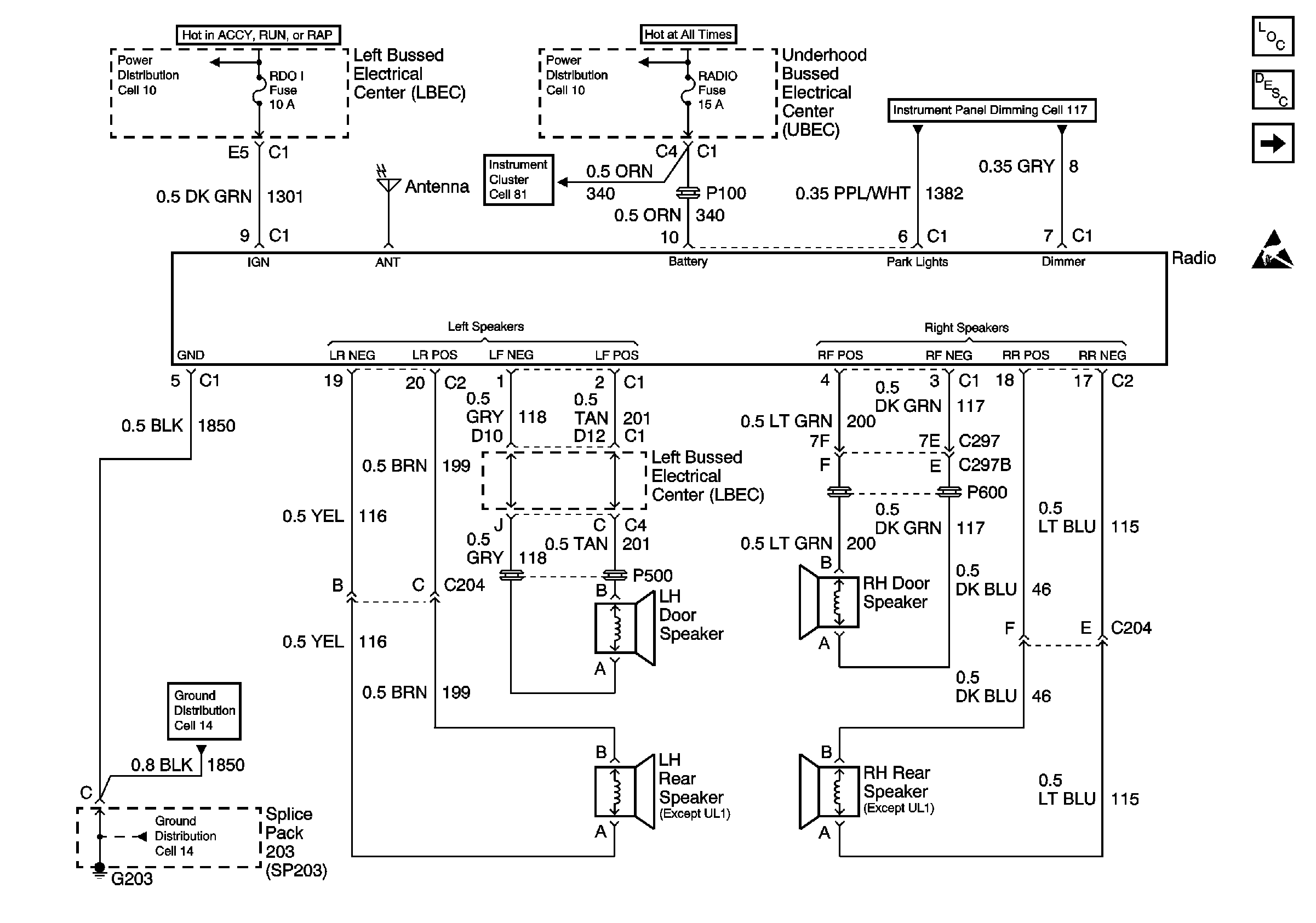
Figure
1:
Base Radio
Entertainment Components
Radio/Audio System Circuit Description
Uplevel Radio - Power, Ground, and Speakers
Handling ESD Sensitive Parts Notice
Cell 15
Cell 10: Underhood Bussed Electrical Center, Bussed Fuses
Cell 81: Underhood Bussed Electrical Center, Low Washer Switch, Park Switch
Cell 117: G200, G203, Inflatable Restraint IP Module Switch
Cell 14: Full Feature Seat Heated/Memory Seat Switch, Light Bar Switch
Cell 14: Full Feature Seat Heated/Memory Seat Switch, Light Bar Switch
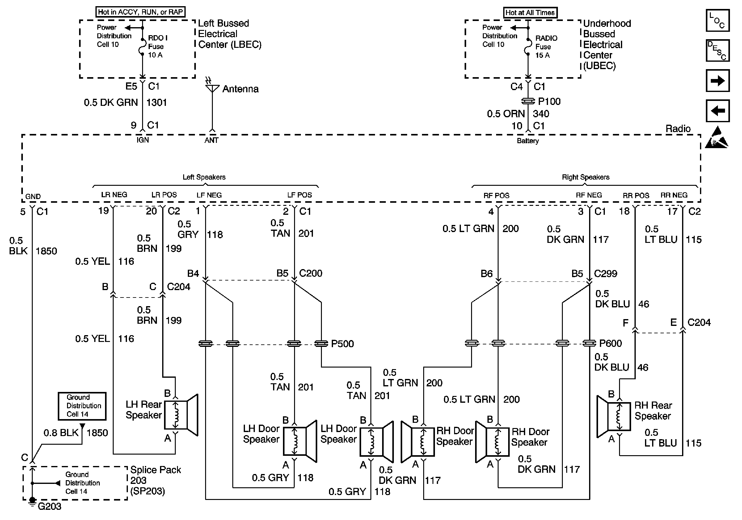
Figure
2:
Uplevel Radio - Power, Ground, and Speakers
Entertainment Components
Radio/Audio System Circuit Description
Uplevel Radio - Remote CD Player
Base Radio
Handling ESD Sensitive Parts Notice
Cell 15
Cell 10: Underhood Bussed Electrical Center, Bussed Fuses
Cell 14: Full Feature Seat Heated/Memory Seat Switch, Light Bar Switch
Cell 14: Full Feature Seat Heated/Memory Seat Switch, Light Bar Switch
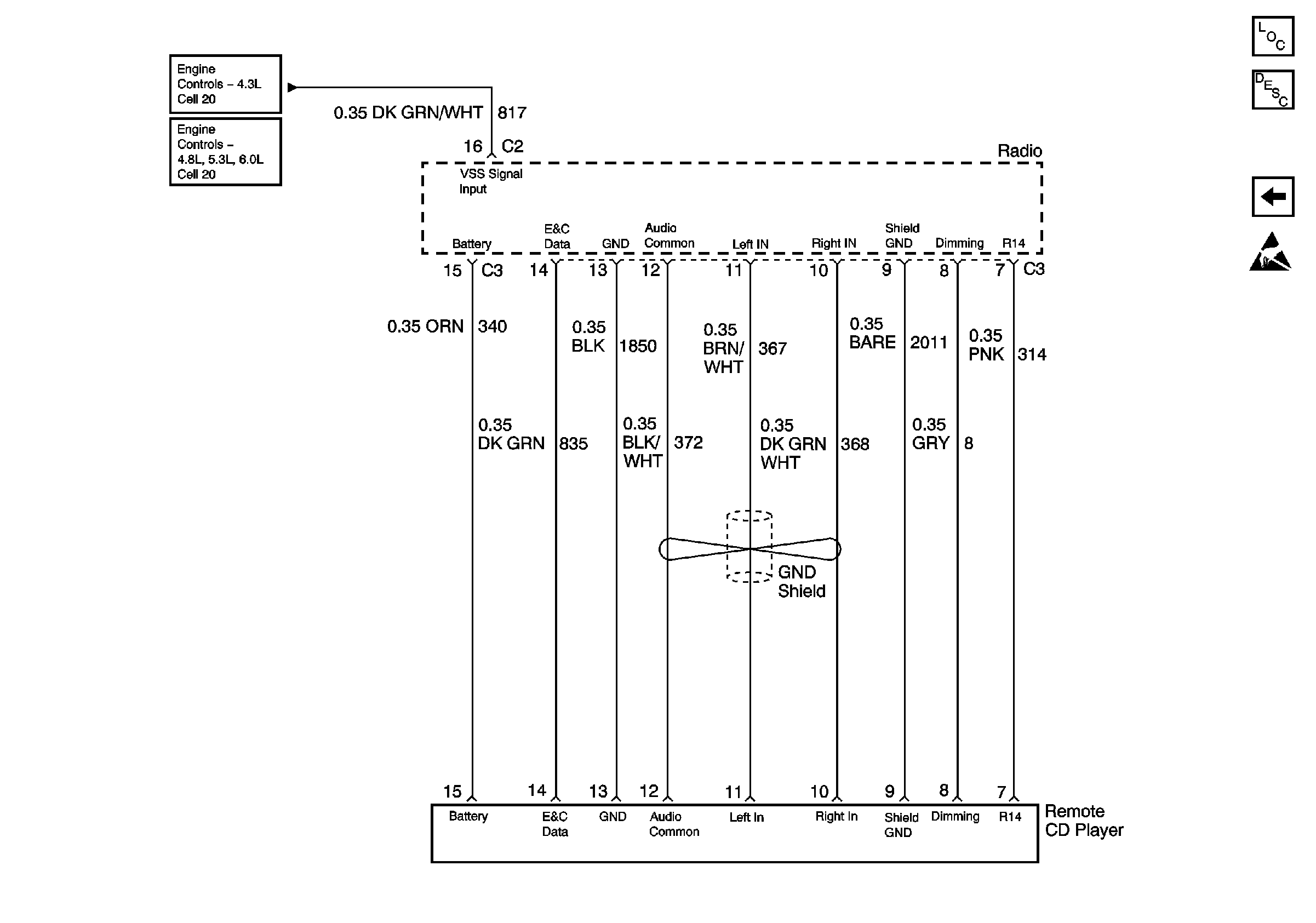
Figure
3:
Uplevel Radio - Remote CD Player
Entertainment Components
Radio/Audio System Circuit Description
Uplevel Radio - Power, Ground, and Speakers
Handling ESD Sensitive Parts Notice
Cell 20: G103, Body Control Module, Electronic Brake Control Module
Cell 21: Body Control Module, Vehicle Speed Sensor