GM Service Manual Online
For 1990-2009 cars only
Makes
🢒
Chevrolet
🢒
1999
🢒
Chevy C Silverado - 2WD
🢒
Body and Accessories
🢒
Body Control System
🢒 Instrument Panel, Gages, and Console Component Views
Figure
1:
Instrument Cluster
(1)
Instrument Panel Cluster (IPC)
(2)
Inline Connector C202 M
(3)
Inline Connector C202 F
(4)
Instrument Cluster Electrical Connector
(5)
Instrument Panel Carrier
(6)
Instrument Panel
Figure
2:
Auxiliary Battery Relay
(1)
Auxiliary Battery Relay
(2)
A/C Accumulator
(3)
A/C Compressor Low Pressure Cycling Switch
(4)
Inner Wheel Well
(5)
Engine Coolant Level Switch Electrical Connector
(6)
Mass Air Flow (MAF) Sensor
(7)
Air Cleaner Assembly
(8)
Engine Coolant Recovery Reservoir
(9)
Auxiliary Battery Relay Electrical Connector
Figure
3:
Oil Pressure Switch (OPS)
(1)
Oil Pressure Switch (OPS)
(2)
Engine Block
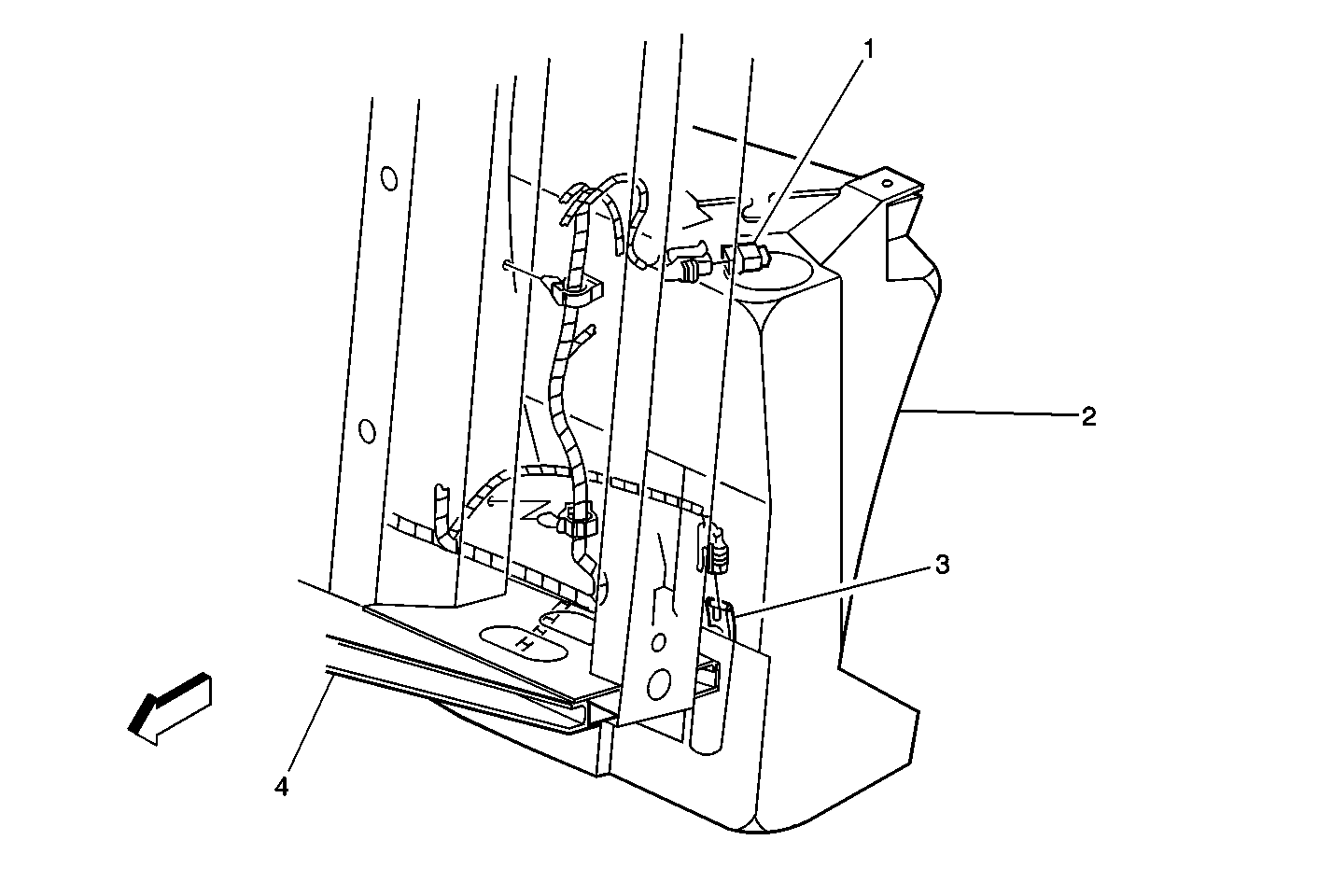
Figure
4:
Windshield Washer Reservoir
(1)
Low Washer Switch
(2)
Windshield Washer Reservoir
(3)
Windshield Washer Pump
(4)
Radiator Support