GM Service Manual Online
For 1990-2009 cars only

Removal Procedure

  1. Remove the door. Refer to Door Replacement .
  2. Remove the hinge pins from the body side hinge by grinding the bottom end of the pin off and driving out the remainder of the pin using a hammer and punch.
  3. Remove the old bushings from the door side hinges.

Installation Procedure


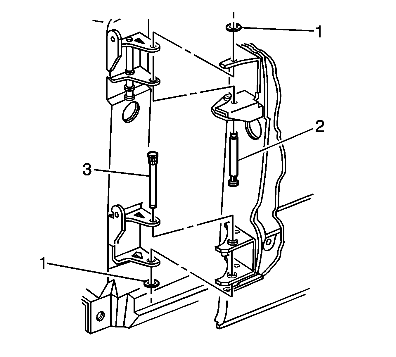
    Object Number: 1909195  Size: SH
  1. Install the hinge pin bushings (1) into the door side hinges.
  2. Install the shorter hinge pin (3) into the bottom hole in the body side hinge.
  3. Install the washer supplied in the kit and a standard 5/16 inch x 18 nut onto the replacement hinge pin.
  4. Tap the shorter hinge pin (3) into the hinge as far as it will go.
  5. Tighten the 5/16 inch x 18 nut with a hand wrench, drawing the hinge pin into the hinge until the pin is fully seated.
  6. Replace the standard 5/16 inch x 18 nut with the lock nut supplied in the kit and finger tighten.
  7. Notice: Refer to Fastener Notice in the Preface section.

  8. Tighten the lock nuts.
  9. Tighten
    Tighten the nuts to 19 N·m (14 lb ft).

  10. Install the longer hinge pin (2) into the top hole in the body side hinge.
  11. Install the washer supplied in the kit and a standard 5/16 inch x 18 nut onto the replacement hinge pin.
  12. Tap the longer hinge pin (2) into the hinge as far as it will go.
  13. Tighten the 5/16 inch x 18 nut with a hand wrench, drawing the hinge pin into the hinge until the pin is fully seated.
  14. Replace the standard 5/16 inch x 18 nut with the lock nut supplied in the kit and finger tighten.
  15. Tighten the lock nuts.
  16. Tighten
    Tighten the nuts to 19 N·m (14 lb ft).

  17. Install the door. Refer to Door Replacement .
  18. Lubricate the hinge pins with Goodwrench® Super Lube or equivalent.