GM Service Manual Online
For 1990-2009 cars only

Transmission Assemble NV3500

Transmission Assembly

Tools Required

    • J 3289-20 Base Holding Fixture
    • J 6133-A Speedometer Rotor Installer
    • J 8763-02 Holding Fixture C-Clamp
    • J 8763-21 Balance Bracket for C-Clamp
    • J 25070 Heat Gun
    • J 36515 Assembly Pallet
    • J 36515-10 Retainer Alignment Cable (2WD Models Only)
    • J 36515-15 Mainshaft Adapter
    • J 36515-16 Countershaft Adapter
    • J 36824 Transmission Adapters
    • J 36511 Oil Fill Plug Hex Bit (17 mm)

    Important: Some parts require an assembly lubricant. Use TRANSJEL or equivalent.


    Object Number: 4747  Size: SH
  1. Install the pilot bearing into the input shaft.
  2. • Turn the small diameter of the bearing cage toward the input shaft.
    • Retain the bearing with TRANSJEL or equivalent.

    Object Number: 4748  Size: SH
  3. Install the following parts on the assembly fixture J 36515-15 and J 36515 :
  4. 2.1. The input shaft (1)
    2.2. The pilot bearing (2)
    2.3. The synchronizer ring (3)
    2.4. The mainshaft assembly (4)

    Object Number: 5224  Size: SH
  5. Install the following parts on the mainshaft and on the assembly fixture J 36515-16 :
  6. 3.1. The countershaft assembly (1)
    3.2. The reverse idler assembly (2)
    3.3. The 1st/2nd speed gear shift fork (3)
    3.4. The 5th/reverse speed gear shift fork (4)

    Object Number: 4749  Size: SH
  7. Install the following components:
  8. 4.1. The output shaft bearing assembly (2)
    4.2. A new mainshaft snap ring (1)

    Object Number: 4734  Size: SH
  9. Heat the reluctor wheel for 7-10 minutes at 120°C (250°F).
  10. Important: Before assembly, heat the bore of the rear main housing output shaft bearing.


    Object Number: 4750  Size: SH
  11. Install a new vehicle speed sensor reluctor wheel. Use J 6133-A , if necessary.
  12. Important: Press each bearing roller towards the race. This will secure them for easier assembly.


    Object Number: 4747  Size: SH
  13. Install the countershaft bearing.
  14. • Use TRANSJEL or equivalent in order to retain the bearing.
    • The smaller diameter of the bearing cage goes into the bearing race of the housing.

    Object Number: 4752  Size: SH
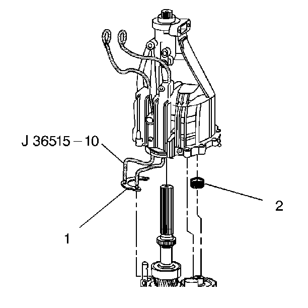
  15. Install the following components:
  16. 8.1. J 36515-10 through the bolt-holes in the rear housing
    8.2. Screw the threaded cable ends into the output shaft bearing retainer (1).
    8.3. Position the notch in the bearing retainer towards the oil delivery tube assembly (2).

    Object Number: 4751  Size: SH
  17. Heat the rear main housing bore 3-5 minutes.
  18. Use J 25070 .

    Important: Bring the housing straight down. If you feel resistance at about 7 mm (1/4 in), then the counter shaft bearing rollers are cocked. Repeat the procedure. Do not force the housing down.


    Object Number: 4752  Size: SH
  19. Install the rear housing assembly.
  20. 10.1. Make sure to line up the reverse idler shaft with the hole in the housing.
    10.2. Rotate the housing back and forth while pushing down.
    10.3. Pull up on J 36515-10 while installing the rear housing.

    Object Number: 4753  Size: SH
  21. Apply pipe sealant with Teflon™ GM P/N 1052080 or equivalent to the bolt holes of the rear housing.

  22. Object Number: 4754  Size: SH
  23. Apply GM P/N 12345382 threadlocker to the bolt threads.

  24. Object Number: 4797  Size: SH
  25. Install one rear bearing retainer bolt in the open hole. Do not tighten the bolt. This will hold the bearing retainer plate in place when the cables are removed.

  26. Object Number: 4755  Size: SH
  27. Remove one J 36515-10 at a time and replace with bearing retainer bolts.
  28. Tighten
    Tighten the rear bearing retainer bolts to 22 N·m (16 lb ft).

    Notice: Use the correct fastener in the correct location. Replacement fasteners must be the correct part number for that application. Fasteners requiring replacement or fasteners requiring the use of thread locking compound or sealant are identified in the service procedure. Do not use paints, lubricants, or corrosion inhibitors on fasteners or fastener joint surfaces unless specified. These coatings affect fastener torque and joint clamping force and may damage the fastener. Use the correct tightening sequence and specifications when installing fasteners in order to avoid damage to parts and systems.


    Object Number: 4759  Size: SH
  29. Lay the rear housing assembly down on the workbench. Remove J 36515 , J 36515-15 , and J 36515-16 from the housing.

  30. Object Number: 8239  Size: SH
  31. Apply pipe sealant with Teflon™ GM P/N 1052080 or equivalent to the bolt-hole.

  32. Object Number: 4754  Size: SH
  33. Apply GM P/N 12345382 threadlocker or equivalent to the bolt threads.

  34. Object Number: 4760  Size: SH
  35. Install the following components:
  36. 18.1. The idler shaft support
    18.2. The idler shaft bolts
    18.3. Line up the bolt threads in the idler shaft support with the bolt hole.
    18.4. Hold the reverse idler shaft against the idler support while tightening the bolts.

    Tighten
    Tighten the bolt to 22 N·m (16 lb ft).


    Object Number: 4777  Size: SH
  37. Install J 8763-21 , J 8763-02 , and J 36824 on the transmission housing.

  38. Object Number: 4795  Size: SH
  39. Install the 3rd/4th speed gear shift fork onto the 3rd/4th speed gear synchronizer sleeve.
  40. Align all three insert notches.


    Object Number: 4761  Size: SH
  41. Slide the shift shaft through the following parts:
  42. 21.1. The 3rd/4th speed gear shift fork. Ensure that the detent reliefs in the shift shaft point out (1).
    21.2. The shift lever (2).
    21.3. The block-out bushing (3).
    21.4. The 1st/2nd speed gear shift fork (4).
    21.5. The shift socket (5).

    Object Number: 4793  Size: SH
  43. Slide the shift shaft all the way into the housing.

  44. Object Number: 4790  Size: SH
  45. Install a new short roll pin into the shift lever. The end of the spiral must face toward the direction of the thrust.
  46. 23.1. Rotate the shift shaft and the shift lever/block-out bushing assembly. Make sure the roll pin holes are aligned and horizontal.
    23.2. Support the shift shaft while installing the roll pin.
    23.3. Install the roll pin flush with the shift lever.

    Object Number: 4762  Size: SH
  47. Install the detent spring and the ball plunger into the hole in the shift lever.
  48. 24.1. Rotate the shift shaft counterclockwise. The shift lever should be almost into the 5th/Reverse speed gear insert notch.
    24.2. Install the spring (1) and the ball plunger (2) into the shift lever.
    24.3. Rotate the shift shaft until the shift lever aligns with the 3rd/4th speed gear insert.

    Notice: Excessive force peens the shift shaft and damages the shift shaft bearing. This causes increased shift effort.

    Important: Use the rear roll pin hole on the M50 (S/T) transmission and the M65 (C/K) transmission.


    Object Number: 4763  Size: SH
  49. Install the long shift socket roll pannes end of the spiral must face the direction of the thrust.
  50. 25.1. Align the holes in the shift socket and the shift shaft.
    25.2. Drive the roll pin flush with the bottom of the shift socket.

    Object Number: 4764  Size: SH
  51. Apply gasket maker GM P/N 1052943 or equivalent to both sides of the isolator plate.
  52. Install the isolator plate onto the housing.
  53. The thin side of the plate should be on the left side of the transmission housing.


    Object Number: 4765  Size: SH
  54. Install the shift lever.
  55. Install 4 NEW bolts.
  56. Tighten
    Tighten the bolts to 12 N·m (106 lb in).

    Important: The smaller diameter of the bearing cage goes into the bearing race.


    Object Number: 4766  Size: SH
  57. Install the countershaft bearing in the front housing.
  58. 30.1. Apply TRANSJEL or equivalent on the bearing rollers.
    30.2. Press each bearing roller into the cage.
    30.3. Apply TRANSJEL or equivalent to the bearing race on the input shaft.

    Important: Bring the housing straight down. If you feel resistance at about 7 mm (¼ in), then the rollers are cocked. Repeat the procedure. Do not force down the housing.


    Object Number: 4768  Size: SH
  59. Install the front housing.

  60. Object Number: 4783  Size: SH
  61. Install a new snap ring on the input shaft. It may be necessary to pull out on the input shaft in order to install the snap ring.

  62. Object Number: 4785  Size: SH
  63. Rotate the transmission to a horizontal position.
  64. Install the 2 housing dowel pins.

    Drive the dowel pins into the front housing flange.


    Object Number: 4769  Size: SH
  65. Install the housing bolts. Bolts behind the holding fixture can not be installed at this time.
  66. • Do not tighten the bolts.
    • Tip the transmission vertically.

    Important: Do not allow the gasket maker material to plug the oil return hole. This reduces oil flow through the input shaft bearing. Premature bearing failure could result.


    Object Number: 4770  Size: SH
  67. Apply gasket maker GM P/N 1052943 or equivalent to the inside edge of the bearing retainer bolt hole pattern.

  68. Object Number: 4782  Size: SH
  69. Install the following components:
  70. 36.1. The input shaft bearing retainer assembly (Align the oil drain back hole with the hole in the housing.)
    36.2. The six bolts

    Tighten
    Tighten the bolts to 8.5 N·m (75 lb in).


    Object Number: 4771  Size: SH
  71. Apply pipe sealant to the detent plunger plug. Use pipe sealant with Teflon ™ GM P/N 1052080 or equivalent.

  72. Object Number: 4772  Size: SH
  73. Install the following components:
  74. 38.1. The shift shaft detent plunger
    38.2. The shift shaft detent spring
    38.3. The plug (Use a brass drift in order to install the plug.)

    Object Number: 1337  Size: SH
  75. Coat the vehicle speed sensor O-ring with clean transmission lubricant. Use Synchromesh Transmission Fluid GM P/N 12345349 or equivalent.

  76. Object Number: 1336  Size: SH
  77. Install the electronic speed sensor:
  78. 40.1. Use a new O-ring.
    40.2. Install the bolt.

    Tighten
    Tighten the bolt to 9 N·m (80 lb in).


    Object Number: 4773  Size: SH
  79. Apply pipe sealant to the threads of the backup lamp switch assembly. Use pipe sealant with Teflon™ GM P/N 1052080 or equivalent.

  80. Object Number: 4778  Size: SH
  81. Install the backup lamp switch assembly.
  82. Tighten
    Tighten the switch to 9 N·m (80 lb in).


    Object Number: 4777  Size: SH
  83. Remove J 8763-02 and J 36824 .

  84. Object Number: 4776  Size: SH
  85. Install 2 bottom housing bolts.
  86. Tighten
    Tighten the bolts to 35 N·m (26 lb ft).


    Object Number: 6351  Size: SH
  87. Install the shift shaft block-out bushing pin.
  88. Tighten
    Tighten the bolt to 25 N·m (18 lb ft).


    Object Number: 4774  Size: SH
  89. Fill the transmission with lubricant.
  90. 46.1. Refer to Fluid Capacities in General Information.
    46.2. Use Synchromesh Transmission Fluid GM P/N 12345349 or equivalent.
    46.3. Remove the oil fill plug. Use J 36511 .
    46.4. Install the transmission lubricant.
    46.5. Install the oil fill plug.

    Tighten
    Tighten the oil fill plug to 60 N·m (44 lb ft).