GM Service Manual Online
For 1990-2009 cars only

Front Suspension Coil Spring Noise (Install New Coil Spring Insulator)

Subject:Front Suspension Coil Spring Noise (Install New Coil Spring Insulator)

Models:1999-2004 Chevrolet Silverado 2WD 1500 Series
1999-2004 GMC Sierra 2WD 1500 Series Models



This bulletin is being revised to add model years. Please discard Corporate Bulletin Number 99-03-08-002A (Section 03 -- Suspension).


Condition

Some owners may comment on front suspension noise. The noise may be described as a "bong" or "clunk" noise. The noise may be more noticeable when driving slowly over bumps or backing the vehicle out of a driveway.

Cause

The front coil spring contacting the frame may cause this condition.

Correction


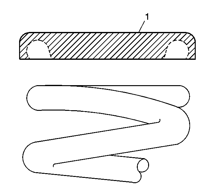
Object Number: 654795  Size: SH

A new front coil spring insulator has been developed to correct this condition. Install a new insulator (1) to the top of both front coil springs. Refer to the Front Suspension subsection of the appropriate Silverado and Sierra Service Manual for coil spring removal/installation procedures.

This new insulator replaces any existing coil spring insulators. Remove and discard the existing insulator before installing the new insulator. Use the part number listed below.

Parts Information

P/N

Description

Qty

15756770

Insulator, Front Spring

2

Parts are currently available from GMSPO.

Warranty Information

For vehicles repaired under warranty, use:

Labor Operation

Description

Labor Time

E3907

Seat and/or Insulator, Front Spring (Upper and/or Lower) - Replace (Both)

Use published labor operation time