GM Service Manual Online
For 1990-2009 cars only

Special Coverage Adjustment - Analog OnStar Deactivation

Subject:08089B -- SPECIAL COVERAGE ADJUSTMENT - ANALOG ONSTAR® DEACTIVATION

Models:1999-2004 BUICK REGAL
1999-2005 BUICK CENTURY, PARK AVENUE
2000-2005 BUICK LESABRE
2002-2004 BUICK RENDEZVOUS
2004-2005 BUICK RAINIER
2005-2006 BUICK LACROSSE
2006 BUICK LUCERNE
1997-2004 CADILLAC SEVILLE
1997-2005 CADILLAC DEVILLE
1998-2001 CADILLAC CATERA
1998-2002 CADILLAC ELDORADO
1998-2006 CADILLAC STS
1999-2000 CADILLAC ESCALADE
2002-2004 CADILLAC ESCALADE, ESCALADE EXT
2003-2005 CADILLAC ESCALADE ESV
2003-2006 CADILLAC CTS
2004-2005 CADILLAC CTS-V, SRX, XLR
1998-2004 CHEVROLET MONTE CARLO
1998-2005 CHEVROLET SUBURBAN
1999-2000 CHEVROLET LUMINA
1999-2001 CHEVROLET BLAZER
1999-2005 CHEVROLET VENTURE
1999-2006 CHEVROLET TAHOE
2000-2005 CHEVROLET SILVERADO
2000-2006 CHEVROLET IMPALA
2002-2004 CHEVROLET AVALANCHE, TRAILBLAZER EXT
2002-2005 CHEVROLET TRAILBLAZER
2003-2004 CHEVROLET EXPRESS
2003-2005 CHEVROLET CAVALIER
2004 CHEVROLET COLORADO
2004-2005 CHEVROLET MALIBU, MALIBU MAXX
2005 CHEVROLET EQUINOX
2005-2006 CHEVROLET COBALT, CORVETTE
2006 CHEVROLET MONTE CARLO
1999 GMC SIERRA, SUBURBAN
1999-2001 GMC JIMMY
1999-2005 GMC YUKON
2000 GMC YUKON DENALI
2000-2005 GMC YUKON XL
2001-2006 GMC SIERRA
2002-2004 GMC ENVOY XL
2002-2005 GMC ENVOY
2003-2004 GMC SAVANA
2004 GMC CANYON, ENVOY XUV
2003-2005 HUMMER H2
1998 OLDSMOBILE SILHOUETTE
1999-2004 OLDSMOBILE BRAVADA
2000-2002 OLDSMOBILE INTRIGUE
2000-2004 OLDSMOBILE SILHOUETTE
2001-2003 OLDSMOBILE AURORA
2002 OLDSMOBILE ALERO
1998-1999 PONTIAC TRANS SPORT
2000-2004 PONTIAC GRAND PRIX
2000-2005 PONTIAC BONNEVILLE, MONTANA
2001-2004 PONTIAC AZTEK
2002 PONTIAC GRAND AM
2003-2005 PONTIAC SUNFIRE
2005 PONTIAC G6, PURSUIT
2006 PONTIAC GRAND PRIX
2000-2004 SAAB 9-5
2000-2005 SAAB 9-3
2002-2004 SATURN LS, LW, VUE
2003-2004 SATURN ION
2006 SATURN VUE



This Special Coverage bulletin is being administered in two phases. This second and final phase consists of all Saab 9-3 and 9-5 vehicles. The service procedure, parts information, and the claims section have been revised. A reimbursement labor code has also been added. Discard all copies of bulletin 08089A, issued July 2008.


Condition

In November 2002, the U.S. Federal Communications Commission (FCC) ruled that wireless carriers would no longer be required to support the analog wireless network beginning in 2008. As a result, On Star® is unable to continue analog service.

OnStar® has deactivated most of the systems operating in the analog mode; however, there are some vehicles that OnStar® could not deactivate. Although the analog OnStar® hardware in these vehicles can no longer communicate with OnStar®, the hardware in the vehicle is still active. If the OnStar® emergency button is pressed, or in the case of an airbag deployment, or near deployment, the customer may hear a recording that OnStar® is being contacted. However, since analog service is no longer available, the call will not connect to OnStar®. To end the call, the customer must press the white phone or white dot button. If the call is not ended, the system will continue to try to connect to OnStar® until the vehicle battery is drained.

Special Policy Adjustment

At the customer’s request, dealers/retailers are to deactivate the OnStar® system. The service will be made at no charge to the customer.

This special coverage covers the condition described above until December 31, 2008 for all non-Saab vehicles; April 30, 2009 for all Saab vehicles.

Vehicles Involved

Involved are certain vehicles within the following VIN breakpoints:

Year

Division

Model

From

Through

1999

Buick

Century

X1445208

X1489203

2000

Buick

Century

Y1106667

Y1326510

2001

Buick

Century

11100006

11337937

2002

Buick

Century

21100019

21301023

2003

Buick

Century

31100019

31298205

2004

Buick

Century

41114169

41331717

2005

Buick

Century

51101688

51126049

2005

Buick

LaCrosse (one veh.)

51227233

51227233

2006

Buick

LaCrosse (one veh.)

61197695

61197695

2000

Buick

LeSabre

Y4101742

Y4297200

YU100056

YU357882

2001

Buick

LeSabre

14108500

14298745

1U100003

1U301911

2002

Buick

LeSabre

24100025

24243971

2U100001

2U306311

2003

Buick

LeSabre

34100016

34203284

3U100003

3U292936

2004

Buick

LeSabre

44100812

44179549

4U100571

4U263906

2005

Buick

LeSabre

5U120285

5U281535

2006

Buick

Lucerne (one veh.)

6U141755

6U141755

1999

Buick

Park Avenue

X4618920

X4644173

2000

Buick

Park Avenue

Y4100106

Y4297258

2001

Buick

Park Avenue

14108264

14298900

2002

Buick

Park Avenue

24100007

24245264

2003

Buick

Park Avenue

34100006

34204178

2004

Buick

Park Avenue

44100004

44165185

2005

Buick

Park Avenue

54100056

54109583

2004

Buick

Rainier

42123910

42341237

2005

Buick

Rainier (one veh.)

52132216

52132216

1999

Buick

Regal (one veh.)

X1478100

X1478100

2000

Buick

Regal

Y1118672

Y1347861

2001

Buick

Regal

11100007

11337789

2002

Buick

Regal

21100014

21300668

2003

Buick

Regal

31100023

31298341

2004

Buick

Regal

41158450

41357601

2002

Buick

Rendezvous

2S500005

2S609112

2003

Buick

Rendezvous

3S500030

3S610189

2004

Buick

Rendezvous

4S500012

4S579633

1998

Cadillac

Catera

WR158803

WR222921

1999

Cadillac

Catera

XR000093

XR143809

2000

Cadillac

Catera

YR000147

YR132978

2001

Cadillac

Catera

1R000087

1R079420

2003

Cadillac

CTS

30100001

30175588

2004

Cadillac

CTS

40100019

40192551

2005

Cadillac

CTS

50100011

50162834

2006

Cadillac

CTS

60186741

60189026

2004

Cadillac

CTS-V

40120884

40192484

2005

Cadillac

CTS-V

50100013

50162770

1997

Cadillac

Deville

VU272205

VU291968

1998

Cadillac

Deville

WU706915

WU808870

1999

Cadillac

Deville

XU550301

XU809554

2000

Cadillac

Deville

YU120045

YU551043

2001

Cadillac

Deville

1U100001

1U551119

2002

Cadillac

Deville

2U100006

2U550969

2003

Cadillac

Deville

3U100014

3U550774

2004

Cadillac

Deville

4U100001

4U550805

2005

Cadillac

Deville (one veh.)

5U162847

5U162847

1998

Cadillac

Eldorado

WU603392

WU617245

1999

Cadillac

Eldorado

XU600193

XU614971

2000

Cadillac

Eldorado

YB700001

YB705412

YU131930

YU202243

2001

Cadillac

Eldorado

1B100002

1B110397

2002

Cadillac

Eldorado

2B100001

2B107105

1999

Cadillac

Escalade

XR400002

XR419853

2000

Cadillac

Escalade

YR100020

YR231519

2002

Cadillac

Escalade

2R100015

2R330356

2003

Cadillac

Escalade

3R100003

3R319722

2004

Cadillac

Escalade

4R100018

4R312593

2003

Cadillac

Escalade ESV

3G163521

3G346683

2004

Cadillac

Escalade ESV

4G100046

4G261927

2005

Cadillac

Escalade ESV (one veh.)

5G212252

5G212252

2002

Cadillac

Escalade EXT

2G109187

2G363637

2003

Cadillac

Escalade EXT

3G100002

3G343680

2004

Cadillac

Escalade EXT

4G100009

4G278244

1997

Cadillac

Seville (one veh.)

VU827588

VU827588

1998

Cadillac

Seville

WU905144

WU927415

1999

Cadillac

Seville

XU900312

XU941554

2000

Cadillac

Seville

YU103324

YU357839

2001

Cadillac

Seville

1U100013

1U301609

2002

Cadillac

Seville

2U100008

2U306084

2003

Cadillac

Seville

3U100018

3U292785

2004

Cadillac

Seville

4U100043

4U176467

2004

Cadillac

SRX

40100026

40192510

2005

Cadillac

SRX

50100021

50182202

1998

Cadillac

STS

WU907400

WU932534

1999

Cadillac

STS

XU900335

XU942430

2000

Cadillac

STS

YU102315

YU357678

2001

Cadillac

STS

1U100015

1U302061

2002

Cadillac

STS

2U100005

2U306339

2003

Cadillac

STS

3U100013

3U292075

2004

Cadillac

STS

4U113894

4U168578

2005

Cadillac

STS

50100001

50237718

2006

Cadillac

STS

60100025

60100076

2004

Cadillac

XLR

45600001

45604349

2005

Cadillac

XLR

55600006

55604179

2002

Chevrolet

Avalanche

2G100011

2G363698

2003

Chevrolet

Avalanche

3G100012

3G347329

2004

Chevrolet

Avalanche

4G100012

4G328179

1999

Chevrolet

Blazer

X2101929

X2254198

XK120816

XK240826

2000

Chevrolet

Blazer

Y2100308

Y2406353

YK102142

YK282816

2001

Chevrolet

Blazer

12100001

12231462

1K100022

1K266450

2003

Chevrolet

Cavalier

37100005

37383563

2004

Chevrolet

Cavalier

47100001

47352201

2005

Chevrolet

Cavalier

57117718

57207105

2005

Chevrolet

Cobalt

57500179

57673071

2006

Chevrolet

Cobalt

67600004

67600071

2004

Chevrolet

Colorado

48100019

48223704

2005

Chevrolet

Corvette

55100004

55137307

2006

Chevrolet

Corvette

65100001

65100041

2005

Chevrolet

Equinox

56000001

56300055

2003

Chevrolet

Express

31100050

31235868

2004

Chevrolet

Express

41100001

41244066

2000

Chevrolet

Impala

Y9100099

Y9384930

2001

Chevrolet

Impala

19100001

19378220

2002

Chevrolet

Impala

29100003

29391803

2003

Chevrolet

Impala

39100004

39454744

2004

Chevrolet

Impala

49100018

49466807

2005

Chevrolet

Impala (one veh.)

59123797

59123797

2006

Chevrolet

Impala (one veh.)

69101009

69101009

1999

Chevrolet

Lumina

X9115428

X9275001

2000

Chevrolet

Lumina (one veh.)

Y1236832

Y1236832

2004

Chevrolet

Malibu

4F100008

4F250313

2005

Chevrolet

Malibu

5F100003

5F338988

2004

Chevrolet

Malibu Maxx

4F103647

4F248994

2005

Chevrolet

Malibu Maxx

5F100010

5F339925

1998

Chevrolet

Monte Carlo (one veh.)

W9327712

W9327712

1999

Chevrolet

Monte Carlo

X9107690

X9286733

2000

Chevrolet

Monte Carlo

Y9100359

Y9378274

2001

Chevrolet

Monte Carlo

19100002

19378050

2002

Chevrolet

Monte Carlo

29100018

29391894

2003

Chevrolet

Monte Carlo

39101334

39455165

2004

Chevrolet

Monte Carlo

49100005

49466831

2006

Chevrolet

Monte Carlo (one veh.)

69215823

69215823

2000

Chevrolet

Silverado (one veh.)

YE179407

YE179407

2001

Chevrolet

Silverado

11100041

11408084

1E100099

1E345800

1F100072

1F213819

1Z117033

1Z327368

2002

Chevrolet

Silverado

21100010

21430506

2E100236

2E306358

2F100002

2F250264

2Z100001

2Z330782

2003

Chevrolet

Silverado

31100001

31412744

3E100001

3E380596

3F100002

3F258743

3Z100007

3Z356866

2004

Chevrolet

Silverado

41100015

41393974

4E100017

4E356779

4F100003

4F231743

4Z100002

4Z292859

2005

Chevrolet

Silverado (one veh.)

51258603

51258603

5E147265

5E239492

1998

Chevrolet

Suburban (one veh.)

WJ323912

WJ323912

1999

Chevrolet

Suburban

XG112835

XG141154

(one veh.)

XJ520744

XJ520744

2000

Chevrolet

Suburban

YG100027

YG229196

YJ100383

YJ208096

2001

Chevrolet

Suburban

1G100048

1G289554

1J100301

1J318221

2002

Chevrolet

Suburban

2G100118

2G363746

2J100045

2J343505

2R216920

2R329205

2003

Chevrolet

Suburban

3G100007

3G348208

3J100038

3J345893

3R100004

3R315570

2004

Chevrolet

Suburban

4G100034

4G285938

4J100034

4J266508

4R104363

4R270836

2005

Chevrolet

Suburban (one veh.)

5G170817

5G170817

1999

Chevrolet

Tahoe

XJ410227

XJ443923

(one veh.)

XR131889

XR131889

2000

Chevrolet

Tahoe

YJ100044

YJ211841

YR100063

YR156697

2001

Chevrolet

Tahoe

1J100004

1J318203

1R101078

1R227898

2002

Chevrolet

Tahoe

2J100392

2J344440

2R109205

2R330391

2003

Chevrolet

Tahoe

3J100001

3J346136

3R100030

3R320037

2004

Chevrolet

Tahoe

4J100067

4J266791

4R100019

4R278100

2005

Chevrolet

Tahoe (one veh.)

5J152465

5J152465

5R120838

5R256931

2006

Chevrolet

Tahoe (one veh.)

6R124886

6R124886

2002

Chevrolet

TrailBlazer

22100085

22530786

2003

Chevrolet

TrailBlazer

32100032

32415143

2004

Chevrolet

TrailBlazer

42100006

42345139

2005

Chevrolet

TrailBlazer

52248838

52374164

2002

Chevrolet

TrailBlazer EXT - (one veh.)

22451373

22451373

26100010

26138651

2003

Chevrolet

TrailBlazer EXT

32100010

32188282

36100021

36246779

2004

Chevrolet

TrailBlazer EXT

46100121

46203344

1999

Chevrolet

Venture

XD105281

XD121569

2000

Chevrolet

Venture

YD200638

YD366422

2001

Chevrolet

Venture

1D100011

1D340319

2002

Chevrolet

Venture

2D100001

2D324932

2003

Chevrolet

Venture

3D100001

3D326491

2004

Chevrolet

Venture

4D100005

4D271362

2005

Chevrolet

Venture

5D100001

5D151772

2004

GMC

Canyon

48100034

48218468

2002

GMC

Envoy

22100002

22530755

2003

GMC

Envoy

32100031

32415058

2004

GMC

Envoy

42100019

42406728

2005

GMC

Envoy (one veh.)

52107894

52107894

2002

GMC

Envoy XL

22444690

22456735

26100027

26138634

2003

GMC

Envoy XL

32100024

32191834

36100016

36246793

2004

GMC

Envoy XL

46100128

46203415

2004

GMC

Envoy XUV

46100036

46203492

1999

GMC

Jimmy

X2500364

X2954962

XK515850

XK519678

2000

GMC

Jimmy

Y2100296

Y2407220

(one veh.)

YK114314

YK114314

2001

GMC

Jimmy

12100007

12230214

2003

GMC

Savana

31100061

31237175

2004

GMC

Savana

41100011

41243440

1999

GMC

Sierra (one veh.)

XR510712

XR510712

2001

GMC

Sierra

11100011

11406664

1E100014

1E346640

1F100092

1F213879

1Z100108

1Z332974

2002

GMC

Sierra

21100002

21430453

2E100008

2E305419

2F100008

2F250446

2Z100018

2Z339882

2003

GMC

Sierra

31100004

31412601

3E100016

3E380899

3F100020

3F258856

3Z100097

3Z356751

2004

GMC

Sierra

41100016

41346127

4E100020

4E310600

4F100020

4F247159

4Z100415

4Z292474

2005

GMC

Sierra

51201529

51304087

(one veh.)

5E126223

5E126223

2006

GMC

Sierra (one veh.)

61228271

61228271

(one veh.)

6Z163327

6Z163327

1999

GMC

Suburban (one veh.)

XG522406

XG522406

XJ728954

XJ746048

1999

GMC

Yukon

XJ726191

XJ728596

XR904135

XR921503

2000

GMC

Yukon

YJ100146

YJ211853

2001

GMC

Yukon

1J100033

1J318121

1R112123

1R228105

2002

GMC

Yukon

2J100008

2J344442

2R109202

2R330507

2003

GMC

Yukon

3J100037

3J346265

3R100019

3R319568

2004

GMC

Yukon

4J100004

4J333312

4R100045

4R272235

2005

GMC

Yukon (one veh.)

5J106336

5J106336

2000

GMC

Yukon Denali

YR100023

YR231353

2000

GMC

Yukon XL

YG100098

YG229656

YJ100257

YJ192830

2001

GMC

Yukon XL

1G100011

1G289610

1J100026

1J318054

2002

GMC

Yukon XL

2G100127

2G363676

2J100015

2J343529

2R241281

2R325599

2003

GMC

Yukon XL

3G102750

3G348106

3J100014

3J346215

3R107432

3R318155

2004

GMC

Yukon XL

4G100087

4G261465

4J100014

4J307122

4R100004

4R269878

2005

GMC

Yukon XL (one veh.)

5J234475

5J234475

2003

HUMMER

H2

3H100022

3H149489

2004

HUMMER

H2

4H100008

4H122146

2005

HUMMER

H2

5H100062

5H132149

2002

Oldsmobile

Alero

2C100001

2C100014

2001

Oldsmobile

Aurora

14117746

14298830

2002

Oldsmobile

Aurora

24100004

24245280

2003

Oldsmobile

Aurora

34100017

34181104

1999

Oldsmobile

Bravada

X2700548

X2725581

2000

Oldsmobile

Bravada

Y2100652

Y2404379

2001

Oldsmobile

Bravada

12100010

12225890

2002

Oldsmobile

Bravada

22100130

22525166

2003

Oldsmobile

Bravada

32100060

32406885

2004

Oldsmobile

Bravada

42100047

42300631

2000

Oldsmobile

Intrigue

YF113400

YF299948

2001

Oldsmobile

Intrigue

1F100001

1F261351

2002

Oldsmobile

Intrigue

2F100003

2F281147

1998

Oldsmobile

Silhouette (one veh.)

WD155664

WD155664

2000

Oldsmobile

Silhouette

YD100038

YD366017

2001

Oldsmobile

Silhouette

1D100005

1D339812

2002

Oldsmobile

Silhouette

2D100013

2D324791

2003

Oldsmobile

Silhouette

3D100012

3D325190

2004

Oldsmobile

Silhouette

4D100017

4D228713

2001

Pontiac

Aztek

1S500033

1S549778

2002

Pontiac

Aztek

2S500247

2S608230

2003

Pontiac

Aztek

3S500001

3S607974

2004

Pontiac

Aztek

4S500053

4S577424

2000

Pontiac

Bonneville

Y4141828

Y4297222

2001

Pontiac

Bonneville

14108287

14298882

2002

Pontiac

Bonneville

24100001

24245005

2003

Pontiac

Bonneville

34100028

34204237

2004

Pontiac

Bonneville

4U129908

4U264070

2005

Pontiac

Bonneville (one veh.)

5U158920

5U158920

2005

Pontiac

G6

54107119

54182198

2002

Pontiac

Grand Am

2C100022

2C100023

2000

Pontiac

Grand Prix

YF105614

YF346195

2001

Pontiac

Grand Prix

1F100004

1F275013

2002

Pontiac

Grand Prix

2F100019

2F293209

2003

Pontiac

Grand Prix

3F100002

3F173441

2004

Pontiac

Grand Prix

41100003

41376433

2006

Pontiac

Grand Prix

61215647

61220433

2000

Pontiac

Montana

YD152400

YD366371

2001

Pontiac

Montana

1D100007

1D340338

2002

Pontiac

Montana

2D100010

2D324798

2003

Pontiac

Montana

3D100017

3D326451

2004

Pontiac

Montana

4D100038

4D272131

2005

Pontiac

Montana

5D100091

5D151142

2005

Pontiac

Pursuit

54107126

54140686

57500187

57663478

2003

Pontiac

Sunfire

37100001

37387599

2004

Pontiac

Sunfire

47100015

47363169

2005

Pontiac

Sunfire

5S100391

5S222692

1998

Pontiac

Trans Sport (one veh.)

WD274963

WD274963

1999

Pontiac

Trans Sport (one veh.)

XD271871

XD271871

2000

Saab

3-Sep

Y2000112

Y2042983

Y7000023

Y7017513

2001

Saab

3-Sep

12000012

12060139

17000032

17019979

2002

Saab

3-Sep

22000032

22043378

27000021

27018113

2003

Saab

3-Sep

31002952

31064195

37000038

37014945

2004

Saab

3-Sep

41000002

41065042

46000027

46020556

2005

Saab

3-Sep

51000014

51049113

56000002

56012726

2000

Saab

5-Sep

Y3000158

Y3078604

2001

Saab

5-Sep

13000121

13060681

2002

Saab

5-Sep

23000163

23058726

2003

Saab

5-Sep

33000079

33045379

2004

Saab

5-Sep

43000176

43519183

2006

Saab

9-7X (one veh.)

62802171

62802171

2003

Saturn

ION

3Z100103

3Z206761

2004

Saturn

ION

4Z100020

4Z231135

2002

Saturn

LS

2Y500005

2Y500039

2003

Saturn

LS

3Y500035

3Y581208

2004

Saturn

LS

4Y500026

4Y520553

2002

Saturn

LW

2Y500006

2Y500022

2003

Saturn

LW

3Y500004

3Y579129

2004

Saturn

LW

4Y500045

4Y521015

2002

Saturn

VUE

2S800061

2S837901

2003

Saturn

VUE

3S800005

3S912678

2004

Saturn

VUE

4S800010

4S896977

2006

Saturn

VUE

6S824816

6S841536

Parts Information

GM, Saturn Canada Only: No parts are required for the special coverage.

Saab Canada Only: Parts required to complete this recall are to be obtained from General Motors Service and Parts Operations (GMSPO). Please refer to your "involved vehicles listing" before ordering parts. Normal orders should be placed on a DRO = Daily Replenishment Order. In an emergency situation, parts should be ordered on a CSO = Customer Special Order.

PARTS INFORMATION -- Saab US Only

A pre-shipment of the required parts to perform this recall has been sent to involved Saab US dealers from Saab Parts Distribution Center (PDC).

Part Number

Description

Qty

12 783 577

Optic Cable (M03 Only)

1

11 900 513

Cable Tie

9-3 (9400): 3

9-3 M03 (9440): 15

9-3 M04-05 (9440): 4

9-5: 3

11 900 515

Cable Tie (M04-05 Only)

1

Customer Notification

General Motors will notify customers of this special coverage on their vehicles (see copy of typical customer letter included with this bulletin - actual divisional letter may vary slightly).

Service Procedure

2001 and Older Model Year Vehicles (Except Saab Vehicles)

Important: 2001 and older model year vehicles require the removal of the battery power from the OnStar® vehicle interface unit (VIU) to eliminate the possibility of an inadvertent OnStar® or emergency/airbag call.

 

  1. Locate and gain access to the OnStar® VIU. Refer to OnStar Vehicle Interface Unit Replacement in SI.
  2. Important: Complete removal of the VIU is usually not required. Perform only the steps required to gain access to the C2 32-way blue connector. Residing in the C2 connecter are the battery positive (+) circuits. Removal of the C2 connector will deactivate the unit and eliminate the possibility of an inadvertent OnStar® or emergency/airbag call.

  3. Disconnect the C2 32-way blue connector from the VIU and tape the connector to a secure location. Refer to Cellular Communications Connector End Views and related schematics in SI, if required.
  4. Important: DO NOT perform the OnStar® reconfiguration and/or programming procedure.

  5. Secure the VIU in its original brackets and/or mounting locations and reinstall the VIU and interior components that were removed to gain access to the VIU. Refer to OnStar Vehicle Interface Unit Replacement in SI.

2002 through 2006 Model Year Vehicles (Except Saab Vehicles)

Important: The Tech 2 diagnostic tool must be updated with version 28.002 or later in order to successfully perform the VCIM setup procedure and disable the analog system.

 

  1. Connect the Tech 2 to the data link connector (DLC), which is located under the instrument panel of the vehicle.
  2. Turn the Tech 2 ON by pressing the power button.
  3. Important: Tech 2 screen navigation to get to the setup procedure depends on the year and make of the vehicle. The actual name of the setup procedure (Setup New OnStar or VCIM Setup) depends on model year and vehicle make as well. Example Tech 2 navigation to the setup procedure Tech 2 screen is provided below.

    • Diagnostics » (2) 2002 » Passenger Car » Body » C » OnStar » Special Functions » Setup New OnStar »
    • Diagnostics » (5) 2005 » Passenger Car » (4) Buick » C » Body » Vehicle Comm. Interface Module » Module Setup » VCIM Setup »
  4. Setup VCIM using the Tech 2. Follow on-screen instructions when you have reached the setup Tech 2 screen.

2000-2002 Saab 9-3 (9400) 4D/5D; 2000-2003 Saab 9-3 (9400) CV

  1. Remove the ground cable from the battery’s negative terminal.
  2. Apply the handbrake brake.
  3. Detach the floor console.

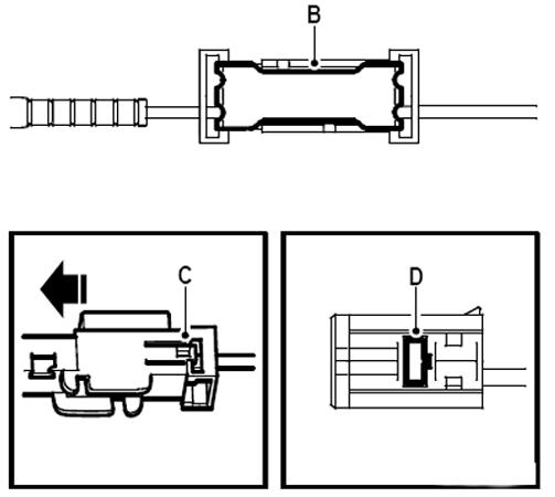
  4. Object Number: 2171664  Size: SH
    3.1. Twist loose the immobilizer unit (A), bayonet fitting. Unplug the unit’s connector.
    3.2. Remove the ignition switch cover (B) by first undoing the rear edge of the cover and then unhooking the front edge. Unplug the ignition switch lighting connector.
    3.3. Undo the floor console’s retaining bolts (C).
    3.4. Take out the rear ashtray/cover (D).
    3.5. Remove the screw (E) for the rear cover.
    3.6. Remove the floor console’s retaining nuts (E).
    3.7. Detach the floor console (G) by pulling it straight back and lifting it slightly.
    3.8. If required, detach the switch for the rear seat heater and unplug the connector.
  5. Remove the switch and the floor console:

  6. Object Number: 2171666  Size: SH
    4.1. Detach the window lift module (A) by loosening it in the front edge (snap fastener). Unplug the window lift module’s connector.
    4.2. Detach the switch for the roof lighting (B) and unplug its connector. Lift away the floor console.
  7. Pry out the signal line from the SRS control module to the OnStar® control module and secure it:

  8. Object Number: 2171668  Size: SH
    5.1. Unplug the SRS control module’s connector (A).

    Object Number: 2171670  Size: SH
    5.2. Cut off the cable tie (B), detach the connector’s rear end face (C) and pull out the connecting rail (D).

    Object Number: 2171672  Size: SH
    5.3. Remove pin 39, cut off the cable terminal and insulate the end with tape (E). Fold back the cable and secure it with tape (F).
    5.4. Fit the connecting rail and end face.
    5.5. Plug in the connector (A) and secure the cables with cable ties (B).
  9. Install the floor console over the handbrake. Do not press the console down into place, but instead allow it to fit loosely.
  10. Install the switch:

  11. Object Number: 2171666  Size: SH
    7.1. Install the switch for the roof lighting (B) and plug in its connector.
    7.2. Guide the connectors for the window lift module and rear seat heater, if equipped, through the hole for each respective unit. Plug in the window lift module’s connector and install the module (A).
    7.3. If equipped, connect the rear seat heater’s connector and install the switch.
  12. Install the floor console:

  13. Object Number: 2171664  Size: SH
    8.1. Install the floor console’s retaining bolts (C) and retaining nuts (F).
    8.2. Align the rear cover; make sure that the air duct connects firmly to the air nozzle. Screw in the cover (E).
    8.3. Install the ashtray/cover (D).
    8.4. Install the ignition switch cover (B).
    8.5. Plug in the immobilizer unit (A) connector. Install the unit, bayonet fitting.
  14. Remove the OnStar® control modules and secure the wiring:
  15. 9.1. Remove the right-hand rear luggage compartment trim in accordance with WIS - 8. Body - Interior equipment - Adjustment/Replacement.

    Object Number: 2171674  Size: SH
    9.2. Unplug the connectors (A) from the OnStar® control modules.
    9.3. Remove the console (B) together with the OnStar® control modules.

    Object Number: 2171676  Size: SH

            Important: Secure the wiring harness so that there is no risk of chafing and rattling.

    9.4. Fold back the wiring harness and tape over the connectors (C). Fold back the wiring harness once more and secure with cable ties (D).
    9.5. Install the right-hand rear luggage compartment in accordance with WIS - 8. Body - Interior equipment - Adjustment/Replacement.
  16. Install the ground cable to the battery’s negative terminal.
  17. Clear the diagnostic trouble codes.
  18. Set the date and time, see WIS - 3. Electrical system - Information display (SID_ - Technical description.

2003-2005 Saab 9-3 (9440) 4D/5D; 2004-2005 Saab 9-3 (9440) CV

    Notice: Handle the fiber optic cables with care or the signal may be distorted.

       • It is very important that the two leads in the connector are not confused with one another.
       • Do not splice the cables.
       • Do not bend the cable in a radius smaller than 25 mm (1 in).
       • Do not expose the cable to temperatures exceeding 185°F (85°C).
       • Keep the cable ends free from dirt and grime.
       • Do not expose the cable to impact as this may cause the transparent plastic to whiten, thereby reducing the intensity of the light and causing possible communication interruptions.
       • The cable should not lie against any sharp edges as this may cause increased signal attenuation.

  1. Remove the ECU CU with a Tech 2® according to the following: Fault diagnosis - Select model year - Select Saab 9-3 Sport (9440) - All - Add/Remove - Control Module - CU/PU - Remove.
  2. Remove the ground cable from the battery’s negative terminal.
  3. Remove the floor console in accordance with WIS - 8. Body - Interior equipment - Adjustment/Replacement.
  4. Pry out the signal line from the SRS control module to the OnStar® control module and secure it:

  5. Object Number: 2171318  Size: SH
    4.1. Unplug the SRS control module’s connector (A).

    Object Number: 2171321  Size: SH
    4.2. Cut off the cable tie (B), detach the connector’s rear end face (C), and pull out the connecting rail (D).

    Object Number: 2171323  Size: SH
    4.3. Extract pin 15, cut off the cable terminal and insulate the end with tape (E). Fold back the cable and secure it with tape (F).
    4.4. Fit the connecting rail and end face.
    4.5. Plug in the connector (A) and secure the cables with cable ties (B).
  6. Remove the parcel shelf trim in accordance with WIS - 8. Body - Interior equipment - Adjustment/Replacement.
  7. M03: Replace the optic cable on the right-hand side
  8.         Important: Secure the wiring harness so that there is no risk of chafing or rattling.

    6.1. Remove the passenger seat in accordance with WIS 8. Body - Seats - Adjustment/Replacement.
    6.2. Remove the right-hand B-pillar trim in accordance with WIS - 8. Body - Interior equipment - Adjustment/Replacement.
    6.3. Remove the right-hand C pillar trim in accordance with WIS - 8. Body - Interior equipment - Adjustment/Replacement.
    6.4. Fold the rear seat backrest forward.
    6.5. Remove the right-hand side bolster in accordance with WIS - 8. Body - Seats - Adjustment/Replacement.
    6.6. Remove the A-pillar’s lower side piece.
    6.7. Open the cover on the right-hand wiring harness channels.

    Object Number: 2171329  Size: SH
    6.8. Loosen the locking strip (A) on the 2-pin connector (H2-11) for the optic cable, located by the right-hand A-pillar.
    6.9. Loosen the catch (B) and remove the optic cable that runs backward in the car.
    6.10. Dismantle the end cap from the new optic cable (12 783 577) and connect it to the connector H2-11. Push in the optic cable and make sure the catch (B) locks and refit the locking strip (A).

    Object Number: 2171332  Size: SH
    6.11. Secure the connector and the old optic cable using the cable tie for the existing wiring harness (C).

    Object Number: 2171334  Size: SH

            Important: The optic cable must not be bent with a radius less than 25 mm (1 in).

    6.12. Place the optic cable in the wiring harness channels on the right-hand side. Thread through the existing cable ties (C) if possible, otherwise, secure with a cable tie to the existing one. Close the cover on the channels. Ensure the catches lock.
    6.13. Secure the optic cable along the right-hand rear wheel housing, next to the ordinary wiring harness’ securing points and by the SRS unit (D).
    6.14. Thread the optic cable up next to the safety belt by the old optic cable and place on the parcel shelf.

    Object Number: 2171335  Size: SH
    6.15. Unplug the connectors (E) from the OnStar® control modules.
    6.16. Remove the console (F) together with the OnStar® control modules.

    Object Number: 2171337  Size: SH

            Important: The optic cable must not be bent with a radius less than 25 mm (1 in).

    6.17. Fold back the wiring harness and tape over the connectors (G). Fold back the wiring harness once more and secure with cable ties (H).

    Object Number: 2171339  Size: SH
    6.18. Secure the new optic cable on the parcel shelf along the existing wiring harness by the ordinary securing points and by the speaker (I).
    6.19. Thread the optic cable down next to the old cable from the parcel shelf to the left-hand wheel housing, next to REC. The cable is secured in the existing clips.
    6.20. Fit the right-hand C-pillar trim in accordance with WIS - 8. Body - Interior equipment - Adjustment/Replacement.
    6.21. Fit the parcel shelf trim in accordance with WIS - 8. Body - Interior equipment - Adjustment/Replacement.
    6.22. Fit the passenger seat in accordance with WIS - 8. Body - Seats - Adjustment/Replacement.
    6.23. Fit the right-hand side bolster in accordance with WIS - 8. Body - Seats - Adjustment/Replacement.
    6.24. Fold up the rear seat backrest.
    6.25. Fit the right-hand B-pillar trim in accordance with WIS - 8. Body - Interior equipment - Adjustment/Replacement.
    6.26. Fit the A-pillar’s lower side piece.
  9. M04-05, 4D: Removing the OnStar® control modules and securing the wiring:

  10. Object Number: 2171340  Size: SH
    7.1. Remove the console (A) together with the OnStar® control modules.
    7.2. Remove the connectors (B).

    Object Number: 2171341  Size: SH

            Important: The optic cable must not be bent with a radius less than 25 mm (1 in).

            Important: Secure the wiring harness so that there is no risk of chafing and rattling.

    7.3. Fold back the wiring harness and tape over the connectors (C). Fold back the wiring harness once more and secure with cable ties (D).
    7.4. Fit the parcel shelf trim in accordance with WIS - 8. Body - Interior equipment - Adjustment/Replacement.
  11. CV: Removing the OnStar® control modules and securing the wiring:
  12. 8.1. Open the luggage compartment floor.

    Object Number: 2171344  Size: SH
    8.2. Remove the console (A) together with the OnStar® control modules.

    Object Number: 2171345  Size: SH
    8.3. Remove the connectors (B).

    Object Number: 2171341  Size: SH

            Important: The optic cable must not be bent with a radius less than 25 mm (1 in).

            Important: Secure the wiring harness so that there is no risk of chafing and rattling.

    8.4. Fold back the wiring harness and tape over the connectors (C). Fold back the wiring harness once more and secure with cable ties (D).
    8.5. Close the luggage compartment floor.
  13. Fold down the left-hand rear side hatch in the luggage compartment.
  14. M03: Replace the optic cable on the left-hand rear side:

  15. Object Number: 2171348  Size: SH
    10.1. Place the optic cable so that it is positioned behind the terminal housing on top of REC (A).

    Object Number: 2171350  Size: SH
    10.2. Remove the locking strip (B) on the 2-pin connector (H2-9) for the optic cable.
    10.3. Open the terminal housing (C) with a screwdriver. Remove the secondary catch (D) on the connector and disconnect the optic cable coming from the OnStar® control modules.

    Object Number: 2171352  Size: SH
    10.4. Remove the end cap from the new optic cable, connect to the connector and refit the secondary catch (D). Fit the terminal housing (C) to the connector and refit the locking strip (B).

    Object Number: 2171353  Size: SH
    10.5. Secure the old optic cable together with the new one (E).

    Important: The optic cable must not be bent with a radius less than 25 mm (1 in).

    Important: Secure the wiring harness so that there is no risk of chafing and rattling.

  16. CV: Remove the left-hand, rear side hatch trim in accordance with WIS - 8. Body - Interior equipment - Adjustment/Replacement
  17. M04-05: Disconnect the optic cables on the OnStar® control modules and join the cables:
  18. 12.1. Cut off the cable tie holding the connector (H2-9) against REC.

    Object Number: 2171357  Size: SH
    12.2. Cars with brackets for e.g. an amplifier: Remove the pin strap (A) from the bracket and remove the tape (B) holding the optic cables.

    Object Number: 2171363  Size: SH
    12.3. Remove the locking strip (C) on the 2-pin connector (H2-9). Open the terminal housing with a screwdriver. Remove the secondary catch (E) on the connector and remove the optic cables coming from the OnStar® control modules.

    Object Number: 2171366  Size: SH
    12.4. Loosen one of the optic cables remaining in H2-9 (F), connect it to the connector and fit the secondary catch (E). Connect the connector so that the optic cables are opposite each other (G). Connect the terminal housing (D) and refit the locking strip (C).

    Object Number: 2171368  Size: SH

            Important: The optic cable must not be bent with a radius less than 25 mm (1 in).

    12.5. Cars with brackets for e.g. an amplifier: Fit the cable tie (11 900 515) to the wiring harness approx. 100 mm (4 in) from H2-9, fit the cable tie (H) to the bracket. Gather the optic cable in a gentle loop (I) and then place the loop behind the bracket.

    Object Number: 2171370  Size: SH

            Important: The optic cable must not be bent with a radius less than 25 mm (1 in).

    12.6. Cars without brackets for e.g. an amplifier: Gather the optic cable in a gentle loop (J) and secure with cable tie.
  19. CV: Fit the left-hand, rear side hatch trim in accordance with WIS - 8. Body - Interior equipment - Adjustment/Replacement.
  20. Fit the ground cable to the battery’s negative terminal.
  21. Carry out procedures after disconnecting the battery, see WIS - 3. Electrical System - Charging system - Adjustment/Replacement.
  22. Important: Follow Tech 2® on-screen instructions.

  23. Add ECU ICM, choose without OnStar®. See WIS-General-Tech 2® - Description and Operation - Add/Remove.

2000-2004 Saab 9-5

  1. Remove the ground cable from the battery’s negative cable.
  2. Remove the center console, see WIS - Body - Interior.

  3. Object Number: 2171626  Size: SH
  4. Loosen the gear shift housing (A).
  5. AUT: Disconnect the 6-pin connector (B) to improve access to the gear shift housing screws.

  6. Disconnect the signal cable from the SRS control module to the OnStar® control module and secure the cable.

  7. Object Number: 2171627  Size: SH
    4.1. Disconnect the connector (A) from the SRS control module and cut the cable tie (B).

    Object Number: 2171628  Size: SH
    4.2. Release the back end of the connector (C) and remove from the contact rail (D).

    Object Number: 2171629  Size: SH
    4.3. M00-01: Disconnect pin 39, cut off the cable terminal and insulate the end using tape (E). Fold back the cable and secure using tape (F).
    4.4. M02-04: Disconnect pin 58, cut off the cable terminal and insulate the end using tape (E). Fold back the cable and secure using tape (F).
    4.5. Assemble the contact rail and end.
    4.6. Connect connector (A) and secure the cable using a cable tie (B)..

    Object Number: 2171631  Size: SH
  8. Assemble the gear shift housing (A).
  9. AUT: Connect connector (B).

  10. Assemble the center console, see WIS - Body - Interior.
  11. Remove the OnStar® control module and secure the cable harness:
  12. 7.1. 5D: Remove the right-hand cover from the luggage compartment floor.

    Object Number: 2171632  Size: SH
    7.2. Remove the console (A).

    Object Number: 2171634  Size: SH
    7.3. Disconnect the connector (B) from the OnStar® control module.

    Object Number: 2171635  Size: SH

            Important: Secure the cable harness to prevent the risk of scraping and rattling.

    7.4. Fold back the cable harness and tape down the connector (C). Fold back the cable harness again and secure with cable ties (D).
    7.5. 5D: Assemble the right-hand cover for the luggage compartment floor.
  13. Fit the ground cable on the battery’s negative cable.
  14. Erase the diagnostic trouble codes.
  15. Set the date and time, see WIS - 3. Electrical system - Information display (SID) - Technical description.

Claim Information - GM, Saturn Canada and Saab Canada Only

For vehicles serviced under the terms of this special coverage, submit a claim with the information indicated below:

Repair Performed

Part Count

Part No.

Parts Allow

CC-FC

Labor Op

Labor Hours

Net Item

Deactivate OnStar® System with Tech 2® 2002-2006 Vehicles

N/A

N/A

N/A

MK-95

T5710

0.3

N/A

Deactivate OnStar® System by Connector Removal

N/A

N/A

N/A

MK-95

T5711

 

N/A

2000-2001 Buick LeSabre

1997-1999 Cadillac Seville, Deville

1998-1999 Cadillac Eldorado, STS

1998-2000 Chevrolet Monte Carlo

1999-2000 Chevrolet Lumina

1999-2001 Chevrolet Venture

2000-2001 Chevrolet Impala

1998 Oldsmobile Silhouette

2000-2001 Oldsmobile Silhouette

2001 Oldsmobile Aurora

1998-1999 Pontiac Trans Sport

2000-2001 Pontiac Grand Prix, Montana

 

 

 

 

 

0.3

N/A

1999-2001 Buick Regal, Park Avenue

1999-2000 Buick Century

2000-2001 Cadillac Deville

1998-2001 Cadillac Catera

2000-2001 Oldsmobile Intrigue

2001 Pontiac Aztek

 

 

 

 

 

0.4

N/A

2000-2001 Cadillac Seville, Eldorado, STS

2000-2001 Pontiac Bonneville

 

 

 

 

 

0.5

N/A

1999-2000 Cadillac Escalade

2001 Chevrolet Monte Carlo

1999-2001 Chevrolet Blazer

1999-2001 GMC Jimmy

2000 GMC Yukon Denali

1999-2001 Oldsmobile Bravada

 

 

 

 

 

0.6

N/A

2001 Buick Century

2000-2002 Saab 9-3 4D/5D

2000-2003 Saab 9-3 CV

2004-2005 Saab 9-3 4D

 

 

 

 

 

0.7

N/A

1998-2001 Chevrolet Suburban

1999-2001 Chevrolet Tahoe

2000-2001 Chevrolet Silverado

1999 GMC Sierra, Suburban

1999-2001 GMC Yukon

2000-2001 GMC Yukon XL

2001 GMC Sierra

2004-2005 Saab 9-3 CV

 

 

 

 

 

0.8

N/A

Customer Reimbursement (Canadian & Export Dealers/US CAC)

N/A

N/A

N/A

MA-96

T5713

0.2

*

* The amount identified in the "Net Item" column should represent the dollar amount reimbursed.

Claim Information - Saturn US Only

1. To receive credit, submit a claim with the information below:

Repair Performed

Parts Allow.

Sale Type

Case Type

Labor Op.

Labor Hrs.

Deactivate OnStar® System with Tech 2®

N/A

WC

SP

T5710

0.3

2. Submit courtesy transportation as a net item usign the appropriate net item code.

Service Performed

Sale Type

Case Type

Labor Op.

Net Item Amount

Net Item Code

# Days Rental

Customer Reimbursement

WC

VC

T5713

*

R

N/A

* Customer requests for reimbursement of previously paid repairs to repair OnStar® due to this condition.

Customer Reimbursement Claims - Special Attention Required

Customer reimbursement claims must have entered into the "technician comments" field the CSO# (if repair was completed at a Saturn Retail Facility) date, mileage, customer name, and any deductibles and taxes paid by the customer.

Claim Information - Saab US Only

1. To receive credit, submit a claim with the information below:

Labor Op

Repair Performed

Failed Object

Fault/Reason Code

Locatiton Code

Warr Type

Repair/Action Code

Labor Hours

3690001

Deactivate OnStar® by Connector Removal - 2003 9-3 (9440) 4D

36900

00

0

31

05

1.2

3690002

Deactivate OnStar® by Connector Removal - 2000-2002 9-3 (9400) 3D/5D

2004-2005 9-3 (9440) 4D

36900

00

0

31

05

0.7

3690003

Deactivate OnStar® by Connector Removal - 2004-2005 9-3 (9440) CV

36900

00

0

31

05

0.8

3690004

Deactivate OnStar® by Connector Removal - 2000-2004 9-5

36900

00

0

31

05

1.1

36900005

Deactivate OnStar® by Connector Removal - 2000-2003 9-3 (9400) CV

36900

00

0

31

05

0.7

*

Customer Reimbursement*

15916

00

0

31

08

*

* The amount to be reimbursed is entered into sublet.

 

Dear General Motors Customer:

As the owner of a GM vehicle equipped with an OnStar® system that operates in the analog mode, your satisfaction with our product is very important to us.

In November 2002, the U.S. Federal Communications Commission (FCC) ruled that wireless carriers would no longer be required to support the analog wireless network beginning in 2008. As a result, OnStar® is unable to continue service for your vehicle.

Although your analog mode OnStar® hardware can no longer communicate with OnStar®, the hardware is still active. If the OnStar® emergency button is pressed, or in the case of an airbag deployment, or near deployment, you may hear a recording that OnStar® is being contacted. However, since analog service is no longer available, the call will not connect to OnStar®. To end the call, you must press the white phone or white dot button. If the call is not ended, the system will continue to try to connect to OnStar® until the vehicle battery is drained.

What We Have Done: To eliminate the possibility of this condition occurring, General Motors is providing you with the option of having your OnStar® system deactivated at no charge until December 31, 2008 (non-Saab vehicles) or April 30, 2009 (Saab vehicles) .

What You Should Do: Deactivation of the OnStar® system must be performed by a General Motors dealer/retailer. You may want to contact your GM dealer/retailer to find out how long they will need to have your vehicle so that you may schedule the appointment at a time that is convenient for you. Please show this letter to your dealer/retailer as authorization to perform this service, and then put it in your owner manual for future reference.

If you have any questions or need any assistance to better understand this condition, please contact your dealer/retailer.

We are sorry for any inconvenience you may experience; however we have taken this action in the interest of your continued satisfaction with our products.

General Motors Corporation

Enclosure

08089