GM Service Manual Online
For 1990-2009 cars only

SMU - Revised Installed Dimensions For Engine Block Rear Oil Gallery Plug

Subject:Revised Installed Dimensions For Engine Block Rear Oil Gallery Plug

Models:1997-99 Chevrolet Corvette
1998-99 Chevrolet Camaro
1998-99 Pontiac Firebird
1999 Chevrolet and GMC C/K Models (Silverado and Sierra)
with 4.8 L, 5.3 L, 5.7 L or 6.0 L V8 Engine (VINs V, T, G, U -- RPOs LR4, LM7, LS1, LQ4)



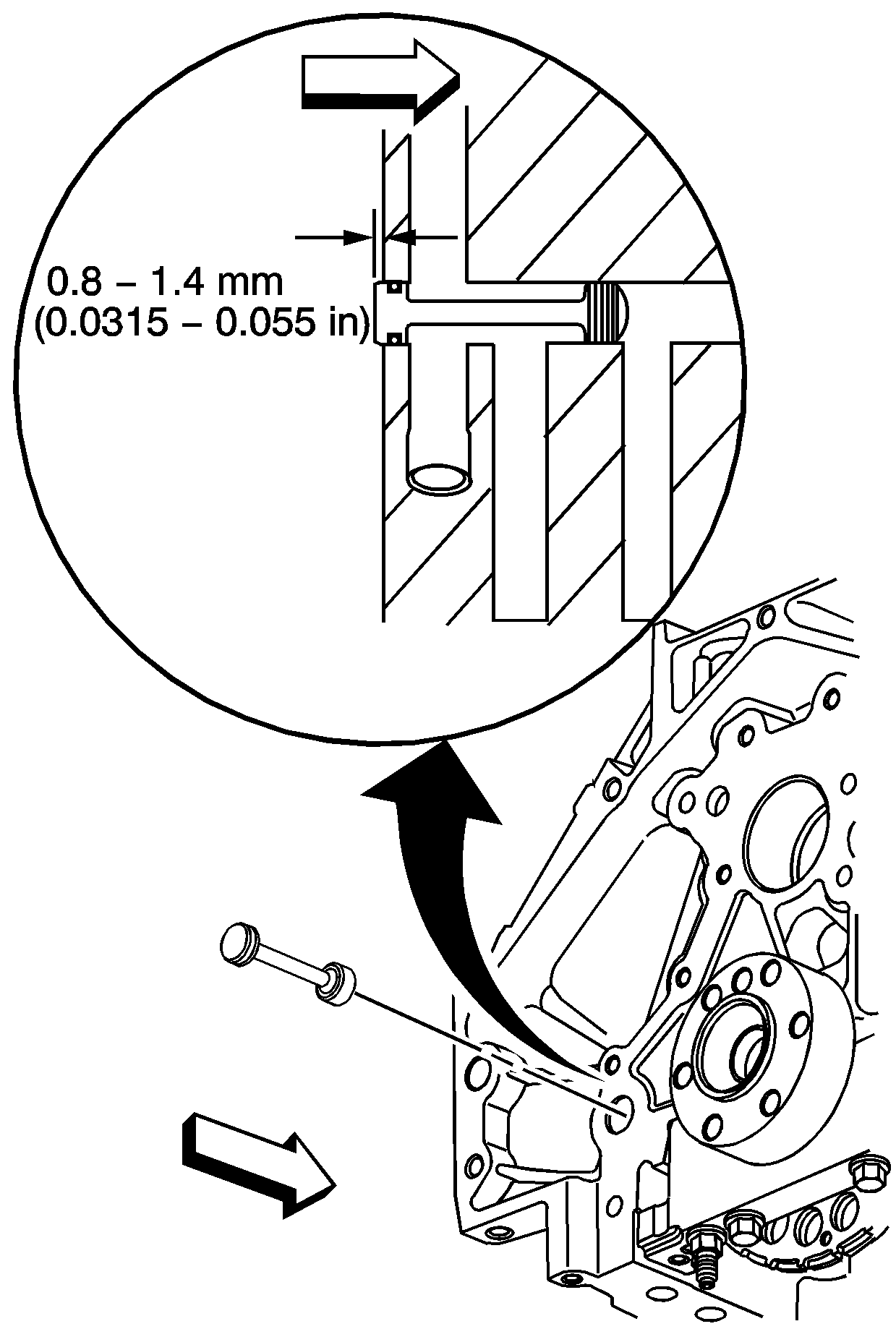
This bulletin revises the installed dimensions for the engine block rear oil gallery plug in the Engine Block Plug Removal, Engine Block Plug Installation, and Engine Rear Cover Installation procedures. This information replaces specifications and figures currently in the Service Manual.


Object Number: 63228  Size: MH

Install the engine block rear oil gallery plug into the oil gallery bore. A properly installed block plug will protrude 0.8-1.4 mm (0.031-0.055 in) beyond the rear face of the block.