GM Service Manual Online
For 1990-2009 cars only

Tools Required

    •  J 24319-01 Universal Steering Linkage Puller
    •  J 29193 Steering Linkage Installer (12 mm)
    •  J 29194 Steering Linkage Installer (14 mm)

Removal Procedure

Notice: Do not attempt to free the ball stud by using a pickle fork or wedge type tool, because seal or bushing damage could result. Use the proper tool to separate all ball joints.

  1. Raise the vehicle. Suitably support the vehicle with jack stands. Refer to Lifting and Jacking the Vehicle in General Information.

  2. Object Number: 340481  Size: SH
  3. Remove the differential carrier shield.
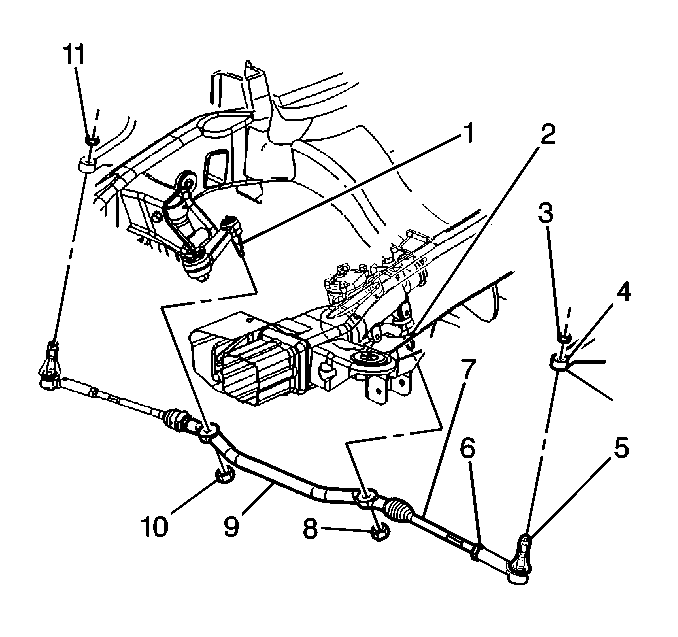
  4. Remove the idler arm ball stud nut (10).
  5. Do not reuse the idler arm ball stud nut.

  6. Remove the idler arm (1) from the relay rod (9) using the J 24319-01 .

  7. Object Number: 340442  Size: SH
  8. Remove the idler arm frame bolts (3) and the nuts (1).
  9. Remove the idler arm (2) from the vehicle.

Installation Procedure


    Object Number: 340442  Size: SH
  1. Position the idler arm (2) on the frame.
  2. Notice: Use the correct fastener in the correct location. Replacement fasteners must be the correct part number for that application. Fasteners requiring replacement or fasteners requiring the use of thread locking compound or sealant are identified in the service procedure. Do not use paints, lubricants, or corrosion inhibitors on fasteners or fastener joint surfaces unless specified. These coatings affect fastener torque and joint clamping force and may damage the fastener. Use the correct tightening sequence and specifications when installing fasteners in order to avoid damage to parts and systems.

  3. Install the frame bolts (3) and the nuts (1) to the idler arm.
  4. Tighten
    Tighten the frame bolts to 99 N·m (73 lb ft).


    Object Number: 340481  Size: SH
  5. Install the relay rod (9) to the idler arm ball stud (1).
  6. Ensure the seal is on the stud.

    Tighten
    Tighten the J 29193 or the J 29194 to 54 N·m (40 lb ft) in order to seat the tapers.

  7. Remove the tool.
  8. Install the new idler arm ball stud prevailing torque nut (10) to the idler arm ball stud (1).
  9. Tighten
    Tighten the nut to 62 N·m (46 lb ft).

  10. Install the differential carrier shield.
  11. Lower the vehicle.
  12. Adjust the front toe. Refer to Wheel Alignment Measurement in Wheel Alignment.