GM Service Manual Online
For 1990-2009 cars only
Figure 1:

Module Power, Ground, Serial Data, and MIL


Object Number: 691491  Size: FS
Master Electrical Component List
Powertrain Control Module Description
Engine Data Sensors - Pressure and Temperature
OBD II Symbol Description Notice
B+ Bus Bar
IGNITION, RUN, and START Bus Bar
IGNITION, RUN, and START Bus Bar
RTD, RDO AMP, CRANK, and IGN 0 Fuses
RTD, RDO AMP, CRANK, and IGN 0 Fuses
Indicators and Serial Data
IGN 1, AIR BAG, and SEO IGN Fuses
IGN 1, AIR BAG, and SEO IGN Fuses
G103 and G105 - Gas
SP205
Figure 2:

Engine Data Sensors - Pressure and Temperature


Object Number: 691493  Size: FS
Master Electrical Component List
Powertrain Control Module Description
Engine Data Sensors - MAF and VSS
Module Power, Ground, Serial Data, and MIL
OBD II Symbol Description Notice
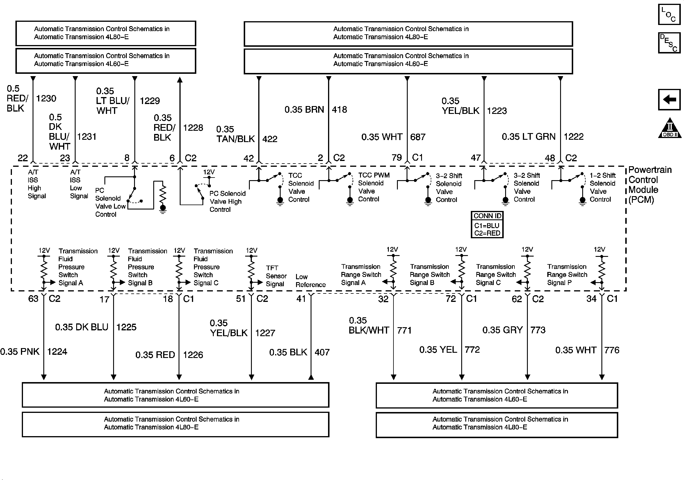
TFT Sensor, Pressure Control Solenoid, and ISS Sensor
TFT Sensor and Pressure Control Solenoid
Figure 3:

Engine Data Sensors - MAF and VSS


Object Number: 691509  Size: FS
Master Electrical Component List
Powertrain Control Module Description
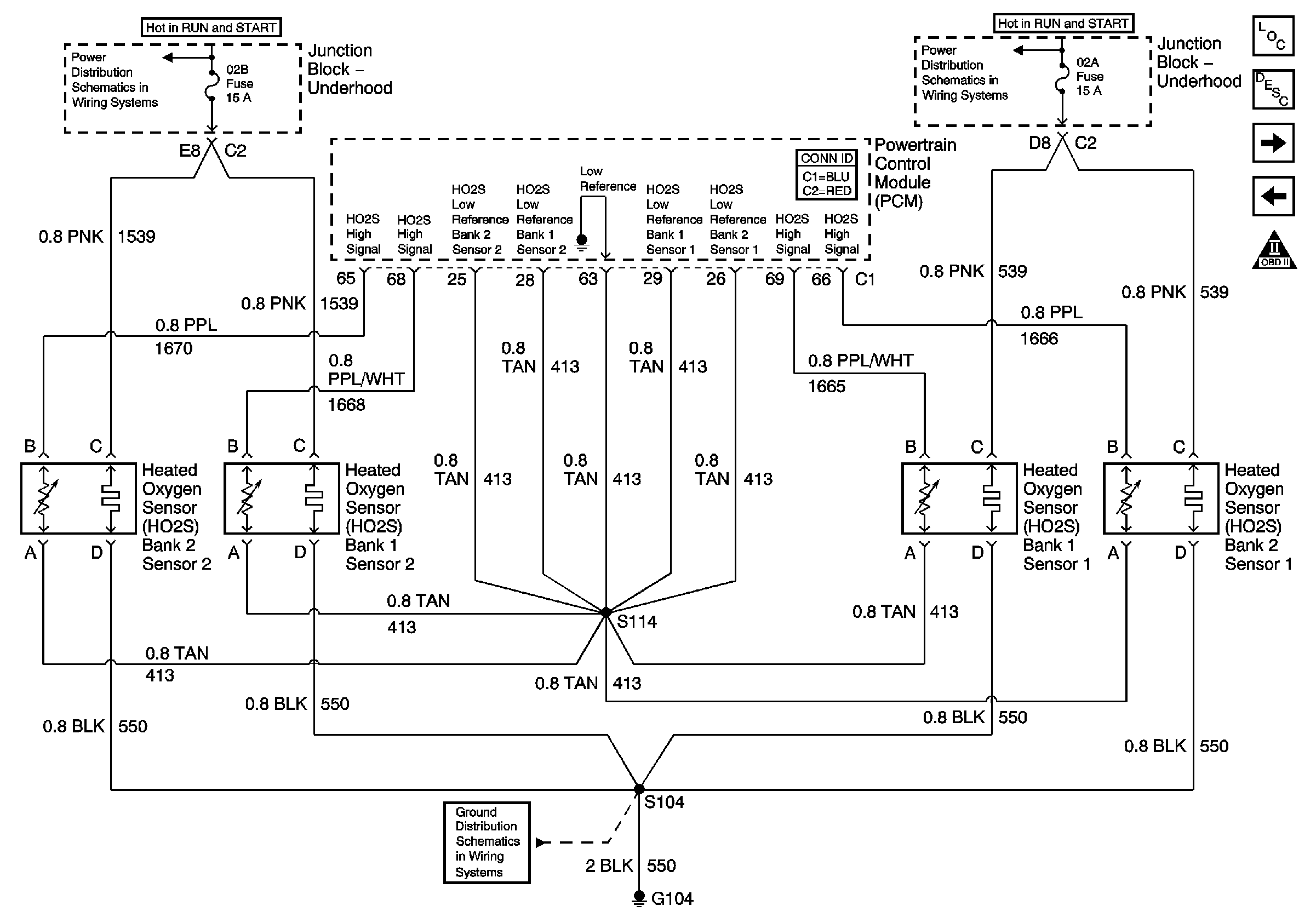
Engine Data Sensors - HO2S 4.8L, 5.3L w/Case Grounded Sensors
Engine Data Sensors - Pressure and Temperature
OBD II Symbol Description Notice
IGNITION, RUN, and START Bus Bar
Gauges, VSS, and Engine Oil Signals
Vehicle Speed Signal and 4WD Low Signal
G103 and G105 - Gas
Figure 4:

Engine Data Sensors - HO2S 4.8L, 5.3L w/Case Grounded Sensors


Object Number: 691505  Size: FS
Master Electrical Component List
Powertrain Control Module Description
Engine Data Sensors - HO2S 4.8L, 5.3L w/Isolated Grounded Sensors
Engine Data Sensors - MAF and VSS
OBD II Symbol Description Notice
IGNITION, RUN, and START Bus Bar
G104 - Gas
Figure 5:

Engine Data Sensors - HO2S 4.8L, 5.3L w/Isolated Grounded Sensors


Object Number: 691510  Size: FS
Master Electrical Component List
Powertrain Control Module Description
Engine Data Sensors - HO2S 6.0L w/Isolated and Case Grounded Sensors
Engine Data Sensors - HO2S 4.8L, 5.3L w/Case Grounded Sensors
OBD II Symbol Description Notice
IGNITION, RUN, and START Bus Bar
IGNITION, RUN, and START Bus Bar
G104 - Gas
Figure 6:

Engine Data Sensors - HO2S 6.0L w/Isolated and Case Grounded Sensors


Object Number: 691515  Size: FS
Master Electrical Component List
Powertrain Control Module Description
Engine Data Sensors - HO2S 6.0L w/Isolated Grounded Sensors
Engine Data Sensors - HO2S 4.8L, 5.3L w/Isolated Grounded Sensors
OBD II Symbol Description Notice
IGNITION, RUN, and START Bus Bar
G104 - Gas
Figure 7:

Engine Data Sensors - HO2S 6.0L w/Isolated Grounded Sensors


Object Number: 691518  Size: FS
Master Electrical Component List
Powertrain Control Module Description
Engine Data Sensors - Electronic Throttle Controls, TAC Motor, and TP Sensor
Engine Data Sensors - HO2S 6.0L w/Isolated and Case Grounded Sensors
OBD II Symbol Description Notice
IGNITION, RUN, and START Bus Bar
G104 - Gas
Figure 8:

Engine Data Sensors - Electronic Throttle Controls, TAC Motor, and TP Sensor


Object Number: 691522  Size: FS
Master Electrical Component List
Powertrain Control Module Description
Engine Data Sensors - Electronic Throttle Controls, Accelerator Pedal Position Sensor
Engine Data Sensors - HO2S 6.0L w/Isolated Grounded Sensors
OBD II Symbol Description Notice
IGN 1 Relay, and ECM 1, ETC, INJA, INJB Fuses - Gas
G103 and G105 - Gas
Figure 9:

Engine Data Sensors - Electronic Throttle Controls, Accelerator Pedal Position Sensor


Object Number: 691524  Size: FS
Master Electrical Component List
Powertrain Control Module Description
Ignition Controls - Ignition System Coils 1, 3, 5, 7
Engine Data Sensors - Electronic Throttle Controls, TAC Motor, and TP Sensor
OBD II Symbol Description Notice
Cruise Control ON/OFF Switch, STOP LPS Fuse, and Accelerator Pedal Position(APP) Sensor
Figure 10:

Ignition Controls - Ignition System Coils 1, 3, 5, 7


Object Number: 691525  Size: FS
Master Electrical Component List
Powertrain Control Module Description
Ignition Controls - Ignition System Coils 2, 4, 6, 8
Engine Data Sensors - Electronic Throttle Controls, Accelerator Pedal Position Sensor
OBD II Symbol Description Notice
IGN 1 Relay, and ECM 1, ETC, INJA, INJB Fuses - Gas
G103 and G105 - Gas
Figure 11:

Ignition Controls - Ignition System Coils 2, 4, 6, 8


Object Number: 691578  Size: FS
Master Electrical Component List
Powertrain Control Module Description
Ignition Controls - Sensors
Ignition Controls - Ignition System Coils 1, 3, 5, 7
OBD II Symbol Description Notice
IGN 1 Relay, and ECM 1, ETC, INJA, INJB Fuses - Gas
G104 - Gas
Figure 12:

Ignition Controls - Sensors


Object Number: 691584  Size: FS
Master Electrical Component List
Powertrain Control Module Description
Fuel Controls - Fuel Pump Controls
Ignition Controls - Ignition System Coils 2, 4, 6, 8
OBD II Symbol Description Notice
Gauges, VSS, and Engine Oil Signals
Figure 13:

Fuel Controls - Fuel Pump Controls


Object Number: 747193  Size: FS
Master Electrical Component List
Powertrain Control Module Description
Fuel Controls - Fuel Injectors
Ignition Controls - Sensors
OBD II Symbol Description Notice
B+ Bus Bar
O2B, O2A, ENG 1, and IGN E Fuses - Gas
O2B, O2A, ENG 1, and IGN E Fuses - Gas
G103 and G105 - Gas
Fuel Gauge and Fuel Pump and Sender Assembly
Figure 14:

Fuel Controls - Fuel Injectors


Object Number: 691633  Size: FS
Master Electrical Component List
Powertrain Control Module Description
Fuel Controls - EVAP Controls
Fuel Controls - Fuel Pump Controls
OBD II Symbol Description Notice
IGN 1 Relay, and ECM 1, ETC, INJA, INJB Fuses - Gas
IGN 1 Relay, and ECM 1, ETC, INJA, INJB Fuses - Gas
Figure 15:

Fuel Controls - EVAP Controls


Object Number: 691697  Size: FS
Master Electrical Component List
Powertrain Control Module Description
Device Controls - EGR and IAC
Fuel Controls - Fuel Injectors
OBD II Symbol Description Notice
IGNITION, RUN, and START Bus Bar
O2B, O2A, ENG 1, and IGN E Fuses - Gas
O2B, O2A, ENG 1, and IGN E Fuses - Gas
Figure 16:

Device Controls - EGR and IAC


Object Number: 691640  Size: FS
Master Electrical Component List
Powertrain Control Module Description
Controlled/Monitored Subsystem References
Fuel Controls - EVAP Controls
OBD II Symbol Description Notice
Figure 17:

Controlled/Monitored Subsystem References


Object Number: 691644  Size: FS
Master Electrical Component List
Powertrain Control Module Description
Transmission Controls - A/T
Device Controls - EGR and IAC
OBD II Symbol Description Notice
A/C Compressor Controls
A/C Compressor Controls
Primary Air Delivery Controls - Recirculation Actuator (Uplevel Pickup and All Utilities)
Cruise Control Module (CCM) and Cruise Control On/Off Switch
Speed Sensor Signals and Traction Control Switch - w/Traction Assist
Charging - Except Diesel Dual Generator
4WD and ATC Fuse, Transfer Case Encoder Motor
Speed Sensor Signals - w/o Traction Assist
Power, Ground, Serial Data - w/o Traction Assist
Power, Ground, Serial Data - w/Traction Assist
Gauges, VSS, and Engine Oil Signals
Engine Cooling Schematics
Figure 18:

Transmission Controls - A/T


Object Number: 691649  Size: FS
Master Electrical Component List
Powertrain Control Module Description
Controlled/Monitored Subsystem References
OBD II Symbol Description Notice
TFT Sensor, Pressure Control Solenoid, and ISS Sensor
TFT Sensor and Pressure Control Solenoid
Brake Switch Signal and Valve Controls
Knock Sensor and Shift Solenoids
TFT Sensor and Pressure Control Solenoid
TFT Sensor, Pressure Control Solenoid, and ISS Sensor
Park/Neutral Position (PNP) Switch
Park/Neutral Position (PNP) Switch