GM Service Manual Online
For 1990-2009 cars only

Fuel Tank Replacement Pickup

Removal Procedure


    Object Number: 300318  Size: SH
  1. Relieve the fuel system pressure. Refer to the Fuel Pressure Relief .
  2. Drain the fuel tank. Refer to Fuel Tank Draining .
  3. Disconnect the fuel fill pipe from the fuel fill pipe housing.
  4. Raise the vehicle. Refer to Lifting and Jacking the Vehicle in General Information.

  5. Object Number: 420291  Size: SH
  6. Disconnect the fuel fill pipe ground strap.

  7. Object Number: 303981  Size: SH
  8. Remove the evaporative emission (EVAP) canister. Refer to Evaporative Emission Canister Replacement .

  9. Object Number: 303903  Size: SH
  10. Disconnect the rear fuel return pipe and the rear fuel feed pipe at the chassis fuel pipes. Refer to Plastic Collar Quick Connect Fitting Service .
  11. Cap the fuel and EVAP pipes in order to prevent possible fuel system contamination.

  12. Object Number: 373155  Size: SH
  13. Disconnect the fuel sender and the fuel pressure sensor electrical connectors.

  14. Object Number: 626413  Size: SH
  15. Remove the fuel tank shield.

  16. Object Number: 300138  Size: SH
  17. With the aid of an assistant, support the fuel tank.
  18. Notice: Do not bend the fuel tank straps. Bending the fuel tank straps may damage the straps.

  19. Remove the fuel tank strap attaching bolts.
  20. Remove the fuel tank straps.
  21. Remove the fuel tank.
  22. Place the fuel tank in a suitable work area.

  23. Object Number: 396067  Size: SH
  24. Remove the fuel feed pipe (4) and the fuel return pipe (5) from the fuel sender (2) and the retaining clips (6).
  25. Remove the EVAP pipe (1) from the fuel sender (2), the fuel tank roll over valve (3), and the retaining clips (6).
  26. Remove the fuel sender assembly from the fuel tank. Refer to Fuel Sender Assembly Replacement .
  27. Remove the fuel fill and vent hose and pipe assembly from the fuel tank.

Installation Procedure

  1. Install the fuel sender assembly to the fuel tank. Refer to Fuel Sender Assembly Replacement .
  2. Notice: Use the correct fastener in the correct location. Replacement fasteners must be the correct part number for that application. Fasteners requiring replacement or fasteners requiring the use of thread locking compound or sealant are identified in the service procedure. Do not use paints, lubricants, or corrosion inhibitors on fasteners or fastener joint surfaces unless specified. These coatings affect fastener torque and joint clamping force and may damage the fastener. Use the correct tightening sequence and specifications when installing fasteners in order to avoid damage to parts and systems.

  3. Install the fuel fill and vent hose and pipe assembly to the fuel tank.
  4. Tighten
    Tighten the hose clamp to 2.5 N·m (22 lb in).


    Object Number: 396067  Size: SH
  5. Connect the EVAP pipe (1) to the fuel sender (2), the fuel tank roll over valve (3), and the retaining clips (6).
  6. Connect the fuel feed pipe (4) and the fuel return pipe (5) to the fuel sender and the retaining clips.

  7. Object Number: 300138  Size: SH
  8. With the aid of an assistant, position and support the fuel tank.
  9. Install the fuel tank straps.
  10. Install the fuel tank strap attaching bolts.
  11. Tighten
    Tighten the bolts to 40 N·m (30 lb ft).


    Object Number: 626414  Size: SH
  12. Install the fuel tank shield to the fuel tank clips.

  13. Object Number: 626413  Size: SH
  14. Install the fuel tank shield to frame bolts.
  15. Tighten
    Tighten the bolts to 18 N·m (13 lb ft).


    Object Number: 373155  Size: SH
  16. Connect the fuel sender and the fuel pressure sensor electrical connectors.

  17. Object Number: 303903  Size: SH
  18. Remove the caps from the fuel and EVAP pipes.
  19. Connect the rear fuel return pipe and the rear fuel feed pipe at the chassis fuel pipes. Refer to Plastic Collar Quick Connect Fitting Service .

  20. Object Number: 303981  Size: SH
  21. Install the EVAP canister. Refer to Evaporative Emission Canister Replacement .

  22. Object Number: 420291  Size: SH
  23. Connect the fuel fill pipe ground strap.
  24. Tighten
    Tighten the fuel fill pipe ground strap bolt to 9 N·m (80 lb in).

  25. Lower the vehicle.

  26. Object Number: 300318  Size: SH
  27. Connect the fuel fill pipe to the fuel fill pipe housing.
  28. Tighten
    Tighten the fuel fill pipe housing screws to 2.3 N·m (20 lb in).

  29. Refill the fuel tank.
  30. Install the fuel filler cap.
  31. Connect the negative battery cable. Refer to Battery Negative Cable Disconnection and Connection in Engine Electrical.
  32. Use the following procedure in order to inspect for leaks:
  33. 20.1. Turn ON the ignition, with the engine OFF, for 2 seconds.
    20.2. Turn OFF the ignition for 10 seconds.
    20.3. Turn ON the ignition, with the engine OFF.
    20.4. Inspect for fuel leaks.
  34. Install the engine sight shield. Refer to Upper Intake Manifold Sight Shield Replacement in Engine Mechanical.

Fuel Tank Replacement Utility Single Tank

Removal Procedure


    Object Number: 569639  Size: SH
  1. Relieve the fuel system pressure. Refer to the Fuel Pressure Relief .
  2. Raise the vehicle. Refer to Lifting and Jacking the Vehicle in General Information.
  3. Drain the fuel tank. Refer to Fuel Tank Draining .
  4. Remove the evaporative emission (EVAP) canister. Refer to Evaporative Emission Canister Replacement .
  5. Disconnect the chassis fuel pipes (2) at the fuel tank pipes (1). Refer to Plastic Collar Quick Connect Fitting Service .
  6. Cap the fuel and EVAP pipes in order to prevent possible fuel system contamination.

  7. Object Number: 625803  Size: SH
  8. Disconnect the EVAP vent pipe at the fuel tank clip (5).

  9. Object Number: 570590  Size: SH
  10. Loosen the vent hose clamp (4).
  11. Disconnect the vent hose from the vent pipe.

  12. Object Number: 570588  Size: SH
  13. With the aid of an assistant, support the fuel tank.
  14. Notice: Do not bend the fuel tank straps. Bending the fuel tank straps may damage the straps.

  15. Remove the fuel tank strap attaching bolts.
  16. Remove the fuel tank straps.
  17. Carefully lower the rear of the fuel tank slightly.
  18. Remove the fuel sender cover on the Suburban only.

  19. Object Number: 373155  Size: SH
  20. Disconnect the fuel sender and the fuel pressure sensor electrical connectors.
  21. Remove the fuel tank.
  22. Place the fuel tank in a suitable work area.

  23. Object Number: 570582  Size: SH
  24. Remove the fuel feed and return pipes (3) from the fuel sender and the retaining clips.
  25. Remove the fuel sender assembly from the fuel tank. Refer to Fuel Sender Assembly Replacement .
  26. Remove the EVAP pipe from the fuel tank roll over valves (2, 4) and the retaining clips (1).
  27. Remove the fuel fill hose and the vent hose from the fuel tank.

Installation Procedure


    Object Number: 570582  Size: SH
  1. Connect the EVAP pipe to the fuel tank roll over valves (2, 4) and the retaining clips (1).
  2. Install the fuel sender assembly to the fuel tank. Refer to Fuel Sender Assembly Replacement .
  3. Connect the fuel feed and return pipes (3) to the fuel sender and the retaining clips.
  4. Notice: Use the correct fastener in the correct location. Replacement fasteners must be the correct part number for that application. Fasteners requiring replacement or fasteners requiring the use of thread locking compound or sealant are identified in the service procedure. Do not use paints, lubricants, or corrosion inhibitors on fasteners or fastener joint surfaces unless specified. These coatings affect fastener torque and joint clamping force and may damage the fastener. Use the correct tightening sequence and specifications when installing fasteners in order to avoid damage to parts and systems.

  5. Install the fuel fill hose and the vent hose to the fuel tank.
  6. Tighten
    Tighten the hose clamps to 2.5 N·m (22 lb in).


    Object Number: 373155  Size: SH
  7. With the aid of an assistant, support and partially raise the fuel tank front end first.
  8. Connect the fuel sender and the fuel pressure sensor electrical connectors.
  9. Install the fuel sender cover on the Suburban only.

  10. Object Number: 570588  Size: SH
  11. Fully raise the fuel tank.
  12. Install the fuel tank straps.
  13. Install the fuel tank strap attaching bolts.
  14. Tighten
    Tighten the bolts to 40 N·m (30 lb ft).


    Object Number: 570590  Size: SH
  15. Connect the fuel fill hose and the vent hose to the pipes.
  16. Tighten

        • Tighten the fuel fill hose clamp (2) to 2.5 N·m (22 lb in).
        • Tighten the vent hose clamp (4) to 2.5 N·m (22 lb in).

    Object Number: 625803  Size: SH
  17. Connect the EVAP vent pipe to the fuel tank clip (5).

  18. Object Number: 569639  Size: SH
  19. Remove the caps from the fuel and EVAP pipes.
  20. Connect the chassis fuel pipes (2) at the fuel tank pipes (1). Refer to Plastic Collar Quick Connect Fitting Service .
  21. Install the EVAP canister. Refer to Evaporative Emission Canister Replacement .
  22. Lower the vehicle.
  23. Refill the fuel tank.
  24. Install the fuel filler cap.
  25. Connect the negative battery cable. Refer to Battery Negative Cable Disconnection and Connection in Engine Electrical.
  26. Use the following procedure in order to inspect for leaks:
  27. 20.1. Turn ON the ignition, with the engine OFF, for 2 seconds.
    20.2. Turn OFF the ignition for 10 seconds.
    20.3. Turn ON the ignition, with the engine OFF.
    20.4. Inspect for fuel leaks.
  28. Install the engine sight shield. Refer to Upper Intake Manifold Sight Shield Replacement in Engine Mechanical.

Fuel Tank Replacement Utility Dual Tank Front

Removal Procedure


    Object Number: 569589  Size: SH
  1. Relieve the fuel system pressure. Refer to Fuel Pressure Relief .
  2. Raise the vehicle. Refer to Lifting and Jacking the Vehicle in General Information.
  3. Drain the fuel tank. Refer to Fuel Tank Draining .
  4. Remove the evaporative emission (EVAP) canister. Refer to Evaporative Emission Canister Replacement .

  5. Object Number: 625803  Size: SH
  6. Disconnect the EVAP vent pipe (3) at the fuel tank clip (5).

  7. Object Number: 569669  Size: SH
  8. Loosen the vent hose clamp (7).
  9. Disconnect the vent hose (6) from the fuel tank.

  10. Object Number: 570570  Size: SH
  11. Disconnect the fuel fill hose (2) from the fuel tank.

  12. Object Number: 570588  Size: SH
  13. With the aid of an assistant, support the fuel tank.
  14. Notice: Do not bend the fuel tank straps. Bending the fuel tank straps may damage the straps.

  15. Remove the fuel tank strap attaching bolts.
  16. Remove the fuel tank straps.
  17. Carefully lower the rear of the fuel tank slightly.
  18. Remove the fuel sender cover on the suburban only.

  19. Object Number: 569633  Size: SH
  20. Disconnect the fuel feed, return, and EVAP pipes (1, 2, 3) at the fuel sender.
  21. Disconnect the fuel sender and the fuel pressure sensor electrical connectors.
  22. Remove the fuel tank.
  23. Place the fuel tank in a suitable work area.

  24. Object Number: 570582  Size: SH
  25. Disconnect the EVAP pipe from the fuel tank roll over valves (2, 4) and the retaining clips (1).
  26. Remove the fuel sender assembly from the fuel tank. Refer to Fuel Sender Assembly Replacement .
  27. Cap the fuel and EVAP pipes in order to prevent possible fuel system contamination.

Installation Procedure


    Object Number: 570582  Size: SH
  1. Connect the EVAP pipe to the fuel tank roll over valves (2, 4) and the retaining clips (1).
  2. Install the fuel sender assembly to the fuel tank. Refer to Fuel Sender Assembly Replacement .

  3. Object Number: 569633  Size: SH
  4. With the aid of an assistant, support and partially raise the fuel tank front end first.
  5. Connect the fuel sender and the fuel pressure sensor electrical connectors.
  6. Connect the fuel feed, return, and EVAP pipes (1, 2, 3) at the fuel sender.
  7. Install the fuel sender cover on the suburban only.

  8. Object Number: 570588  Size: SH
  9. Fully raise the fuel tank.
  10. Install the fuel tank straps.
  11. Notice: Use the correct fastener in the correct location. Replacement fasteners must be the correct part number for that application. Fasteners requiring replacement or fasteners requiring the use of thread locking compound or sealant are identified in the service procedure. Do not use paints, lubricants, or corrosion inhibitors on fasteners or fastener joint surfaces unless specified. These coatings affect fastener torque and joint clamping force and may damage the fastener. Use the correct tightening sequence and specifications when installing fasteners in order to avoid damage to parts and systems.

  12. Install the fuel tank strap attaching bolts.
  13. Tighten
    Tighten the bolts to 40 N·m (30 lb ft).


    Object Number: 569669  Size: SH
  14. Connect the vent hose (6) to the fuel tank.
  15. Tighten
    Tighten the vent hose clamp (7) to 2.5 N·m (22 lb in).


    Object Number: 570570  Size: SH
  16. Connect the fuel fill hose (2) to the fuel tank.
  17. Tighten
    Tighten the fuel fill hose clamp (1) to 2.5 N·m (22 lb in).


    Object Number: 625803  Size: SH
  18. Connect the EVAP vent pipe to the fuel tank clip (5).

  19. Object Number: 569589  Size: SH
  20. Install the EVAP canister. Refer to Evaporative Emission Canister Replacement .
  21. Lower the vehicle.
  22. Refill the fuel tank.
  23. Install the fuel filler cap.
  24. Connect the negative battery cable. Refer to Battery Negative Cable Disconnection and Connection in Engine Electrical.
  25. Use the following procedure in order to inspect for leaks:
  26. 18.1. Turn ON the ignition, with the engine OFF, for 2 seconds.
    18.2. Turn OFF the ignition for 10 seconds.
    18.3. Turn ON the ignition, with the engine OFF.
    18.4. Inspect for fuel leaks.
  27. Install the engine sight shield. Refer to Upper Intake Manifold Sight Shield Replacement in Engine Mechanical.

Fuel Tank Replacement Utility Dual Tank Rear

Removal Procedure

  1. Relieve the fuel system pressure. Refer to the Fuel Pressure Relief .
  2. Lower and remove the under chassis mounted spare tire.
  3. Raise the vehicle. Refer to Lifting and Jacking the Vehicle in General Information.
  4. Remove the rear crossmember that holds the spare tire.
  5. Drain the fuel tank. Refer to Fuel Tank Draining .

  6. Object Number: 626417  Size: SH
  7. Disconnect the rear chassis fuel pipe (2) at the fuel sender (1). Refer to Plastic Collar Quick Connect Fitting Service .
  8. Disconnect the fuel sender electrical connectors.
  9. Disconnect the evaporative emission (EVAP) pipes at the rear tank EVAP pipes (5).
  10. Cap the fuel and EVAP pipes in order to prevent possible fuel system contamination.

  11. Object Number: 561111  Size: SH
  12. Disconnect the fuel fill pipe ground strap.

  13. Object Number: 570577  Size: SH
  14. Loosen the rear tank to front tank fuel fill hose clamp (3).
  15. Disconnect the fuel fill hose (2) from the rear fuel tank.

  16. Object Number: 570586  Size: SH
  17. With the aid of an assistant, support the fuel tank.
  18. Notice: Do not bend the fuel tank straps. Bending the fuel tank straps may damage the straps.

  19. Remove the fuel tank strap attaching bolts.
  20. Remove the fuel tank straps.
  21. Remove the fuel tank.

  22. Object Number: 570577  Size: SH
  23. Place the fuel tank in a suitable work area.
  24. Remove the EVAP pipes from the fuel tank roll over valves (1, 3) and the retaining clips (2).
  25. Remove the fuel sender assembly from the fuel tank. Refer to Fuel Sender Assembly Replacement .
  26. Remove the fuel fill hose from the fuel tank.

Installation Procedure


    Object Number: 570577  Size: SH
  1. Connect the EVAP pipe to the fuel tank roll over valves (1, 3) and the retaining clips (2).
  2. Install the fuel sender assembly to the fuel tank. Refer to Fuel Sender Assembly Replacement .
  3. Notice: Use the correct fastener in the correct location. Replacement fasteners must be the correct part number for that application. Fasteners requiring replacement or fasteners requiring the use of thread locking compound or sealant are identified in the service procedure. Do not use paints, lubricants, or corrosion inhibitors on fasteners or fastener joint surfaces unless specified. These coatings affect fastener torque and joint clamping force and may damage the fastener. Use the correct tightening sequence and specifications when installing fasteners in order to avoid damage to parts and systems.

  4. Install the fuel fill hose to the fuel tank.
  5. Tighten
    Tighten the hose clamp to 2.5 N·m (22 lb in).


    Object Number: 570586  Size: SH
  6. Install the fuel tank.
  7. Install the fuel tank straps.
  8. Install the fuel tank strap attaching bolts.
  9. Tighten
    Tighten the bolts to 40 N·m (30 lb ft).


    Object Number: 570565  Size: SH
  10. Connect the fuel fill hose (2) to the rear fuel tank.
  11. Tighten
    Tighten the fuel fill hose clamp (3) to 2.5 N·m (22 lb in).


    Object Number: 561111  Size: SH
  12. Connect the fuel fill pipe ground strap.
  13. Tighten
    Tighten the fuel fill pipe ground strap bolt to 9 N·m (80 lb in).


    Object Number: 569704  Size: SH
  14. Connect the vent hose (3) to the vent pipe (1).
  15. Tighten
    Tighten the vent hose clamp (2) to 2.5 N·m (22 lb in).


    Object Number: 626417  Size: SH
  16. Remove the caps from the fuel and EVAP pipes.
  17. Connect the EVAP pipes at the rear fuel tank EVAP pipes (5). Refer to Plastic Collar Quick Connect Fitting Service .
  18. Connect the fuel sender electrical connectors.
  19. Connect the rear chassis fuel pipe (2) to the fuel sender (1).
  20. Install the rear crossmember that holds the spare tire.
  21. Lower the vehicle.
  22. Install and raise into position the under chassis mounted spare tire.
  23. Refill the fuel tank.
  24. Install the fuel filler cap.
  25. Connect the negative battery cable. Refer to Battery Negative Cable Disconnection and Connection in Engine Electrical.
  26. Use the following procedure in order to inspect for leaks:
  27. 20.1. Turn ON the ignition, with the engine OFF, for 2 seconds.
    20.2. Turn OFF the ignition for 10 seconds.
    20.3. Turn ON the ignition, with the engine OFF.
    20.4. Inspect for fuel leaks.
  28. Install the engine sight shield. Refer to Upper Intake Manifold Sight Shield Replacement in Engine Mechanical.

Fuel Tank Replacement Cab/Chassis Front

Removal Procedure


    Object Number: 667724  Size: SH
  1. Relieve the fuel system pressure. Refer to the Fuel Pressure Relief .
  2. Raise the vehicle. Refer to Lifting and Jacking the Vehicle in General Information.
  3. Drain the fuel tank. Refer to Fuel Tank Draining .
  4. Remove the fuel tank shield (1).

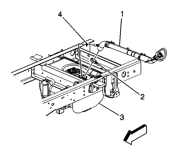
  5. Object Number: 667876  Size: SH
  6. Disconnect the fuel fill and vent pipe (2) from the fuel tank.

  7. Object Number: 667731  Size: SH
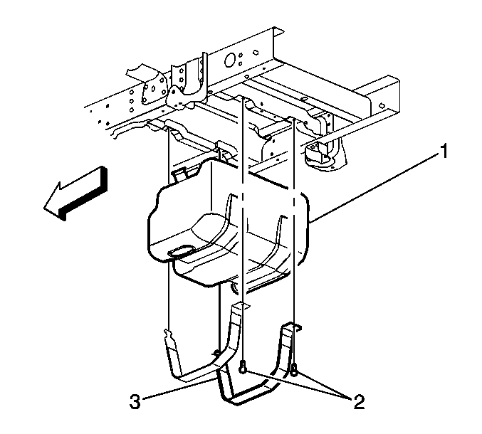
  8. With the aid of an assistant, support the fuel tank.
  9. Notice: Do not bend the fuel tank straps. Bending the fuel tank straps may damage the straps.

  10. Remove the fuel tank strap attaching bolts.
  11. Remove the fuel tank straps (1).
  12. Carefully lower the fuel tank slightly.
  13. Disconnect the fuel and evaporative emission (EVAP) pipes. Refer to Metal Collar Quick Connect Fitting Service .
  14. Disconnect the fuel sender and the fuel pressure sensor harness connectors.
  15. Remove the fuel tank.
  16. Place the fuel tank in a suitable work area.
  17. Remove the fuel sender assembly from the fuel tank. Refer to Fuel Sender Assembly Replacement .
  18. Cap the fuel and EVAP pipes on the vehicle in order to prevent possible fuel system contamination.

Installation Procedure


    Object Number: 667731  Size: SH
  1. Install the fuel sender assembly to the fuel tank. Refer to Fuel Sender Assembly Replacement .
  2. Remove the caps from the fuel and EVAP pipes.
  3. With the aid of an assistant, support and partially raise the fuel tank.
  4. Connect the fuel sender and the fuel pressure sensor harness connectors.
  5. Connect the fuel and EVAP pipes. Refer to Metal Collar Quick Connect Fitting Service .
  6. Fully raise the fuel tank (2).
  7. Install the fuel tank straps (1).
  8. Notice: Use the correct fastener in the correct location. Replacement fasteners must be the correct part number for that application. Fasteners requiring replacement or fasteners requiring the use of thread locking compound or sealant are identified in the service procedure. Do not use paints, lubricants, or corrosion inhibitors on fasteners or fastener joint surfaces unless specified. These coatings affect fastener torque and joint clamping force and may damage the fastener. Use the correct tightening sequence and specifications when installing fasteners in order to avoid damage to parts and systems.

  9. Install the fuel tank strap attaching bolts.
  10. Tighten
    Tighten the bolts to 40 N·m (30 lb ft).


    Object Number: 667876  Size: SH
  11. Connect the fuel fill and vent pipe (2) to the fuel tank.
  12. Tighten
    Tighten the hose clamps to 2.5 N·m (22 lb in).


    Object Number: 667724  Size: SH
  13. Install the fuel tank shield (1).
  14. Lower the vehicle.
  15. Refill the fuel tank (2).
  16. Install the fuel filler cap.
  17. Connect the negative battery cable. Refer to Battery Negative Cable Disconnection and Connection in Engine Electrical.
  18. Use the following procedure in order to inspect for leaks:
  19. 15.1. Turn ON the ignition, with the engine OFF, for 2 seconds.
    15.2. Turn OFF the ignition for 10 seconds.
    15.3. Turn ON the ignition, with the engine OFF.
    15.4. Inspect for fuel leaks.
  20. Install the engine sight shield. Refer to Upper Intake Manifold Sight Shield Replacement in Engine Mechanical.

Fuel Tank Replacement Cab/Chassis Rear

Removal Procedure


    Object Number: 667863  Size: SH
  1. Relieve the fuel system pressure. Refer to the Fuel Pressure Relief .
  2. Raise the vehicle. Refer to Lifting and Jacking the Vehicle in General Information.
  3. Drain the fuel tank. Refer to Fuel Tank Draining .
  4. Remove the fuel tank shield (2).

  5. Object Number: 667878  Size: SH
  6. Disconnect the fuel fill and vent pipe (1) from the fuel tank.

  7. Object Number: 667869  Size: SH
  8. With the aid of an assistant, support the fuel tank.
  9. Notice: Do not bend the fuel tank straps. Bending the fuel tank straps may damage the straps.

  10. Remove the fuel tank strap attaching bolts (2).
  11. Remove the fuel tank straps (3).
  12. Carefully lower the fuel tank slightly.
  13. Disconnect the fuel and evaporative emission (EVAP) pipes. Refer to Metal Collar Quick Connect Fitting Service .
  14. Disconnect the fuel sender and the fuel pressure sensor harness connectors.
  15. Remove the fuel tank.
  16. Place the fuel tank in a suitable work area.
  17. Remove the fuel sender assembly from the fuel tank. Refer to Fuel Sender Assembly Replacement .
  18. Cap the fuel and EVAP pipes in order to prevent possible fuel system contamination.

Installation Procedure


    Object Number: 667869  Size: SH
  1. Install the fuel sender assembly to the fuel tank. Refer to Fuel Sender Assembly Replacement .
  2. Remove the caps from the fuel and EVAP pipes.
  3. With the aid of an assistant, support and partially raise the fuel tank.
  4. Connect the fuel sender and the fuel pressure sensor harness connectors.
  5. Connect the fuel and EVAP pipes. Refer to Metal Collar Quick Connect Fitting Service .
  6. Fully raise the fuel tank.
  7. Install the fuel tank straps (3).
  8. Notice: Use the correct fastener in the correct location. Replacement fasteners must be the correct part number for that application. Fasteners requiring replacement or fasteners requiring the use of thread locking compound or sealant are identified in the service procedure. Do not use paints, lubricants, or corrosion inhibitors on fasteners or fastener joint surfaces unless specified. These coatings affect fastener torque and joint clamping force and may damage the fastener. Use the correct tightening sequence and specifications when installing fasteners in order to avoid damage to parts and systems.

  9. Install the fuel tank strap attaching bolts (2).
  10. Tighten
    Tighten the bolts to 40 N·m (30 lb ft).


    Object Number: 667878  Size: SH
  11. Connect the fuel fill and vent pipe (1) to the fuel tank.
  12. Tighten
    Tighten the hose clamps to 2.5 N·m (22 lb in).


    Object Number: 667863  Size: SH
  13. Install the fuel tank shield (2).
  14. Tighten
    Tighten the fuel tank shield to frame bolts to 18 N·m (13 lb ft)

  15. Lower the vehicle.
  16. Refill the fuel tank.
  17. Install the fuel filler cap.
  18. Connect the negative battery cable. Refer to Battery Negative Cable Disconnection and Connection in Engine Electrical.
  19. Use the following procedure in order to inspect for leaks:
  20. 15.1. Turn ON the ignition, with the engine OFF, for 2 seconds.
    15.2. Turn OFF the ignition for 10 seconds.
    15.3. Turn ON the ignition, with the engine OFF.
    15.4. Inspect for fuel leaks.
  21. Install the engine sight shield. Refer to Upper Intake Manifold Sight Shield Replacement in Engine Mechanical.