GM Service Manual Online
For 1990-2009 cars only

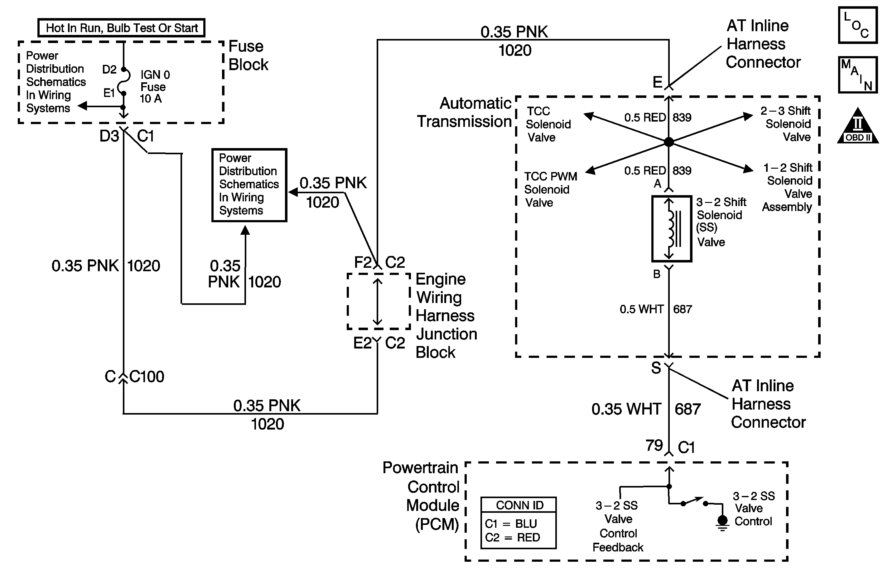
Object Number: 692608  Size: MF
Master Electrical Component List
Automatic Transmission Controls Schematics 4.3L
Automatic Transmission Controls Schematics 4.8, 5.3, 6.0L
OBD II Symbol Description Notice

Circuit Description

The 3-2 shift solenoid (SS) valve assembly is a normally-closed, 3-port, on/off device that controls the 3-2 downshift. The solenoid attaches to the control valve body within the transmission. The solenoid receives ignition voltage through the OFF/ON/START voltage circuit. The powertrain control module (PCM) controls the solenoid by providing a ground path on the 3-2 shift solenoid valve control circuit. During a 3-2 downshift, the 2-4 band applies as the 3-4 clutch releases. The PCM varies the timing between the 3-4 clutch release and the 2-4 band apply, depending on the vehicle speed and the throttle position.

When the PCM detects a continuous open, short to ground or short to power in the 3-2 SS valve assembly circuit, then DTC P0785 sets. DTC P0785 is a type B DTC.

Conditions for Running the DTC

    • The system voltage is 10-18 volts.
    • The engine speed is greater than 450 RPM for 5 seconds.
    • The engine is not in fuel cutoff.

Conditions for Setting the DTC

DTC P0785 sets if one of the following conditions occurs for 5 seconds:

Condition 1

The PCM commands the solenoid ON and the voltage feedback remains high (B+).

Condition 2

The PCM commands the solenoid OFF and the voltage feedback remains low (0 volts).

Action Taken When the DTC Sets

    • The PCM illuminates the malfunction indicator lamp (MIL) during the second consecutive trip in which the Conditions for Setting the DTC are met.
    • The PCM commands a soft landing to third gear.
    • The PCM commands maximum line pressure.
    • The PCM inhibits TCC engagement.
    • The PCM inhibits 4th gear if the transmission is in hot mode.
    • The PCM freezes shift adapts from being updated.
    • The PCM records the operating conditions when the Conditions for Setting the DTC are met. The PCM stores this information as Freeze Frame and Failure Records.
    • The PCM stores DTC P0785 in PCM history during the second consecutive trip in which the Conditions for Setting the DTC are met.

Conditions for Clearing the MIL/DTC

    • The PCM turns OFF the MIL during the third consecutive trip in which the diagnostic test runs and passes.
    • A scan tool can clear the MIL/DTC.
    • The PCM clears the DTC from PCM history if the vehicle completes 40 warm-up cycles without an emission-related diagnostic fault occurring.
    • The PCM cancels the DTC default actions when the fault no longer exists and/or the ignition switch is OFF long enough in order to power down the PCM.

Test Description

The item numbers below refer to the step numbers on the diagnostic table.

  1. This step tests the ability of the PCM to control the solenoid.

  2. This step tests for voltage to the solenoid.

  3. This step tests the ability of the PCM and the wiring to control the ground circuit.

  4. This step measures the resistance of the automatic transmission wiring harness assembly and the 3-2 SS valve assembly.

DTC P0785

Step

Action

Value(s)

Yes

No

1

Did you perform the Powertrain Diagnostic System Check?

--

Go to Step 2

Go to Diagnostic System Check - Engine Controls in Engine Controls - 4.3 L or Diagnostic System Check - Engine Controls in Engine Controls - 4.8 L, 5.3 L and 6.0 L

2

  1. Install a Scan Tool .
  2. Turn ON the ignition, with the engine OFF.
  3. Important: Before clearing the DTC, use the Scan Tool in order to record the Freeze Frame and Failure Records. Using the Clear Info function erases the Freeze Frame and Failure Records from the PCM.

  4. Record the DTC Freeze Frame and Failure Records.
  5. Clear the DTC.

Are any of the following DTCs also set?

    • P0740
    • P0753
    • P0758
    • P1860

--

Go to Step 3

Go to Step 4

3

Inspect the IGN 0 fuse for an open.

Refer to General Electrical Diagnosis in Wiring Systems.

Is the fuse open?

--

Go to Step 12

Go to Step 5

4

Use the Scan Tool in order to command the 3-2 SS valve assembly ON and OFF three times, while listening to the bottom of the transmission pan (a stethoscope may be necessary).

Does the solenoid click when commanded?

--

Go to Intermittent Conditions in Engine Controls - 4.3 L or Intermittent Conditions in Engine Controls - 4.8 L, 5.3 L and 6.0 L

Go to Step 5

5

  1. Turn OFF the ignition.
  2. Disconnect the AT inline 20-way connector (additional DTCs may set).
  3. Install the J 44152 jumper harness (20 pins) on the engine side of the AT inline 20-way connector.
  4. Turn ON the ignition, with the engine OFF.
  5. Using the J 35616 connector test adapter kit, connect a test lamp from terminal E of the J 44152 to ground.
  6. Refer to Automatic Transmission Inline Harness Connector End View .

Does the test lamp illuminate?

--

Go to Step 6

Go to Step 15

6

  1. Connect a test lamp between terminal E and terminal S of the J 44152 .
  2. Refer to Automatic Transmission Inline Harness Connector End View .

  3. Use the Scan Tool in order to command the 3-2 SS valve assembly ON and OFF three times.

Does the test lamp turn ON and OFF with each command?

--

Go to Step 8

Go to Step 7

7

Is the test lamp always ON?

--

Go to Step 16

Go to Step 17

8

  1. Install the J 44152 on the transmission side of the AT inline 20-way connector.
  2. Using the J 39200 digital multimeter (DMM) and the J 35616 , measure the resistance between the terminal E and terminal S of the J 44152 .
  3. Refer to Automatic Transmission Inline Harness Connector End View .

Does the resistance measure within the specified range?

20-32 ohms

Go to Step 9

Go to Step 10

9

  1. Measure the resistance from terminal S to ground.
  2. Measure the resistance from terminal E to ground.

Do both readings measure greater than the specified value?

250 K ohms

Go to Intermittent Conditions in Engine Controls - 4.3 L or Intermittent Conditions in Engine Controls - 4.8 L, 5.3 L and 6.0 L

Go to Step 11

10

  1. Disconnect the AT wiring harness assembly from the 3-2 SS valve assembly.
  2. Measure the resistance of the 3-2 SS valve assembly.

Does the resistance measure within the specified range?

20-32 ohms

Go to Step 18

Go to Step 19

11

  1. Disconnect the AT wiring harness assembly from the 3-2 SS valve assembly.
  2. Measure the resistance from the component's terminals to ground.

Do both readings measure greater than the specified value?

250 K ohms

Go to Step 18

Go to Step 19

12

Important: The condition that affects this circuit may exist in other connecting branches of the circuit. Refer to Power Distribution Schematics in Wiring Systems for complete circuit distribution.

Test the OFF/ON/START voltage circuit (CKT 1020) of the 3-2 SS valve assembly for a short to ground between the fuse block and the AT inline 20-way connector.

Refer to Circuit Testing and Wiring Repairs in Wiring Systems.

Did you find and correct the condition?

--

Go to Step 21

Go to Step 13

13

Important: The condition that affects this circuit may exist in other connecting branches of the circuit. Refer to Power Distribution Schematics in Wiring Systems for complete circuit distribution.

Test the Ignition 1 voltage circuit (CKT 839) of the 3-2 SS valve assembly for a short to ground between the AT inline 20-way connector and the 3-2 SS valve assembly.

Refer to Circuit Testing in Wiring Systems.

Did you find a short to ground condition?

--

Go to Step 18

Go to Step 14

14

  1. Test each solenoid for a short to ground.
  2. Replace the faulty solenoid as necessary.

Did you complete the replacement?

--

Go to Step 21

--

15

Important: The condition that affects this circuit may exist in other connecting branches of the circuit. Refer to Power Distribution Schematics in Wiring Systems for complete circuit distribution.

Test the OFF/ON/START voltage circuit (CKT 1020) of the 3-2 SS valve assembly for an open.

Refer to Circuit Testing and Wiring Repairs in Wiring Systems.

Did you find and correct the condition?

--

Go to Step 21

--

16

Test the control circuit (CKT 687) of the 3-2 SS valve assembly for a short to ground between the PCM connector C1 and the AT inline 20-way connector.

Refer to Circuit Testing and Wiring Repairs in Wiring Systems.

Did you find and correct the condition?

--

Go to Step 21

Go to Step 20

17

Test the control circuit (CKT 687) of the 3-2 SS valve assembly for an open or short to power between the PCM connector C1 and the AT inline 20-way connector.

Refer to Circuit Testing and Wiring Repairs in Wiring Systems.

Did you find and correct the condition?

--

Go to Step 21

Go to Step 20

18

Replace the AT wiring harness assembly.

Refer to Valve Body and Pressure Switch Replacement .

Did you complete the replacement?

--

Go to Step 21

--

19

Replace the 3-2 SS valve assembly.

Refer to Valve Body and Pressure Switch Replacement .

Did you complete the replacement?

--

Go to Step 21

--

20

Replace the PCM.

Refer to Powertrain Control Module Replacement in Engine Controls - 4.3 L or Powertrain Control Module Replacement in Engine Controls - 4.8 L, 5.3 L and 6.0 L.

Did you complete the replacement?

--

Go to Step 21

--

21

Perform the following procedure in order to verify the repair:

  1. Select DTC.
  2. Select Clear Info.
  3. Drive the vehicle in D3 or D4 and perform a 3-2 downshift. Ensure that the following conditions are met:
  4. • The PCM commands the 3-2 SS valve assembly ON, and the voltage feedback drops to zero.
    • The PCM commands the 3-2 SS valve assembly OFF, and the voltage feedback increases to B+.
    • All conditions are met for 5 seconds.
  5. Select Specific DTC.
  6. Enter DTC P0785.

Has the test run and passed?

--

System OK

Go to Step 1