GM Service Manual Online
For 1990-2009 cars only

Auxiliary HVAC Module Replacement Tahoe/Yukon

Removal Procedure

  1. Recover the refrigerant from the A/C system. Refer to Refrigerant Recovery and Recharging .
  2. Drain the engine coolant. Refer to Cooling System Draining and Filling in Engine Cooling.
  3. Raise the vehicle. Refer to Lifting and Jacking the Vehicle in General Information.

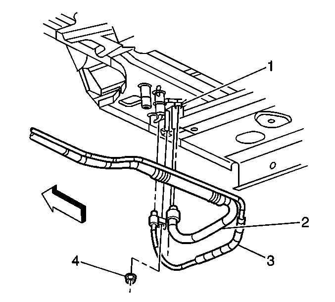
  4. Object Number: 612548  Size: SH
  5. Disconnect the heater lines (2, 3) from the auxiliary HVAC module at the underside of the vehicle.

  6. Object Number: 612549  Size: SH
  7. Disconnect the air conditioning lines (2, 3) from the auxiliary HVAC module at the underside of the vehicle.

  8. Object Number: 612403  Size: SH
  9. Remove the nuts (2) from the studs (1) that secure the auxiliary HVAC module to the underside of the vehicle.
  10. Remove the safety stands.
  11. Lower the vehicle.
  12. Remove the right rear quarter trim panel. Refer to Rear Quarter Trim Panel Replacement in Interior Trim.
  13. Remove the Real Time Damping (RTD) Module. Refer to Electronic Suspension Control Module Replacement in Real Time Damping-RTD.
  14. Disconnect the electrical connectors.

  15. Object Number: 612462  Size: SH
  16. Remove the fastener (5) for the upper auxiliary air duct (1). Carefully slide the duct up, into the headliner, until the bottom edge of the duct is above the air distributor duct.

  17. Object Number: 612394  Size: SH
  18. Remove the fasteners (3) retaining the rear auxiliary HVAC module to the vehicle.
  19. Remove the rear auxiliary HVAC module (4) from the vehicle and place it on a work surface.

Installation Procedure


    Object Number: 612394  Size: SH
  1. Install the auxiliary HVAC module assembly  (4) to the vehicle.
  2. Install the two bolts (3) inside the vehicle in order to retain the case to the vehicle.

  3. Object Number: 612462  Size: SH
  4. Install the upper auxiliary air duct (1) to the air distributor duct. Install the fastener (5).
  5. Connect the electrical connectors.
  6. Install the RTD Module. Refer to Electronic Suspension Control Module Replacement in Real Time Damping-RTD.
  7. Install the right rear quarter trim panel. Refer to Rear Quarter Trim Panel Replacement in Interior Trim.
  8. Raise the vehicle. Refer to Lifting and Jacking the Vehicle in General Information.

  9. Object Number: 612403  Size: SH

    Notice: Use the correct fastener in the correct location. Replacement fasteners must be the correct part number for that application. Fasteners requiring replacement or fasteners requiring the use of thread locking compound or sealant are identified in the service procedure. Do not use paints, lubricants, or corrosion inhibitors on fasteners or fastener joint surfaces unless specified. These coatings affect fastener torque and joint clamping force and may damage the fastener. Use the correct tightening sequence and specifications when installing fasteners in order to avoid damage to parts and systems.

  10. Install the nuts (2) that secure the auxiliary HVAC module to the vehicle.
  11. Tighten
    Tighten the nuts to 9 N·m (80 lb in).


    Object Number: 612549  Size: SH
  12. Install the air conditioning lines (2, 3) and the nut (4) to the auxiliary HVAC module.
  13. Tighten
    Tighten the nut to 16 N·m (12 lb ft).


    Object Number: 612548  Size: SH
  14. Install the heater lines (2, 3) to the auxiliary HVAC module at the underside of vehicle.
  15. Remove the safety stands.
  16. Lower the vehicle.
  17. Fill the engine coolant. Refer to Cooling System Draining and Filling in Engine Cooling.
  18. Recharge the refrigerant to the system. Refer to Refrigerant Recovery and Recharging .

Auxiliary HVAC Module Replacement Suburban/Yukon XL

Removal Procedure

  1. Recover the refrigerant from the A/C system. Refer to Refrigerant Recovery and Recharging .
  2. Drain the engine coolant. Refer to Cooling System Draining and Filling in Engine Cooling.
  3. Raise the vehicle. Refer to Lifting and Jacking the Vehicle in General Information.

  4. Object Number: 612548  Size: SH
  5. Disconnect the heater lines (2, 3) from the auxiliary HVAC module at the underside of the vehicle.

  6. Object Number: 612549  Size: SH
  7. Disconnect the air conditioning lines (2, 3) from the auxiliary HVAC module at the underside of the vehicle.

  8. Object Number: 612403  Size: SH
  9. Remove the nuts (2) from the studs (1) that secure the auxiliary HVAC module to the underside of the vehicle.
  10. Remove the safety stands.
  11. Lower the vehicle.
  12. Remove the right rear quarter trim panel. Refer to Rear Quarter Trim Panel Replacement in Interior Trim.
  13. Remove the Real Time Damping (RTD) Module. Refer to Electronic Suspension Control Module Replacement in Real Time Damping-RTD.
  14. Disconnect the electrical connectors.

  15. Object Number: 612459  Size: SH
  16. Remove the fastener (5) for the upper auxiliary air duct (6). Carefully slide the duct up, into the headliner, until the bottom edge of the duct is above the air distributor duct.

  17. Object Number: 612375  Size: SH
  18. Remove the fastener (4) for the lower auxiliary air outlet (5).

  19. Object Number: 612457  Size: SH
  20. Remove the fastener (4) for the air distributor duct (3). Remove the air distributor duct (3).

  21. Object Number: 612400  Size: SH
  22. Remove the fasteners (2, 4) retaining the rear auxiliary HVAC module to the vehicle.
  23. Remove the rear auxiliary HVAC module (3) from the vehicle and place it on a work surface.

Installation Procedure


    Object Number: 612400  Size: SH
  1. Install the auxiliary HVAC module assembly (3) to the vehicle.
  2. Install the two bolts (2, 4) inside the vehicle in order to retain the case to the vehicle.

  3. Object Number: 612457  Size: SH
  4. Install the air distributor duct (3) and fastener (4).

  5. Object Number: 612375  Size: SH
  6. Install the lower auxiliary air outlet (5) and fastener (4).

  7. Object Number: 612459  Size: SH
  8. Install the upper auxiliary air duct (6) to the air distributor duct (3). Install the fastener (5).
  9. Connect the electrical connectors.
  10. Install the RTD Module. Refer to Electronic Suspension Control Module Replacement in Real Time Damping-RTD.
  11. Install the right rear quarter trim panel. Refer to Rear Quarter Trim Panel Replacement in Interior Trim.
  12. Raise the vehicle. Refer to Lifting and Jacking the Vehicle in General Information.

  13. Object Number: 612403  Size: SH

    Notice: Use the correct fastener in the correct location. Replacement fasteners must be the correct part number for that application. Fasteners requiring replacement or fasteners requiring the use of thread locking compound or sealant are identified in the service procedure. Do not use paints, lubricants, or corrosion inhibitors on fasteners or fastener joint surfaces unless specified. These coatings affect fastener torque and joint clamping force and may damage the fastener. Use the correct tightening sequence and specifications when installing fasteners in order to avoid damage to parts and systems.

  14. Install the nuts (2) that secure the auxiliary HVAC module to the vehicle.
  15. Tighten
    Tighten the nuts to 9 N·m (80 lb in).


    Object Number: 612549  Size: SH
  16. Install the air conditioning lines (2, 3) and the nut (4) to the auxiliary HVAC module.
  17. Tighten
    Tighten the nut to 16 N·m (12 lb ft).


    Object Number: 612548  Size: SH
  18. Install the heater lines (2, 3) to the auxiliary HVAC module at the underside of vehicle.
  19. Remove the safety stands.
  20. Lower the vehicle.
  21. Fill the engine coolant. Refer to Cooling System Draining and Filling in Engine Cooling.
  22. Recharge the refrigerant to the system. Refer to Refrigerant Recovery and Recharging .