GM Service Manual Online
For 1990-2009 cars only
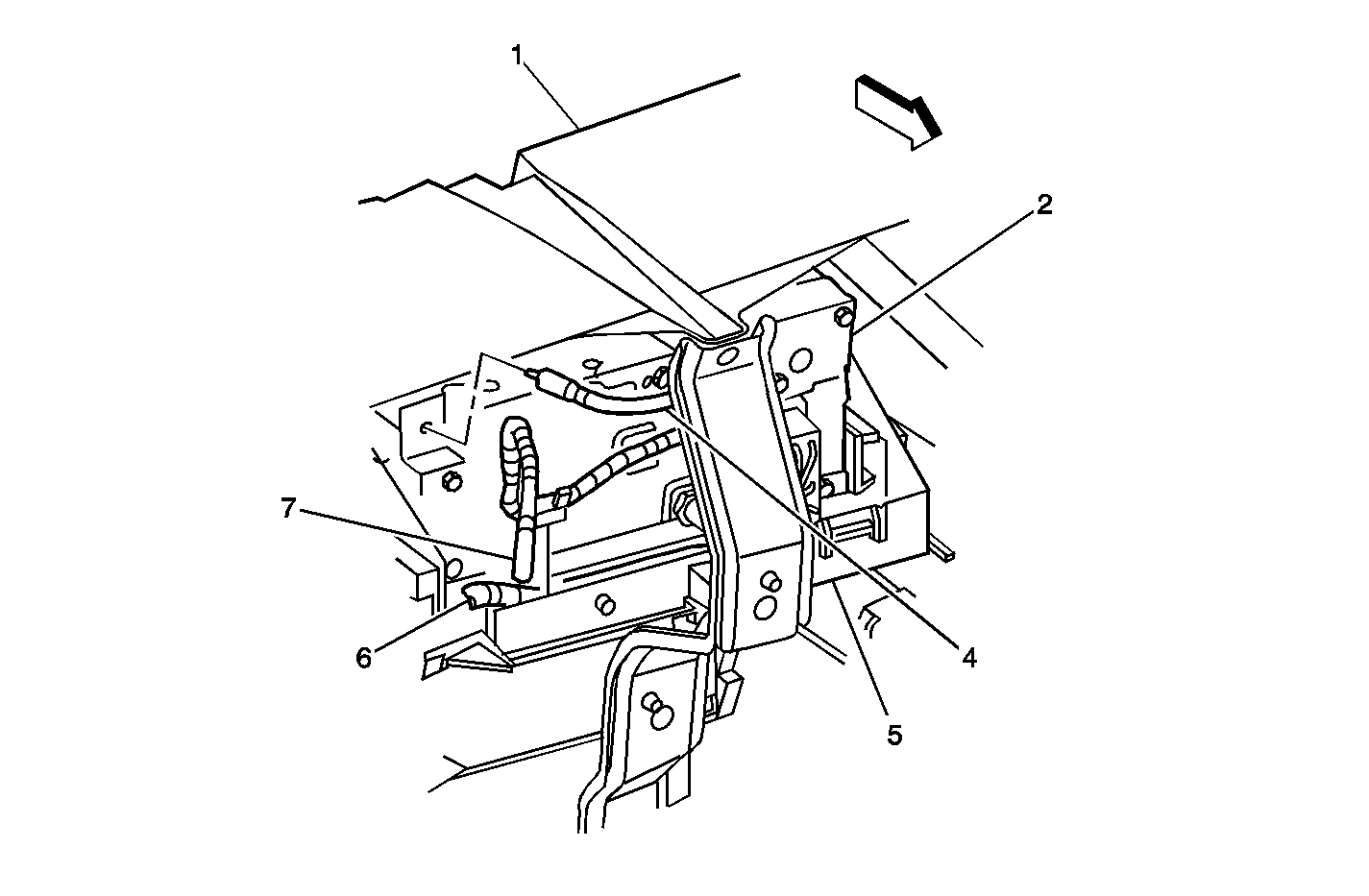
Figure 1:

Behind the Right Side of the I/P Components


Object Number: 573981  Size: LF
(1)Instrument Panel Support Bracket
(2)Audio Amplifier
(3)Audio Amplifier Support Bracket
Figure 2:

LR of the Passenger Compartment (Utility w/o Subwoofer)


Object Number: 741076  Size: MF
(1)Right Hand Body Harness
(2)Inline Connector C498
(3)Left Hand Body Harness
(4)Body Side Inner Panel
(5)Audio Amplifier
Figure 3:

LR of the Passenger Compartment (Utility w/Subwoofer)


Object Number: 776960  Size: MF
(1)Rear Cargo Trim Panel
(2)Audio Amplifier
(3)Subwoofer
Figure 4:

Center Console (Utility w/RSA)


Object Number: 776959  Size: MF
(1)Front Floor Console
(2)Rear Seat Audio (RSA) Controller
Figure 5:

Speaker-LR (RR Opposite)


Object Number: 350033  Size: MF
(1)Speaker Connector (Harness)
(2)Body Side Panel-LH
(3)Rear Body Panel
(4)Electrical Connector (Speaker)
(5)Speaker-LR
Figure 6:

LR of the Cab Components (Extended Cab Pickup)


Object Number: 350029  Size: MF
(1)Inner Body Panel-LH
(2)Speaker Connector (Harness)
(3)Electrical Connector (Speaker)
(4)Speaker-LR
Figure 7:

Front Passenger Door Components


Object Number: 327885  Size: MF
(1)Door-RF
(2)Speaker - RF Door
(3)Speaker Connector (Harness)
Figure 8:

Speaker - LF Door (Base)


Object Number: 350028  Size: MF
(1) Speaker - LF Door
(2)Door-LH (Inner)
(3)Speaker Connector (Harness)
Figure 9:

Steering Wheel Redundant Switches


Object Number: 776961  Size: MF
(1)Steering Wheel Controls - Left
(2)Steering Wheel Assembly
Figure 10:

RR of the Cab Components (Extended Cab Pickup)


Object Number: 350030  Size: MF
(1)Side Body Panel-RH
(2)Third Door-RR
(3)Door Speaker-RR
(4)Speaker Lock Tab
(5)Speaker Connector (Harness)
Figure 11:

Driver Side A-Pillar Components


Object Number: 573977  Size: MF
(1)Side Garnish Molding
(2)Speaker-Tweeter
(3)Instrument Panel Harness Speaker Connector
Figure 12:

Door Speaker - LR (RR Similar)


Object Number: 573978  Size: LF
(1)Body Side Inner Panel
(2)Regulator
(3)Speaker
Figure 13:

Driver Side D-Pillar Components (Utility)


Object Number: 776963  Size: MF
(1)D Pillar Trim Panel
(2)Speaker - D Pillar Twiddler
Figure 14:

Speaker - Subwoofer


Object Number: 573984  Size: LF
(1)Speaker - Subwoofer
(2)Body Side Inner Panel
Figure 15:

Top Right of the I/P Components


Object Number: 327879  Size: LF
(1)Instrument Panel Carrier
(1)Instrument Panel Carrier
(2)Inline Connector to Mast
(3)Instrument Panel
(3)Instrument Panel
(4)Antenna Wiring
(4)Antenna Wiring
(5)Radio
Figure 16:

Radio Antenna Connections


Object Number: 327881  Size: MF
(1)Instrument Panel
(1)Instrument Panel
(2)AM/FM Stereo
(3)AM/FM Stereo w/Cassette or CD
(4)Antenna Connection
(4)Antenna Connection
(5)Radio Bracket
(5)Radio Bracket
(6)Electrical Harness Radio
(6)Electrical Harness Radio
(7)Antenna Cable
(7)Antenna Cable
Figure 17:

RF Fender


Object Number: 327883  Size: MF
(1)Radio Antenna Mast Base
(2)Inner Fender-RH
(3)Antenna Cable Pass-Through (Grommet)
(4)Antenna Bracket
Figure 18:

Center of the I/P -- Entertainment Components


Object Number: 327886  Size: LF
(1)Electrical Connectors (Radio)
(2)Instrument Panel
(3)Radio
(4)Electrical Connector (CD)
(5)Remote Playback Device - CD Player
(6)Lower Console
(7)Lower Console Compartment
(8)HVAC and Blower Switch Compartment
(9)Radio Antenna Connector