Fuse/Circuit Breaker  | Rating  | Description  | 
|---|---|---|
| 
 Important:: Numbers shown are to reference position only - component not marked.  | ||
STUD 1 Fuse #1  | 40A  | Trailer Wiring / Automatic Level Control Compressor  | 
ABS Fuse #2  | 60A  | Brake Pressure Modulator Valve (Pump)  | 
IGN A Fuse #3  | 40A  | Starter Relay, Ignition Switch-IGN 1, TURN, SEO IGN Fuses  | 
AIR Fuse #4  | 30A  | Secondary Air Injection Reaction Pump  | 
RAP Fuse #5  | 50A  | Rap Relay, MIR/LOCK DR LOCK Fuses and SEATS Circuit Breaker  | 
IGN B Fuse #6  | 50A  | Ignition Switch-Rap Relay, Wiper/Washer and SEO ACCY Fuses  | 
RAP 2 Fuse #7  | 50A  | Power Window RF Switch, Power Window RR Switch, Power Sunroof  | 
STUD 2 Fuse #8  | 30A  | Body Wiring Provisions, Trailer Wiring  | 
TRL R TRN 9  | 10A  | Trailer Turn and Stop  | 
TRL L TRN Fuse #10  | 10A  | Trailer Turn  | 
INJ B Fuse #11  | 15A  | Fuel Injectors 2, 4, 6, and 8, Ignition Coils, Engine Shutoff Solenoid and Sensor-Diesel  | 
PARK LP Fuse #12  | 30A  | Park Lamp Relay, Headlamp and Panel Dimmer Switch-Park Lamps  | 
FRT HVAC Fuse #13  | 30A  | Blower Motor (High Speed)  | 
STOP LPS Fuse #14  | 20A  | VEH STOP and CHMSL Fuses, Trailer Wiring (LH, RH Turn and Stop Lamp)  | 
ECM 1 Fuse #15  | 10A  | Vehicle Control Module (VCM)/Powertrain Control Module (PCM) - (from IGN 1 Relay)  | 
CHMSL Fuse #16  | 10A  | Center High Mounted Stop Lamp  | 
VEH STOP Fuse #17  | 10A  | Vehicle Stop Lamps  | 
TRL B/U Fuse #19  | 10A  | Trailer Backup Lamps  | 
INJA Fuse #20  | 15A  | Fuel Injectors 1, 3, 5, and 7, Ignition Coils, Glow Plug Module, Fuel Heat, Water in Fuel (WIF) Sensor, Wastegate Solenoid  | 
RR HVAC Fuse #21  | 30A  | Rear Heater, Rear Blower Relays  | 
VEH B/U Fuse #22  | 15A  | Vehicle Backup Lamps  | 
ENG 1 Fuse #23  | 10A  | Mass Air Flow (MAF) Sensor, Camshaft Position (CMP) Sensor, Evaporator Emission (EVAP) Canister Vent Valve, Evaporative Emission (EVAP) C Purge Valve  | 
ETC Fuse #24  | 15A  | Electronic Throttle Control (ETC)  | 
IGN E Fuse #25  | 10A  | A/C Compressor Clutch Relay, DRL Relay, Rear Defog Relay, Secondary Injection Reaction Pump Relay  | 
B/U LP Fuse #26  | 25A  | Backup Lamps, BTSI  | 
ATC Fuse #27  | 20A  | Automatic Transfer Case (ATC) Control Module, Encoder Motor  | 
RTD Fuse #28  | 30A  | Real Time Damping (RTD)  | 
RR PRK Fuse #29  | 10A  | RR Park Lamps  | 
ECM B Fuse #30  | 20A  | Fuel Pump Relay, Vehicle Control Module (VCM)/Powertrain Control Module (PCM)  | 
O2 A Fuse #31  | 15A  | Heated Oxygen Sensors  | 
O2 B Fuse #32  | 15A  | Heated Oxygen Sensors  | 
LR PRK Fuse #33  | 10A  | LR Park Lamps  | 
RR DEFOG Fuse #34  | 30A  | Rear Window Defogger  | 
TRL PRK Fuse #35  | 15A  | Trailer Park  | 
PRIME #36  | --  | Fuel Pump Prime Port  | 
RT HDLP Fuse #37  | 15A  | RH Headlamps (Hi and Low)  | 
HTD MIR Fuse #38  | 10A  | Heated Outside Mirrors  | 
LT HDLP Fuse #39  | 15A  | LH Headlamps (Hi and Low)  | 
A/C Fuse #40  | 10A  | A/C Compressor Clutch  | 
AUX PWR Fuse #41  | 20A  | Auxiliary Power Outlets  | 
SEO 2 Fuse #42  | 30A  | Roof Beacon and Relay, Full Feature Seat - LH and RH  | 
SEO 1 Fuse #43  | 15A  | Roof Beacon Switch, Cellular Phone Wiring Provisions  | 
DRL Fuse #44  | 10A  | Daytime Running Lamps (DRL)  | 
FOG LPS Fuse #45  | 15A  | Fog Lamps  | 
RADIO Fuse #46  | 15A  | Radio and Instrument Cluster  | 
CIGAR Fuse #47  | 15A  | Data Link Connector, Cigar Lighter  | 
RT TURN Fuse #48  | 10A  | RH Turn Signals  | 
ATSLC Fuse #49  | 10A  | Automatic Transmission Shift Lock Control Solenoid  | 
LT TURN Fuse #50  | 10A  | LH Turn Signals  | 
FR PRK Fuse #51  | 10A  | Front Park Lamps  | 
W/W Pump Fuse #52  | 15A  | Windshield Washer Pump  | 
IGN C Fuse #53  | 20A  | Ignition Switch, Crank, IGN 0 Fuses  | 
RDO AMP Fuse #54  | 25A  | Radio/Audio Systems Amplifier  | 
HAZ LP Fuse #55  | 20A  | Hazard Lamps  | 
EXP LPS Fuse #56  | 10A  | Not Used  | 
HORN Fuse #57  | 15A  | Horn/Horn Relay  | 
CTSY LP Fuse #58  | 15A  | Inadvertent Power Relay (Courtesy Lamps)  | 
RR WPR Fuse #59  | 25A  | RR Wiper Washer, RR Wiper Motor  | 
TBC Fuse #60  | 10A  | Body Control Module  | 
 
 | |||||||
|---|---|---|---|---|---|---|---|
Connector Part Information  | 
 
  | ||||||
Pin  | Wire Color  | Circuit No.  | Function  | ||||
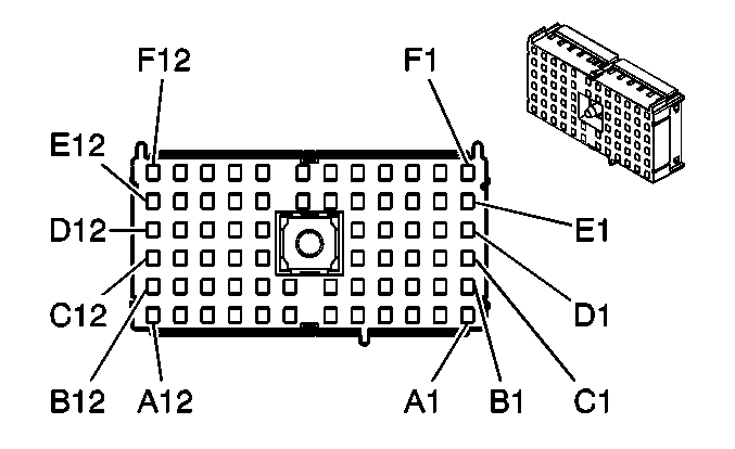
A1  | ORN  | 40  | Battery Positive Voltage  | ||||
A2  | ORN  | 740  | Battery Positive Voltage  | ||||
A3  | BLK  | 28  | Horn Relay Control  | ||||
BLK  | 28  | Horn Relay Control  | |||||
A4  | LT BLU  | 74  | Park Lamp Switch Signal  | ||||
A5  | ORN  | 1040  | Battery Positive Voltage  | ||||
A6  | BLK/WHT  | 451  | Ground  | ||||
A7  | BLK  | 550  | Ground  | ||||
A8  | --  | --  | Not Used  | ||||
A9  | PNK  | 3  | Ignition 1 Voltage  | ||||
A10  | ORN  | 1740  | Battery Positive Voltage  | ||||
A11-A12  | --  | --  | Not Used  | ||||
B1  | --  | --  | Not Used  | ||||
B2  | PNK  | 94  | Windshield Washer Switch Signal  | ||||
B3  | DK GRN /WHT  | 1317  | Fog Lamp Relay Control  | ||||
B4  | PPL  | 34  | Front Fog Lamps Supply Voltage  | ||||
B5  | ORN  | 340  | Battery Positive Voltage  | ||||
ORN  | 340  | Battery Positive Voltage  | |||||
B6  | BLK/WHT  | 174  | Low Washer Fluid Indicator Supply Voltage  | ||||
B7  | BLK  | 550  | Ground  | ||||
B8  | PPL  | 1093  | Rear Defog Element Supply Voltage  | ||||
B9  | --  | --  | Not Used  | ||||
B10  | LT GRN  | 1324  | Backup Lamp Supply Voltage  | ||||
B11  | RED  | 242  | Battery Positive Voltage  | ||||
B12  | ORN  | 240  | Battery Positive Voltage  | ||||
C1-C2  | --  | --  | Not Used  | ||||
C3  | PPL  | 524  | Headlamp Dimmer Switch High Beam Signal  | ||||
PPL  | 524  | Headlamp Dimmer Switch High Beam Signal  | |||||
C4  | ORN  | 340  | Battery Positive Voltage  | ||||
ORN  | 340  | Battery Positive Voltage  | |||||
C5  | ORN  | 2340  | Battery Positive Voltage  | ||||
C6-C8  | --  | --  | Not Used  | ||||
C9  | ORN  | 1640  | Battery Positive Voltage  | ||||
C10  | PPL/WHT  | 1035  | Starter Relay Coil Supply Voltage  | ||||
C10  | LT GRN  | 2806  | Starter Relay Coil Supply Voltage  | ||||
C11  | LT BLU  | 1620  | Trailer CHMSL Supply Voltage  | ||||
C12  | --  | --  | Not Used  | ||||
D1  | ORN  | 2040  | Battery Positive Voltage  | ||||
D2  | ORN  | 1940  | Battery Positive Voltage  | ||||
D3  | YEL  | 525  | Headlamp Dimmer Switch Low Beam Signal  | ||||
D4-D8  | --  | --  | Not Used  | ||||
D9  | WHT  | 193  | Rear Defog Relay Control  | ||||
D10  | DK GRN  | 19  | Right Rear Stop/Turn Lamp Supply Voltage  | ||||
D11  | WHT  | 17  | Stop lamp Switch Signal  | ||||
WHT  | 17  | Stop lamp Switch Signal  | |||||
D12  | ORN  | 540  | Battery Positive Voltage  | ||||
E1  | ORN  | 1140  | Battery Positive Voltage  | ||||
ORN  | 1140  | Battery Positive Voltage  | |||||
E2  | ORN  | 140  | Battery Positive Voltage  | ||||
E3  | DK BLU  | 15  | Right Turn Signal Lamps Supply Voltage  | ||||
E4-E6  | --  | --  | Not Used  | ||||
E7  | LT BLU  | 203  | A/C Request Signal  | ||||
E8  | WHT  | 352  | Headlamp Relay Coil Supply Voltage  | ||||
WHT  | 352  | Headlamp Relay Coil Supply Voltage  | |||||
E9  | DK GRN /WHT  | 266  | Rear Window Washer Pump Supply Voltage  | ||||
E10  | YEL  | 18  | Left Rear Stop/Turn Lamp Supply Voltage  | ||||
E11-E12  | --  | --  | Not Used  | ||||
F1-F2  | __  | __  | Not Used  | ||||
F3  | LT BLU  | 14  | Left Turn Signal Lamps Supply Voltage  | ||||
F4  | ORN  | 640  | Battery Positive Voltage  | ||||
ORN  | 640  | Battery Positive Voltage  | |||||
F5  | ORN  | 2240  | Battery Positive Voltage  | ||||
F6  | ORN  | 2267  | Mirror Heating Element Supply Voltage  | ||||
F7  | LT GRN/BLK  | 592  | DRL Relay Control  | ||||
F8-F9  | --  | --  | Not Used  | ||||
F10  | ORN  | 1140  | Battery Positive Voltage  | ||||
ORN  | 1140  | Battery Positive Voltage  | |||||
F11  | LT BLU  | 1320  | CHMSL Supply Voltage  | ||||
F12  | ORN  | 1540  | Battery Positive Voltage  | ||||
 
 | |||||||
|---|---|---|---|---|---|---|---|
Connector Part Information  | 
 
  | ||||||
Pin  | Wire Color  | Circuit No.  | Function  | ||||
A1-A2  | --  | --  | Not Used  | ||||
A3  | DK BLU  | 604  | A/C High Pressure Recirculation Switch Signal  | ||||
A4-A7  | --  | --  | Not Used  | ||||
A8  | ORN  | 440  | Battery Positive Voltage  | ||||
A9  | LT GRN  | 24  | Backup Lamp Supply Voltage  | ||||
A10  | LT BLU  | 1320  | CHMSL Supply Voltage  | ||||
A11  | GRY/BLK  | 2219  | FICM Relay Control  | ||||
A12  | --  | --  | Not Used  | ||||
B1-B2  | --  | --  | Not Used  | ||||
B3  | DK GRN  | 59  | A/C Compressor Clutch Supply Voltage  | ||||
B4  | --  | --  | Not Used  | ||||
B5  | LT BLU  | 203  | A/C Request Signal  | ||||
B6  | PNK  | 239  | Ignition 1 Voltage  | ||||
B7  | DK GRN/WHT  | 465  | Fuel Pump Relay Control [- Primary]  | ||||
B8  | ORN  | 440  | Battery Positive Voltage  | ||||
ORN  | 440  | Battery Positive Voltage  | |||||
B9  | PNK  | 1339  | Ignition 1 Voltage  | ||||
B10-B12  | --  | --  | Not Used  | ||||
C1-C3  | --  | --  | Not Used  | ||||
C4  | PNK  | 239  | Ignition 1 Voltage  | ||||
C5-C9  | --  | --  | Not Used  | ||||
C10  | PNK  | 1039  | Ignition 1 Voltage  | ||||
PNK  | 1039  | Ignition 1 Voltage  | |||||
C11  | PNK  | 439  | Ignition 1 Voltage  | ||||
PNK  | 1039  | Ignition 1 Voltage (Diesel)  | |||||
C12  | PNK  | 1239  | Ignition 1 Voltage  | ||||
PNK  | 1239  | Ignition 1 Voltage  | |||||
D1  | BLK/WHT  | 1695  | Axle Switch Signal  | ||||
D2  | --  | --  | Not Used  | ||||
D3  | DK GRN/WHT  | 459  | A/C Clutch Relay Control  | ||||
D4-D7  | --  | --  | Not Used  | ||||
D8  | PNK  | 539  | Ignition 1 Voltage  | ||||
PNK  | 539  | Ignition 1 Voltage  | |||||
D9  | PNK  | 639  | Ignition 1 Voltage  | ||||
D10  | PNK  | 1039  | Ignition 1 Voltage  | ||||
PNK  | 1039  | Ignition 1 Voltage  | |||||
D11  | PPL  | 6  | Starter Solenoid Crank Voltage  | ||||
D12  | BLK  | 550  | Ground  | ||||
E1  | BLK/WHT  | 1695  | Axle Switch Signal  | ||||
BLK/WHT  | 1695  | Axle Switch Signal  | |||||
E2  | PNK  | 1020  | Off/Run/Crank Voltage  | ||||
PNK  | 1020  | Off/Run/Crank Voltage  | |||||
E3  | LT GRN  | 275  | Park Neutral Position Switch Park Signal  | ||||
E4-E5  | --  | --  | Not Used  | ||||
E6  | PNK  | 1239  | Ignition 1 Voltage  | ||||
E7  | PNK  | 1239  | Ignition 1 Voltage  | ||||
PNK  | 1239  | Ignition 1 Voltage  | |||||
E8  | PNK  | 1539  | Ignition 1 Voltage  | ||||
PNK  | 1539  | Ignition 1 Voltage  | |||||
PNK  | 439  | Ignition 1 Voltage (Diesel)  | |||||
E9-E11  | --  | --  | Not Used  | ||||
E12  | PNK  | 1039  | Ignition 1 Voltage  | ||||
F1  | --  | --  | Not Used  | ||||
F2  | PNK  | 1020  | Off/Run/Crank Voltage  | ||||
PNK  | 1020  | Off/Run/Crank Voltage  | |||||
F3  | LT GRN/BLK  | 584  | A/T Shift Lock Control Switch Supply Voltage  | ||||
F4  | ORN  | 3440  | Battery Positive Voltage  | ||||
F5  | --  | --  | Not Used  | ||||
F6  | BLK/WHT  | 451  | Ground  | ||||
F7  | BLK  | 550  | Ground  | ||||
F8  | --  | --  | Not Used  | ||||
F9  | PNK  | 839  | Ignition 1 Voltage  | ||||
F10  | PPL/WHT  | 1035  | Starter Relay Coil Supply Voltage  | ||||
F11  | PPL/WHT  | 1035  | Starter Relay Coil Supply Voltage (M/T)  | ||||
YEL  | 1737  | Starter Relay Coil Supply Voltage (A/T)  | |||||
F12  | --  | --  | Not Used  | ||||
 
 | |||||||
|---|---|---|---|---|---|---|---|
Connector Part Information  | 
 
  | ||||||
Pin  | Wire Color  | Circuit No.  | Function  | ||||
A1  | DK BLU  | 2115  | Right Turn Signal Lamps Supply Voltage  | ||||
A2-A3  | --  | --  | Not Used  | ||||
A4  | LT GRN  | 1624  | Trailer Backup Lamps Supply Voltage  | ||||
A5  | LT BLU  | 2114  | Left Turn Signal Lamps Supply Voltage  | ||||
A6  | DK GRN  | 1619  | Trailer Right Rear Turn/Stop Lamp Supply Voltage  | ||||
B1  | BRN  | 2509  | Left Rear Park Lamps Supply Voltage  | ||||
B2  | ORN  | 2440  | Battery Positive Voltage  | ||||
B3  | LT GRN  | 1324  | Backup Lamp Supply Voltage  | ||||
B3  | LT GRN  | 1324  | Backup Lamp Supply Voltage  | ||||
B4  | --  | --  | Not Used  | ||||
B5  | TAN/WHT  | 1384  | Selective Ride Control Switch Signal  | ||||
B6  | --  | --  | Not Used  | ||||
C1  | BLK  | 550  | Ground  | ||||
C2  | BRN/WHT  | 2609  | Right Rear Park Lamps Supply Voltage  | ||||
C3-C4  | --  | --  | Not Used  | ||||
C5  | TAN/WHT  | 1384  | Selective Ride Control Switch Signal  | ||||
C6  | YEL  | 1618  | Trailer Left Rear Turn/Stop Lamp Supply Voltage  | ||||
D1-D4  | --  | --  | Not Used  | ||||
D5  | TAN/WHT  | 1384  | Selective Ride Control Switch Signal  | ||||
D6  | --  | --  | Not Used  | ||||
E1  | BRN  | 2109  | Trailer Park Lamps Supply Voltage  | ||||
E2  | --  | --  | Not Used  | ||||
E3  | PNK  | 239  | Ignition 1 Voltage  | ||||
E4  | --  | --  | Not Used  | ||||
E5  | LT BLU  | 1620  | Trailer CHMSL Supply Voltage  | ||||
E6  | --  | --  | Not Used  | ||||
F1  | GRY  | 120  | Fuel Pump Supply Voltage  | ||||
F2-F3  | --  | --  | Not Used  | ||||
F4  | LT BLU  | 1320  | CHMSL Supply Voltage  | ||||
F5-F6  | --  | --  | Not Used  | ||||
 
 | |||||||
|---|---|---|---|---|---|---|---|
Connector Part Information  | 
 
  | ||||||
Pin  | Wire Color  | Circuit No.  | Function  | ||||
A1  | --  | --  | Not Used  | ||||
A2  | DK BLU  | 545  | DRL Supply Voltage  | ||||
DK BLU  | 545  | DRL Supply Voltage  | |||||
A3  | PPL  | 34  | Front Fog Lamps Supply Voltage  | ||||
PPL  | 34  | Front Fog Lamps Supply Voltage  | |||||
A4  | DK BLU  | 604  | A/C High Pressure Recirculation Switch Signal  | ||||
A5  | RED  | 228  | Windshield Washer Pump Control  | ||||
A6  | DK GRN  | 1329  | Horn Fuse Supply Voltage  | ||||
DK GRN  | 1329  | Horn Fuse Supply Voltage  | |||||
B1  | ORN  | 1240  | Battery Positive Voltage  | ||||
ORN  | 1240  | Battery Positive Voltage  | |||||
B2  | --  | --  | Not Used  | ||||
B3  | YEL  | 525  | Headlamp Dimmer Switch Low Beam Signal  | ||||
YEL  | 525  | Headlamp Dimmer Switch Low Beam Signal  | |||||
B4  | PPL  | 524  | Headlamp Dimmer Switch High Beam Signal  | ||||
PPL  | 524  | Headlamp Dimmer Switch High Beam Signal  | |||||
B5  | BRN  | 2309  | Front Park Lamps Supply Voltage  | ||||
BRN  | 2309  | Front Park Lamps Supply Voltage  | |||||
B6  | DK GRN/WHT  | 266  | Rear Window Washer Pump Supply Voltage  | ||||
C1  | --  | --  | Not Used  | ||||
C2  | ORN  | 1340  | Battery Positive Voltage  | ||||
ORN  | 1340  | Battery Positive Voltage  | |||||
C3-C4  | --  | --  | Not Used  | ||||
C5  | BRN  | 2309  | Front Park Lamps Supply Voltage  | ||||
BRN  | 2309  | Front Park Lamps Supply Voltage  | |||||
C6  | --  | --  | Not Used  | ||||
D1-D6  | --  | --  | Not Used  | ||||
E1  | --  | --  | Not Used  | ||||
E2  | BLK/WHT  | 174  | Low Washer Fluid Indicator Supply Voltage  | ||||
E3-E4  | --  | --  | Not Used  | ||||
E5  | LT BLU  | 2114  | Left Turn Signal Lamps Supply Voltage  | ||||
LT BLU  | 2114  | Left Turn Signal Lamps Supply Voltage  | |||||
E6  | ORN  | 1840  | Battery Positive Voltage  | ||||
F1-F3  | --  | --  | Not Used  | ||||
F4  | DK BLU  | 2115  | Right Turn Signal Lamps Supply Voltage  | ||||
DK BLU  | 2115  | Right Turn Signal Lamps Supply Voltage  | |||||
F5-F6  | --  | --  | Not Used  | ||||
 
 | |||||||
|---|---|---|---|---|---|---|---|
Connector Part Information  | 
 
  | ||||||
Pin  | Wire Color  | Circuit No.  | Function  | ||||
A  | --  | --  | Not Used  | ||||
B  | RED  | 842  | Battery Positive Voltage  | ||||
 
 | |||||||
|---|---|---|---|---|---|---|---|
Connector Part Information  | 
 
  | ||||||
Pin  | Wire Color  | Circuit No.  | Function  | ||||
A  | RED  | 542  | Battery Positive Voltage  | ||||
B  | RED  | 342  | Battery Positive Voltage  | ||||
 
 | |||||||
|---|---|---|---|---|---|---|---|
Connector Part Information  | 
 
  | ||||||
Pin  | Wire Color  | Circuit No.  | Function  | ||||
A  | RED  | 642  | Battery Positive Voltage  | ||||
 
 | |||||||
|---|---|---|---|---|---|---|---|
Connector Part Information  | 
 
  | ||||||
Pin  | Wire Color  | Circuit No.  | Function  | ||||
A  | RED  | 442  | Battery Positive Voltage  | ||||
B  | --  | --  | Not Used  | ||||
Fuse/Circuit Breaker  | Rating  | Description  | 
|---|---|---|
| 
 Important:: Numbers shown are to reference position only - component not marked.  | ||
HVAC 1 Fuse #1  | 10A  | HVAC Control Module, Mode Door Motors/Actuators  | 
IGN 3 Fuse #2  | 10A  | Memory Seat Module, LH and RH Heated Seat Switch  | 
BRAKE Fuse #3  | 10A  | Electronic Brake Control Module (EBCM)  | 
HTR A/C Fuse #4  | 25A  | Blower Motor (all except high speed)  | 
IGN 0 Fuse #5  | 10A  | Automatic Transmission, Instrument Cluster, Vehicle Control Module (VCM)/Powertrain Control Module (PCM)  | 
CRUISE Fuse #6  | 10A  | Cruise Control Module, Cruise Control Switch, Instrument Cluster, Body Control Module (BCM)  | 
4WD Fuse #7  | 15A  | Auxiliary Battery Relay, Front Axle Actuator/Switch, Automatic Transfer (ATC) Control Module, Vehicle Control Module (VCM)  | 
TURN Fuse #8  | 20A  | Feeds LT Turn and RT Turn Fuses - Turn Signals  | 
WS WIPER Fuse #12  | 25A  | Windshield Wiper, Windshield Washer Pump  | 
SEO IGN Fuse #13  | 10A  | Selectable Ride  | 
ILLUM Fuse #14  | 10A  | Instrument Cluster, Instrument Panel Switches (Backlit)  | 
IGN 1 Fuse #15  | 10A  | Body Control Module (BCM), Instrument Cluster, Automatic Day-Night  | 
SEO ACCY Fuse #16  | 10A  | Body Builder Provision  | 
CRANK Fuse #17  | 10A  | Starter Relay  | 
AIR BAG Fuse #18  | 15A  | Inflatable Restraint Sensing and Diagnostic Module, Inflatable Restraint Instrument Panel Module Switch  | 
MIR/LOCK Fuse #19  | 3A  | Power Mirrors, Memory Seat Switch, Power Door Lock Relays  | 
SEATS (CB) #20  | 25A  | Power Seats, Memory Seats (LH and RH)  | 
DR LOCKS Fuse #21  | 20A  | Power Door Lock (Actuators)  | 
LOCK Fuse #22  | 15A  | Power Door Locks (Actuators)  | 
INT PK Fuse #24  | 10A  | Ash Tray Lamp, Cupholder, Radio Display Lighting, Center Roof Markers, Back Lighting for: Door Switches; Heated Seat Switches; Sunroof Switch  | 
UNLOCK Fuse #25  | 15A  | Power Door Locks (Actuators)  | 
PWR WDO (CB) #27  | 25A  | Power Windows (Uplevel Vehicle)  | 
RDO I Fuse #29  | 10A  | Radio (Base Vehicle)  | 
UNLOCK JMPR (Relay/Fuse)  | 30A  | Power Door Locks (non-Keyless Entry)  | 
 
 | |||||||
|---|---|---|---|---|---|---|---|
Connector Part Information  | 
 
  | ||||||
Pin  | Wire Color  | Circuit No.  | Function  | ||||
A1  | BRN  | 141  | Ignition 3 Voltage  | ||||
A2  | PNK  | 3  | Ignition 1 Voltage  | ||||
A3  | YEL  | 143  | Accessory Voltage  | ||||
YEL  | 143  | Accessory Voltage  | |||||
A4  | PNK  | 39  | Ignition 1 Voltage  | ||||
A5  | YEL  | 1139  | Ignition 1 Voltage  | ||||
YEL  | 1139  | Ignition 1 Voltage  | |||||
A6  | RED  | 542  | Battery Positive Voltage  | ||||
A7-A8  | --  | --  | Not Used  | ||||
A9  | DK GRN  | 1001  | RAP 1 Fuse Supply Voltage  | ||||
A10  | PPL  | 1697  | Turn/Hazard Module Signal  | ||||
A11  | WHT  | 194  | Door Unlock Control  | ||||
A12  | BLK  | 1850  | Ground  | ||||
B1  | --  | --  | Not Used  | ||||
B2  | PNK  | 139  | Ignition 1 Voltage  | ||||
B3  | --  | --  | Not Used  | ||||
B4  | GRY  | 8  | Instrument Panel Lamp Supply Voltage - 1  | ||||
GRY  | 8  | Instrument Panel Lamp Supply Voltage - 1  | |||||
B5  | GRY  | 1696  | Turn/Hazard Module 2 Supply Voltage  | ||||
B6  | BLK  | 755  | RAP Relay Coil Control  | ||||
B7  | ORN  | 1440  | Battery Positive Voltage  | ||||
B8  | TAN/BLK  | 254  | Power Door Unlock Fuse Supply Voltage  | ||||
B9  | --  | --  | Not Used  | ||||
B10  | BRN  | 541  | Ignition 3 Voltage  | ||||
B11  | WHT  | 194  | Door Unlock Control  | ||||
B12  | LT BLU  | 195  | Door Lock Control  | ||||
C1  | BRN  | 441  | Ignition 3 Voltage  | ||||
C2  | --  | --  | Not Used  | ||||
C3  | YEL  | 43  | Accessory Voltage  | ||||
C4  | DK GRN  | 44  | Instrument Panel Lamps Dimmer Switch Signal  | ||||
C5-C7  | --  | --  | Not Used  | ||||
C8  | BRN  | 2409  | Interior Park Lamps Supply Voltage  | ||||
BRN  | 2409  | Interior Park Lamps Supply Voltage  | |||||
C9  | ORN  | 2140  | Battery Positive Voltage  | ||||
C10  | BRN  | 2409  | Interior Park Lamps Supply Voltage  | ||||
C11  | TAN  | 126  | Left Front Door Open Switch Signal  | ||||
C12  | WHT  | 156  | Courtesy Lamp Low Control  | ||||
WHT  | 156  | Courtesy Lamp Low Control  | |||||
D1  | BRN  | 541  | Ignition 3 Voltage  | ||||
D2  | BRN  | 241  | Ignition 3 Voltage  | ||||
D3  | PNK  | 1020  | Off/Run/Crank Voltage  | ||||
PNK  | 1020  | Off/Run/Crank Voltage  | |||||
D4  | PNK  | 739  | Ignition 1 Voltage  | ||||
PNK  | 739  | Ignition 1 Voltage  | |||||
D5  | LT GRN  | 2806  | Crank Voltage  | ||||
D6-D7  | --  | --  | Not Used  | ||||
D8  | LT BLU  | 74  | Park Lamp Switch Signal  | ||||
D9  | --  | --  | Not Used  | ||||
D10  | ORN  | 1732  | Courtesy Lamps Supply Voltage (Uplevel)  | ||||
D10  | GRY  | 118  | Left Front Speaker Output (-) (Base Pickup)  | ||||
D11  | --  | --  | Not Used  | ||||
D12  | DK BLU  | 1307  | Power Window Master Switch Lockout Signal (Crewcab/Utility)  | ||||
D12  | TAN  | 201  | Left Front Speaker Output (+) (Base Pickup)  | ||||
E1  | --  | --  | Not Used  | ||||
E2  | BRN  | 41  | Ignition 3 Voltage  | ||||
BRN  | 41  | Ignition 3 Voltage  | |||||
E3  | BRN  | 441  | Ignition 3 Voltage  | ||||
E4  | YEL  | 243  | Accessory Voltage  | ||||
E5  | DK GRN  | 1301  | RAP 1 Fuse Supply Voltage (Radio)  | ||||
DK GRN  | 1301  | RAP 1 Fuse Supply Voltage (Radio)  | |||||
E5  | BLK  | 707  | RAP Relay Coil Supply Voltage (OnStar - VIU)  | ||||
E6  | LT BLU  | 1508  | Turn/Hazard Module Supply Voltage  | ||||
E7  | BLK  | 707  | RAP Relay Coil Supply Voltage  | ||||
E8  | LT BLU  | 74  | Park Lamp Switch Signal  | ||||
E9  | --  | --  | Not Used  | ||||
E10  | LT GRN  | 1391  | Left Front Door Lock Relay Control  | ||||
E11-E12  | --  | --  | Not Used  | ||||
F1  | BRN  | 341  | Ignition 3 Voltage  | ||||
F2  | BRN  | 41  | Ignition 3 Voltage  | ||||
BRN  | 41  | Ignition 3 Voltage  | |||||
F3  | BRN  | 341  | Ignition 3 Voltage  | ||||
F4  | GRY/BLK  | 255  | Power Door Lock Fuse Supply Voltage  | ||||
F5  | LT GRN/BLK  | 584  | A/T Shift Lock Control Switch Supply Voltage  | ||||
F6  | WHT  | 156  | Courtesy Lamp Low Control  | ||||
WHT  | 156  | Courtesy Lamp Low Control  | |||||
F7  | ORN  | 1440  | Battery Positive Voltage  | ||||
F8-F11  | --  | --  | Not Used  | ||||
F12  | LT BLU  | 195  | Door Lock Control  | ||||
 
 | |||||||
|---|---|---|---|---|---|---|---|
Connector Part Information  | 
 
  | ||||||
Pin  | Wire Color  | Circuit No.  | Function  | ||||
A  | PNK  | 3  | Ignition 1 Voltage  | ||||
B  | BRN  | 4  | Accessory Voltage  | ||||
C  | YEL  | 5  | Crank Voltage  | ||||
D  | --  | --  | Not Used  | ||||
E  | ORN  | 300  | Ignition 3 Voltage  | ||||
F  | WHT  | 1390  | Off/Run/Crank Voltage  | ||||
 
 | |||||||
|---|---|---|---|---|---|---|---|
Connector Part Information  | 
 
  | ||||||
Pin  | Wire Color  | Circuit No.  | Function  | ||||
A  | LT BLU  | 195  | Door Lock Control  | ||||
B  | WHT  | 156  | Courtesy Lamp Low Control  | ||||
C  | DK BLU  | 1307  | Power Window Master Switch Lockout Signal (Uplevel)  | ||||
TAN  | 201  | Left Front Speaker Output (+) (Base)  | |||||
D  | WHT  | 194  | Door Unlock Control  | ||||
E  | TAN  | 126  | Left Front Door Open Switch Signal  | ||||
F  | GRY  | 295  | Door Lock Motor Lock  | ||||
G  | BRN  | 541  | Ignition 3 Voltage  | ||||
H  | BRN  | 2409  | Interior Park Lamps Supply Voltage  | ||||
J  | ORN/BLK  | 1732  | Courtesy Lamps Supply Voltage (Uplevel )  | ||||
GRY  | 118  | Left Front Speaker Output (-) (Base Pickup)  | |||||
K  | DK GRN  | 1001  | RAP 1 Fuse Supply Voltage  | ||||
BLK  | 1850  | Ground (Base Pickup Only)  | |||||
L  | ORN  | 2140  | Battery Positive Voltage  | ||||
M  | TAN  | 694  | Driver Door Lock Motor Unlock  | ||||
 
 | |||||||
|---|---|---|---|---|---|---|---|
Connector Part Information  | 
 
  | ||||||
Pin  | Wire Color  | Circuit No.  | Function  | ||||
A  | ORN  | 1440  | Battery Positive Voltage  | ||||
B  | ORN  | 1440  | Battery Positive Voltage  | ||||
C  | DK GRN  | 1001  | RAP 1 Fuse Supply Voltage  | ||||
D  | WHT  | 156  | Courtesy Lamp Low Control  | ||||
E  | ORN/BLK  | 1732  | Courtesy Lamps Supply Voltage  | ||||
F  | TAN/BLK  | 254  | Power Door Unlock Fuse Supply Voltage  | ||||
G  | LT GRN/BLK  | 584  | A/T Shift Lock Control Switch Supply Voltage  | ||||
H  | BRN  | 2409  | Interior Park Lamps Supply Voltage  | ||||
J  | DK BLU  | 1307  | Power Window Master Switch Lockout Signal  | ||||
K  | GRY/BLK  | 255  | Power Door Lock Fuse Supply Voltage  | ||||
L-M  | --  | --  | Not Used  | ||||
 
 | |||||||
|---|---|---|---|---|---|---|---|
Connector Part Information  | 
 
  | ||||||
Pin  | Wire Color  | Circuit No.  | Function  | ||||
A1-A3  | --  | --  | Not Used  | ||||
A4  | LT GRN  | 262  | Driver Door Key Switch Signal  | ||||
A5-A8  | --  | --  | Not Used  | ||||
A9  | BLK  | 2450  | Ground  | ||||
A10  | BLK  | 2450  | Ground  | ||||
A11  | BLK  | 2450  | Ground  | ||||
A12  | TAN/BLK  | 254  | Power Door Unlock Fuse Supply Voltage  | ||||
B1-B2  | --  | --  | Not Used  | ||||
B3  | ORN/BLK  | 1732  | Courtesy Lamps Supply Voltage  | ||||
B4  | DK GRN  | 1001  | RAP 1 Fuse Supply Voltage  | ||||
B5-B9  | --  | --  | Not Used  | ||||
B10  | GRY  | 8  | Instrument Panel Lamp Supply Voltage  | ||||
B11  | BRN  | 2409  | Interior Park Lamps Supply Voltage  | ||||
B12  | DK BLU  | 1307  | Power Window Master Switch Lockout Signal  | ||||
C1  | ORN  | 40  | Battery Positive Voltage  | ||||
C2  | --  | --  | Not Used  | ||||
C3  | BRN  | 541  | Ignition 3 Voltage  | ||||
C4  | WHT  | 156  | Courtesy Lamp Low Control  | ||||
C5-C7  | --  | --  | Not Used  | ||||
C8  | BLK  | 707  | RAP Relay Coil Supply Voltage  | ||||
BLK  | 707  | RAP Relay Coil Supply Voltage  | |||||
C9  | RED  | 842  | Battery Positive Voltage  | ||||
C10  | GRY  | 8  | Instrument Panel Lamp Supply Voltage - 1  | ||||
C11  | GRY/BLK  | 255  | Power Door Lock Fuse Supply Voltage  | ||||
C12  | DK BLU/WHT  | 727  | Secondary Door Latch Switch Signal  | ||||
DK BLU/WHT  | 727  | Secondary Door Latch Switch Signal  | |||||
D1  | BLK  | 2450  | Ground  | ||||
D2-D9  | --  | --  | Not Used  | ||||
D10  | GRY  | 8  | Instrument Panel Lamp Supply Voltage  | ||||
D11-D12  | --  | --  | Not Used  | ||||
E1  | --  | --  | Not Used  | ||||
E2  | BLK  | 2450  | Ground  | ||||
E3  | RED  | 708  | Mode Door Position Signal  | ||||
E4  | LT BLU  | 733  | Air Temperature Door Position Signal  | ||||
E5-E6  | --  | --  | Not Used  | ||||
E7  | BLK  | 1850  | Ground  | ||||
E8  | BRN  | 718  | Low Reference  | ||||
E9  | --  | --  | Not Used  | ||||
E10  | GRY  | 8  | Instrument Panel Lamp Supply Voltage - 1  | ||||
GRY  | 8  | Instrument Panel Lamp Supply Voltage - 1  | |||||
E11-E12  | --  | --  | Not Used  | ||||
F1  | GRY  | 598  | 5 Volt Reference  | ||||
F2  | BRN  | 341  | Ignition 3 Voltage  | ||||
F3  | GRY/BLK  | 1798  | Ground (HVAC Auto)  | ||||
F3  | BLK  | 2450  | Ground (HVAC Manual)  | ||||
F4  | DK GRN  | 1614  | Recirculation Door Control  | ||||
F5  | BRN  | 718  | Low Reference  | ||||
BRN  | 718  | Low Reference  | |||||
F6  | ORN  | 1740  | Battery Positive Voltage  | ||||
F7  | ORN/BLK  | 1732  | Courtesy Lamps Supply Voltage  | ||||
F8  | BRN  | 718  | Low Reference  | ||||
BRN  | 718  | Low Reference  | |||||
F9-F12  | --  | --  | Not Used  | ||||
 
 | |||||||
|---|---|---|---|---|---|---|---|
Connector Part Information  | 
 
  | ||||||
Pin  | Wire Color  | Circuit No.  | Function  | ||||
A  | GRY/BLK  | 255  | Power Door Lock Fuse Supply Voltage  | ||||
B  | BRN  | 2409  | Interior Park Lamps Supply Voltage  | ||||
BRN  | 2409  | Interior Park Lamps Supply Voltage  | |||||
C  | BLK  | 2450  | Ground  | ||||
BLK  | 2450  | Ground  | |||||
D  | TAN/BLK  | 254  | Power Door Unlock Fuse Supply Voltage  | ||||
E  | DK BLU  | 1307  | Power Window Master Switch Lockout Signal  | ||||
F  | DK BLU/WHT  | 727  | Secondary Door Latch Switch Signal  | ||||
 
 | |||||||
|---|---|---|---|---|---|---|---|
Connector Part Information  | 
 
  | ||||||
Pin  | Wire Color  | Circuit No.  | Function  | ||||
A  | WHT  | 156  | Courtesy Lamp Low Control  | ||||
WHT  | 156  | Courtesy Lamp Low Control  | |||||
B  | ORN/BLK  | 1732  | Courtesy Lamps Supply Voltage (Dome Lamp/RR Door)  | ||||
ORN/BLK  | 1732  | Courtesy Lamps Supply Voltage (Dome Lamp/RR Door)  | |||||
C  | BRN  | 541  | Ignition 3 Voltage  | ||||
BRN  | 541  | Ignition 3 Voltage  | |||||
D  | BRN  | 541  | Ignition 3 Voltage  | ||||
E  | ORN  | 1740  | Battery Positive Voltage  | ||||
F  | DK GRN  | 801  | RAP 2 Fuse Supply Voltage  | ||||
 
 | |||||||
|---|---|---|---|---|---|---|---|
Connector Part Information  | 
 
  | ||||||
Pin  | Wire Color  | Circuit No.  | Function  | ||||
A  | DK BLU/WHT  | 727  | Secondary Door Latch Switch Signal  | ||||
B  | --  | --  | Not Used  | ||||
C  | DK BLU  | 1307  | Power Window Master Switch Lockout Signal  | ||||
D  | GRY/BLK  | 255  | Power Door Lock Fuse Supply Voltage  | ||||
GRY/BLK  | 255  | Power Door Lock Fuse Supply Voltage  | |||||
E  | TAN/BLK  | 254  | Power Door Unlock Fuse Supply Voltage  | ||||
TAN/BLK  | 254  | Power Door Unlock Fuse Supply Voltage  | |||||
F  | --  | --  | Not Used  | ||||
G  | GRY  | 8  | Instrument Panel Lamp Supply Voltage - 1  | ||||
H-J  | --  | --  | Not Used  | ||||
K  | LT GRN  | 262  | Driver Door Key Switch Signal  | ||||
L  | --  | --  | Not Used  | ||||
M  | BRN  | 2409  | Interior Park Lamps Supply Voltage  | ||||
 
 | |||||||
|---|---|---|---|---|---|---|---|
Connector Part Information  | 
 
  | ||||||
Pin  | Wire Color  | Circuit No.  | Function  | ||||
A  | --  | --  | Not Used  | ||||
B  | BRN  | 341  | Ignition 3 Voltage  | ||||
C  | BRN  | 341  | Ignition 3 Voltage  | ||||
BRN  | 341  | Ignition 3 Voltage  | |||||
D  | GRY  | 598  | 5 Volt Reference  | ||||
GRY  | 598  | 5 Volt Reference  | |||||
E  | GRY  | 598  | 5 Volt Reference  | ||||
F  | BLK  | 1050  | Ground  | ||||
 
 | |||||||
|---|---|---|---|---|---|---|---|
Connector Part Information  | 
 
  | ||||||
Pin  | Wire Color  | Circuit No.  | Function  | ||||
A  | ORN  | 40  | Battery Positive Voltage  | ||||
B  | BRN  | 2409  | Interior Park Lamps Supply Voltage  | ||||
C  | BLK  | 1050  | Ground  | ||||
BLK  | 1050  | Ground  | |||||
D-E  | --  | --  | Not Used  | ||||
F  | DK GRN  | 801  | RAP 2 Fuse Supply Voltage  | ||||
 
 | |||||||
|---|---|---|---|---|---|---|---|
Connector Part Information  | 
 
  | ||||||
Pin  | Wire Color  | Circuit No.  | Function  | ||||
A  | BRN  | 541  | Ignition 3 Voltage  | ||||
B  | ORN/BLK  | 1732  | Courtesy Lamps Supply Voltage (Front Passenger Door)  | ||||
C  | BLK  | 1050  | Ground  | ||||
D  | LT GRN  | 262  | Driver Door Key Switch Signal  | ||||
E  | DK GRN  | 801  | RAP 2 Fuse Supply Voltage (Utility/ 4-Door Pickup)  | ||||
DK GRN  | 117  | Right Front Speaker Output (-)  | |||||
F  | WHT  | 156  | Courtesy Lamp Low Control  | ||||
LT GRN  | 200  | Right Front Speaker Output (+)  | |||||
 
 | |||||||
|---|---|---|---|---|---|---|---|
Connector Part Information  | 
 
  | ||||||
Pin  | Wire Color  | Circuit No.  | Function  | ||||
A  | LT BLU  | 733  | Air Temperature Door Position Signal  | ||||
B  | DK GRN  | 1614  | Recirculation Door Control  | ||||
C  | BRN  | 718  | Low Reference  | ||||
D  | GRY/BLK  | 1798  | Ground (HVAC Auto)  | ||||
BLK  | 2450  | Ground (HVAC Manual)  | |||||
E  | GRY/BLK  | 1798  | Ground (HVAC Auto)  | ||||
GRY/BLK  | 1798  | Ground (HVAC Auto)  | |||||
E  | BLK  | 2450  | Ground (HVAC Manual)  | ||||
BLK  | 2450  | Ground (HVAC Manual)  | |||||
F  | RED  | 708  | Mode Door Position Signal  | ||||
 
 | |||||||
|---|---|---|---|---|---|---|---|
Connector Part Information  | 
 
  | ||||||
Pin  | Wire Color  | Circuit No.  | Function  | ||||
A1  | --  | --  | Not Used  | ||||
A2  | ORN  | 1044  | Radio Class 2 Serial Data  | ||||
A2  | ORN  | 1044  | Radio Class 2 Serial Data  | ||||
A3  | --  | --  | Not Used  | ||||
A4  | PPL/WHT  | 1382  | LED Dimming Signal  | ||||
A5  | PPL/WHT  | 1382  | LED Dimming Signal  | ||||
PPL/WHT  | 1382  | LED Dimming Signal  | |||||
A6  | PPL/WHT  | 1035  | Starter Relay Coil Supply Voltage  | ||||
A7  | PPL  | 420  | TCC Brake Switch Signal  | ||||
PPL  | 420  | TCC Brake Switch Signal  | |||||
A8  | PPL  | 420  | TCC Brake Switch Signal  | ||||
PPL  | 420  | TCC Brake Switch Signal  | |||||
A9  | --  | --  | Not Used  | ||||
A10  | ORN  | 1732  | Courtesy Lamps Supply Voltage  | ||||
ORN  | 1732  | Courtesy Lamps Supply Voltage  | |||||
A11  | LT GRN  | 1324  | Backup Lamp Supply Voltage  | ||||
A12  | BLK  | 1850  | Ground  | ||||
BLK  | 1850  | Ground  | |||||
B1  | DK GRN  | 835  | Entertainment and Comfort Serial Data  | ||||
DK GRN  | 835  | Entertainment and Comfort Serial Data  | |||||
B2  | --  | --  | Not Used  | ||||
B3  | TAN/WHT  | 1384  | Selective Ride Control Switch Signal  | ||||
B4  | --  | --  | Not Used  | ||||
B5  | PPL/WHT  | 1382  | LED Dimming Signal  | ||||
B6  | LT GRN  | 2806  | Crank Voltage  | ||||
B7  | BRN/WHT  | 379  | CPP Switch Signal  | ||||
B8  | --  | --  | Not Used  | ||||
B9  | DK BLU/WHT  | 149  | Courtesy Lamp Supply Voltage/Cargo Lamp Low Control  | ||||
DK BLU/WHT  | 149  | Courtesy Lamp Supply Voltage/Cargo Lamp Low Control  | |||||
B10-B11  | --  | --  | Not Used  | ||||
B12  | BLK  | 1850  | Ground  | ||||
BLK  | 1850  | Ground  | |||||
C1  | ORN  | 2240  | Battery Positive Voltage  | ||||
ORN  | 2240  | Battery Positive Voltage  | |||||
C2  | BLK  | 1850  | Ground  | ||||
C3  | BLK  | 1850  | Ground  | ||||
BLK  | 1850  | Ground  | |||||
C4  | GRY  | 8  | Instrument Panel Lamp Supply Voltage - 1  | ||||
C5  | GRY  | 8  | Instrument Panel Lamp Supply Voltage  | ||||
GRY  | 8  | Instrument Panel Lamp Supply Voltage  | |||||
C6-C8  | --  | --  | Not Used  | ||||
C9  | PNK  | 39  | Ignition 1 Voltage  | ||||
C10  | ORN  | 1732  | Courtesy Lamps Supply Voltage  | ||||
ORN  | 1732  | Courtesy Lamps Supply Voltage  | |||||
C11  | LT BLU  | 1620  | Trailer CHMSL Supply Voltage  | ||||
C12  | --  | --  | Not Used  | ||||
D1  | --  | --  | Not Used  | ||||
D2  | BLK  | 1850  | Ground  | ||||
D3  | GRY  | 8  | Instrument Panel Lamp Supply Voltage  | ||||
GRY  | 8  | Instrument Panel Lamp Supply Voltage  | |||||
D4  | GRY  | 8  | Instrument Panel Lamp Supply Voltage  | ||||
D5  | GRY  | 8  | Instrument Panel Lamp Supply Voltage  | ||||
D6-D7  | --  | --  | Not Used  | ||||
D8  | PNK  | 39  | Ignition 1 Voltage  | ||||
D9  | BRN  | 541  | Ignition 3 Voltage  | ||||
D10  | ORN  | 1040  | Battery Positive Voltage  | ||||
ORN  | 1040  | Battery Positive Voltage  | |||||
D11-D12  | --  | --  | Not Used  | ||||
E1  | ORN/BLK  | 156  | Courtesy Lamp Low Control  | ||||
E2  | GRY/BLK  | 690  | Courtesy Lamp Relay Control  | ||||
E3  | WHT  | 1430  | Exterior Courtesy Lamps Supply Voltage  | ||||
WHT  | 1430  | Exterior Courtesy Lamps Supply Voltage  | |||||
E4  | DK GRN  | 1655  | Exterior Courtesy Lamps Relay Control  | ||||
E5  | --  | --  | Not Used  | ||||
E6  | BRN  | 2309  | Front Park Lamps Supply Voltage  | ||||
E7-E8  | --  | --  | Not Used  | ||||
E9  | PNK  | 39  | Ignition 1 Voltage  | ||||
E10  | ORN  | 1040  | Battery Positive Voltage  | ||||
ORN  | 1040  | Battery Positive Voltage  | |||||
E11  | --  | --  | Not Used  | ||||
E12  | DK GRN/WHT  | 636  | Outside Air Temperature Sensor Signal  | ||||
F1  | --  | --  | Not Used  | ||||
F2  | BLK  | 1850  | Ground  | ||||
F3  | RED  | 122  | Rear Fog Lamp Supply Voltage  | ||||
F4  | --  | --  | Not Used  | ||||
F5  | BRN  | 2309  | Front Park Lamps Supply Voltage  | ||||
F6  | LT BLU  | 74  | Park Lamp Switch Signal  | ||||
F7  | ORN  | 240  | Battery Positive Voltage  | ||||
F8  | --  | --  | Not Used  | ||||
F9  | PNK  | 39  | Ignition 1 Voltage  | ||||
F10-F11  | --  | --  | Not Used  | ||||
F12  | BLK/WHT  | 1704  | Low Reference  | ||||
 
 | |||||||
|---|---|---|---|---|---|---|---|
Connector Part Information  | 
 
  | ||||||
Pin  | Wire Color  | Circuit No.  | Function  | ||||
A1  | ORN  | 1732  | Courtesy Lamps Supply Voltage  | ||||
A2  | DK BLU  | 1393  | Interior Lamp Relay Coil Control  | ||||
A3  | DK BLU  | 45  | Park Lamp Supply Voltage  | ||||
A4-A5  | --  | --  | Not Used  | ||||
A6  | LT BLU  | 74  | Park Lamp Switch Signal  | ||||
A7  | ORN  | 240  | Battery Positive Voltage  | ||||
A8  | --  | --  | Not Used  | ||||
A9  | DK BLU  | 15  | Right Turn Signal Lamps Supply Voltage  | ||||
DK BLU  | 15  | Right Turn Signal Lamps Supply Voltage  | |||||
A10  | ORN  | 1440  | Battery Positive Voltage  | ||||
A11-A12  | --  | --  | Not Used  | ||||
B1  | ORN  | 1732  | Courtesy Lamps Supply Voltage  | ||||
B2-B4  | --  | --  | Not Used  | ||||
B5  | LT BLU  | 14  | Left Turn Signal Lamps Supply Voltage  | ||||
LT BLU  | 14  | Left Turn Signal Lamps Supply Voltage  | |||||
B6  | WHT  | 1080  | Park Lamp Relay Control  | ||||
B7  | --  | --  | Not Used  | ||||
B8  | BLK/WHT  | 451  | Ground  | ||||
B9  | DK BLU  | 15  | Right Turn Signal Lamps Supply Voltage  | ||||
DK BLU  | 15  | Right Turn Signal Lamps Supply Voltage  | |||||
B10-B12  | --  | --  | Not Used  | ||||
C1  | --  | --  | Not Used  | ||||
C2  | ORN  | 40  | Battery Positive Voltage  | ||||
ORN  | 40  | Battery Positive Voltage  | |||||
C3  | LT GRN/BLK  | 592  | DRL Relay Control  | ||||
C4  | --  | --  | Not Used  | ||||
C5  | LT BLU  | 14  | Left Turn Signal Lamps Supply Voltage  | ||||
LT BLU  | 14  | Left Turn Signal Lamps Supply Voltage  | |||||
C6-C7  | --  | --  | Not Used  | ||||
C8  | BLK/WHT  | 451  | Ground  | ||||
BLK/WHT  | 451  | Ground  | |||||
C9  | BLK  | 1850  | Ground  | ||||
BLK  | 1850  | Ground  | |||||
C10  | BLK  | 1850  | Ground  | ||||
BLK  | 1850  | Ground  | |||||
C11  | BLK  | 1850  | Ground  | ||||
C12  | ORN  | 2340  | Battery Positive Voltage  | ||||
D1-D2  | --  | --  | Not Used  | ||||
D3  | GRY  | 8  | Instrument Panel Lamp Supply Voltage  | ||||
D4  | GRY  | 8  | Instrument Panel Lamp Supply Voltage  | ||||
D5  | DK GRN/WHT  | 817  | Vehicle Speed Signal  | ||||
DK GRN/WHT  | 817  | Vehicle Speed Signal  | |||||
D6-D7  | --  | --  | Not Used  | ||||
D8  | BLK/WHT  | 451  | Ground  | ||||
D9  | BLK  | 1850  | Ground  | ||||
D10  | LT BLU  | 1620  | Trailer CHMSL Supply Voltage  | ||||
D11  | ORN  | 2240  | Battery Positive Voltage  | ||||
ORN  | 2240  | Battery Positive Voltage  | |||||
D12  | ORN  | 2340  | Battery Positive Voltage  | ||||
E1-E4  | --  | --  | Not Used  | ||||
E5  | DK GRN/WHT  | 817  | Vehicle Speed Signal  | ||||
DK GRN/WHT  | 817  | Vehicle Speed Signal  | |||||
E6-E9  | --  | --  | Not Used  | ||||
E10  | RED  | 142  | Battery Positive Voltage  | ||||
E11  | PNK  | 739  | Ignition 1 Voltage  | ||||
E12  | --  | --  | Not Used  | ||||
F1-F4  | --  | --  | Not Used  | ||||
F5  | DK GRN/WHT  | 817  | Vehicle Speed Signal  | ||||
F6  | DK GRN/WHT  | 817  | Vehicle Speed Signal  | ||||
F7  | --  | --  | Not Used  | ||||
F8  | BRN  | 2409  | Interior Park Lamps Supply Voltage  | ||||
BRN  | 2409  | Interior Park Lamps Supply Voltage  | |||||
F9  | BRN  | 39  | Ignition 1 Voltage  | ||||
BRN  | 39  | Ignition 1 Voltage  | |||||
F10  | DK BLU  | 47  | Trailer Auxiliary Supply Voltage  | ||||
F11  | YEL  | 243  | Accessory Voltage  | ||||
F12  | BLK  | 2550  | Ground  | ||||
 
 | |||||||
|---|---|---|---|---|---|---|---|
Connector Part Information  | 
 
  | ||||||
Pin  | Wire Color  | Circuit No.  | Function  | ||||
A  | ORN  | 2340  | Battery Positive Voltage  | ||||
B  | --  | --  | Not Used  | ||||
C  | BLK  | 2550  | Ground  | ||||
D  | YEL  | 243  | Accessory Voltage  | ||||
E  | --  | --  | Not Used  | ||||
F  | ORN  | 2240  | Battery Positive Voltage  | ||||
 
 | |||||||
|---|---|---|---|---|---|---|---|
Connector Part Information  | 
 
  | ||||||
Pin  | Wire Color  | Circuit No.  | Function  | ||||
A  | LT BLU  | 1620  | Trailer CHMSL Supply Voltage  | ||||
B  | RED  | 142  | Battery Positive Voltage  | ||||
C  | DK BLU  | 47  | Trailer Auxiliary Supply Voltage  | ||||
D  | BRN  | 2409  | Interior Park Lamps Supply Voltage  | ||||
E  | --  | --  | Not Used  | ||||
F  | BLK  | 1850  | Ground  | ||||
 
 | |||||||
|---|---|---|---|---|---|---|---|
Connector Part Information  | 
 
  | ||||||
Pin  | Wire Color  | Circuit No.  | Function  | ||||
A  | PNK  | 39  | Ignition 1 Voltage  | ||||
B  | DK BLU/WHT  | 149  | Courtesy Lamp Supply Voltage/Cargo Lamp Low Control  | ||||
C  | ORN/BLK  | 156  | Courtesy Lamp Low Control  | ||||
ORN/BLK  | 156  | Courtesy Lamp Low Control  | |||||
D  | ORN  | 1732  | Courtesy Lamps Supply Voltage  | ||||
ORN  | 1732  | Courtesy Lamps Supply Voltage  | |||||
E  | ORN  | 1732  | Courtesy Lamps Supply Voltage  | ||||
ORN  | 1732  | Courtesy Lamps Supply Voltage  | |||||
F  | ORN  | 1732  | Courtesy Lamps Supply Voltage  | ||||
G  | LT BLU  | 1620  | Trailer CHMSL Supply Voltage  | ||||
H  | BRN  | 2409  | Interior Park Lamps Supply Voltage  | ||||
J  | LT GRN  | 1324  | Backup Lamp Supply Voltage  | ||||
K  | BLK  | 1850  | Ground  | ||||
L  | BLK  | 1850  | Ground  | ||||
BLK  | 1850  | Ground  | |||||
M  | BLK  | 1850  | Ground  | ||||
BLK  | 1850  | Ground  | |||||
 
 | |||||||
|---|---|---|---|---|---|---|---|
Connector Part Information  | 
 
  | ||||||
Pin  | Wire Color  | Circuit No.  | Function  | ||||
A  | PPL/WHT  | 1035  | Starter Relay Coil Supply Voltage  | ||||
B  | LT GRN  | 2806  | Crank Voltage  | ||||
C  | PPL  | 420  | TCC Brake Switch Signal  | ||||
D  | BRN/WHT  | 379  | CPP Switch Signal  | ||||
 
 | |||||||
|---|---|---|---|---|---|---|---|
Connector Part Information  | 
 
  | ||||||
Pin  | Wire Color  | Circuit No.  | Function  | ||||
A  | ORN  | 2340  | Battery Positive Voltage  | ||||
B  | ORN  | 2340  | Battery Positive Voltage  | ||||
 
 | |||||||
|---|---|---|---|---|---|---|---|
Connector Part Information  | 
 
  | ||||||
Pin  | Wire Color  | Circuit No.  | Function  | ||||
A  | BLK  | 1850  | Ground  | ||||
B  | TAN/WHT  | 1384  | Selective Ride Control Switch Signal  | ||||
C  | --  | --  | Not Used  | ||||
D  | PPL/WHT  | 1382  | LED Dimming Signal  | ||||
E  | PNK  | 739  | Ignition 1 Voltage  | ||||
F  | GRY  | 8  | Instrument Panel Lamp Supply Voltage - 1  | ||||
 
 | |||||||
|---|---|---|---|---|---|---|---|
Connector Part Information  | 
 
  | ||||||
Pin  | Wire Color  | Circuit No.  | Function  | ||||
A  | --  | --  | Not Used  | ||||
B  | ORN  | 1040  | Battery Positive Voltage  | ||||
 
 | |||||||
|---|---|---|---|---|---|---|---|
Connector Part Information  | 
 
  | ||||||
Pin  | Wire Color  | Circuit No.  | Function  | ||||
A  | ORN  | 1440  | Battery Positive Voltage  | ||||
B  | ORN  | 1440  | Battery Positive Voltage  | ||||
 
 | |||||||
|---|---|---|---|---|---|---|---|
Connector Part Information  | 
 
  | ||||||
Pin  | Wire Color  | Circuit No.  | Function  | ||||
A  | LT BLU  | 2114  | Left Turn Signal Lamps Supply Voltage  | ||||
B  | LT BLU  | 1320  | CHMSL Supply Voltage  | ||||
C  | LT GRN  | 1324  | Backup Lamp Supply Voltage  | ||||
D  | BRN/WHT  | 2609  | Right Rear Park Lamps Supply Voltage  | ||||
E  | BLK  | 1750  | Ground -UY7  | ||||
F  | LT GRN  | 1324  | Backup Lamp Supply Voltage  | ||||
G  | BRN  | 2509  | Left Rear Park Lamps Supply Voltage  | ||||
H  | DK BLU  | 2115  | Right Turn Signal Lamps Supply Voltage  | ||||
 
 | |||||||
|---|---|---|---|---|---|---|---|
Connector Part Information  | 
 
  | ||||||
Pin  | Wire Color  | Circuit No.  | Function  | ||||
A  | BLK  | 1750  | Ground  | ||||
B  | BLK  | 1750  | Ground  | ||||
C  | BLK  | 1750  | Ground  | ||||
D  | LT BLU  | 1320  | CHMSL Supply Voltage  | ||||
E  | BRN  | 2509  | Left Rear Park Lamps Supply Voltage  | ||||
F  | LT GRN  | 1324  | Backup Lamp Supply Voltage  | ||||
H  | LT BLU  | 2114  | Left Turn Signal Lamps Supply Voltage  | ||||
 
 | |||||||
|---|---|---|---|---|---|---|---|
Connector Part Information  | 
 
  | ||||||
Pin  | Wire Color  | Circuit No.  | Function  | ||||
A  | BRN/WHT  | 2609  | Right Rear Park Lamps Supply Voltage  | ||||
B  | BRN/WHT  | 2609  | Right Rear Park Lamps Supply Voltage  | ||||
C  | BLK  | 1750  | Ground  | ||||
D  | BLK  | 1750  | Ground  | ||||
E  | BLK  | 1750  | Ground  | ||||
F  | BRN  | 2509  | Left Rear Park Lamps Supply Voltage  | ||||
G  | BRN  | 2509  | Left Rear Park Lamps Supply Voltage  | ||||
H  | BLK  | 1750  | Ground  | ||||
 
 | |||||||
|---|---|---|---|---|---|---|---|
Connector Part Information  | 
 
  | ||||||
Pin  | Wire Color  | Circuit No.  | Function  | ||||
A  | LT BLU  | 1320  | CHMSL Supply Voltage  | ||||
B  | BRN/WHT  | 2609  | Right Rear Park Lamps Supply Voltage  | ||||
C  | BLK  | 1750  | Ground  | ||||
D  | BLK  | 1750  | Ground  | ||||
E  | LT GRN  | 1324  | Backup Lamp Supply Voltage  | ||||
F  | DK BLU  | 2115  | Right Turn Signal Lamps Supply Voltage  | ||||
H  | BLK  | 1750  | Ground  | ||||