GM Service Manual Online
For 1990-2009 cars only

Rear License Plate Lamp Replacement W/ Step Bumper

Removal Procedure

  1. Ensure the headlamp switch is in the OFF position.

  2. Object Number: 348708  Size: SH
  3. Remove the lens from the lamp assembly.
  4. Remove the bulb.

Installation Procedure


    Object Number: 348708  Size: SH
  1. Install the bulb.
  2. Install the lens to the lamp assembly.
  3. Inspect the operation.

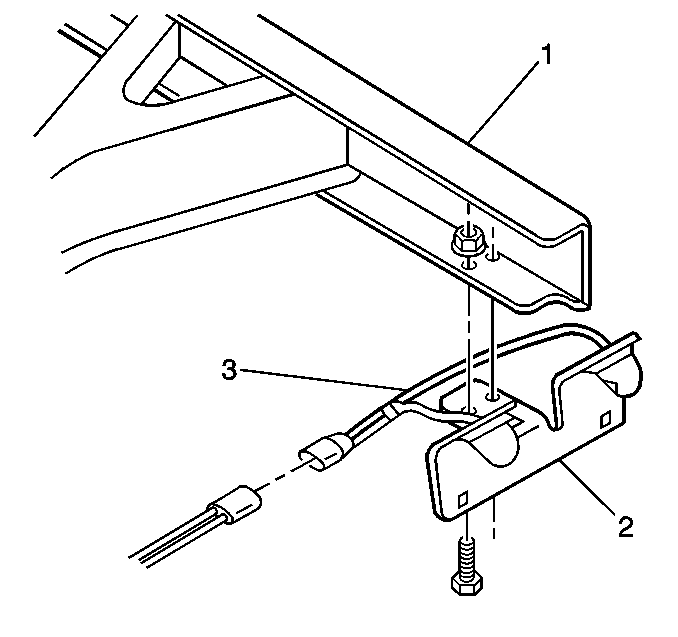
Rear License Plate Lamp Replacement Pickup W/O Bumper

Removal Procedure

  1. Ensure the headlamp switch is in the OFF position.

  2. Object Number: 277232  Size: SH
  3. Remove the lens from the lamp assembly (2).
  4. Remove the bulb.

Installation Procedure


    Object Number: 277232  Size: SH
  1. Install the bulb.
  2. Install the lens to the lamp assembly (2).
  3. Install the wiring (3) to the back of the lens assembly.