GM Service Manual Online
For 1990-2009 cars only
Makes
🢒
Chevrolet
🢒
2002
🢒
Chevy C Silverado - 2WD
🢒
Steering
🢒
Rear Wheel Steering
🢒 Rear Wheel Steering Schematics
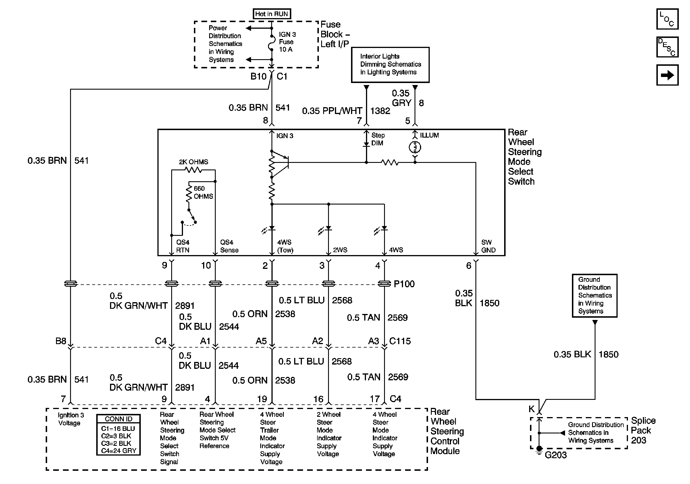
Figure
1:
Switch Inputs
Master Electrical Component List
Handwheel Position Sensor
4WD, HVAC 1, and IGN 3 Fuses
IPC, Roof Beacon, and Rear Wheel Steering Switch
G203 - 1 of 3
G203 - 1 of 3
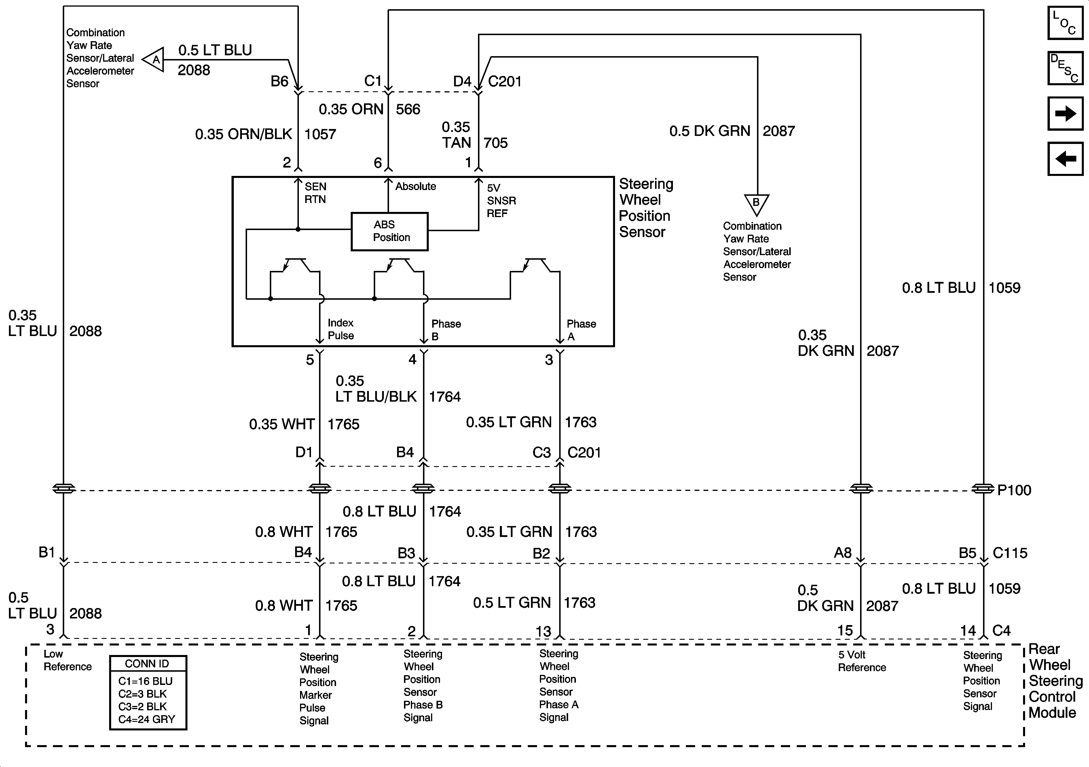
Figure
2:
Steering Wheel Speed/Position Sensor
Master Electrical Component List
Power, Ground, YAW/Rate and Rear Position Sensor
Switch Inputs
Power, Ground, YAW/Rate and Rear Position Sensor
Power, Ground, YAW/Rate and Rear Position Sensor
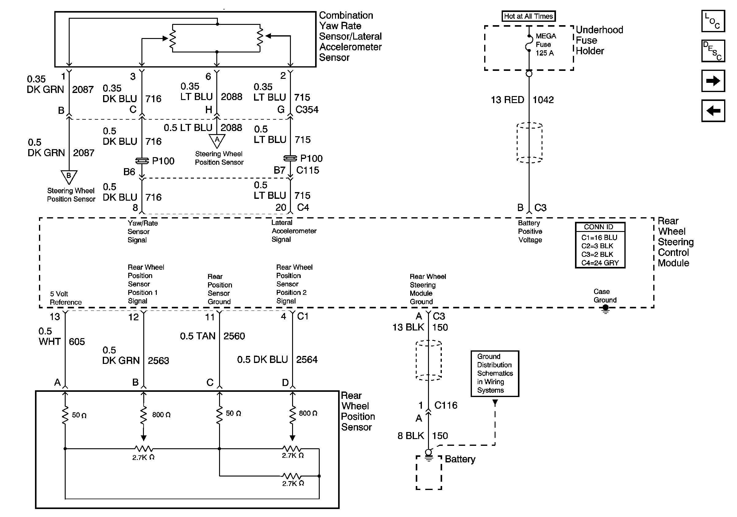
Figure
3:
Power, Ground,Combination YAW Rate Sensor/Lateral Accelerometer Sensor,and Rear Wheel Position Sensor
Master Electrical Component List
Steering Gear Motor Assembly
Handwheel Position Sensor
G103 and G105 - Gas
Handwheel Position Sensor
Handwheel Position Sensor
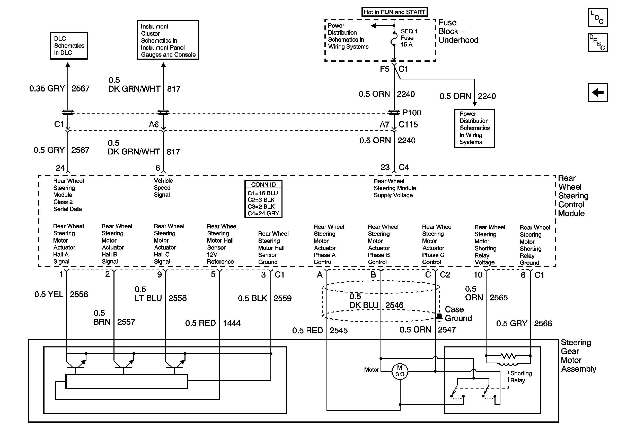
Figure
4:
Steering Gear Motor Assembly
Master Electrical Component List
Power, Ground, YAW/Rate and Rear Position Sensor
Splice Pack SP205
Gages
SEO 1, SEO 2, RR HVAC, EXP LPS, ATC, and RR WPR
SEO 1, SEO 2, RR HVAC, EXP LPS, ATC, and RR WPR