GM Service Manual Online
For 1990-2009 cars only

Assist Step Replacement Body Mount

Removal Procedure


    Object Number: 768787  Size: SH
  1. Remove the following components from the vehicle:
  2. 1.1. The center body mount bolt (1)
    1.2. The lock washer
    1.3. The washer
  3. Remove the center lower body-cushion assemblies (4).
  4. Remove the following components from the assist step:
  5. 3.1. The center bolt (2)
    3.2. The lock washer
    3.3. The washer
  6. Remove the assist step center bracket (5).

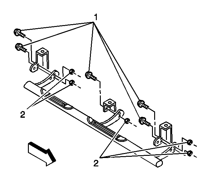
  7. Object Number: 768798  Size: SH
  8. With an assistant, remove the following front components, and rear components:
  9. 5.1. The body mount bolts (1)
    5.2. The lock washers (2)
    5.3. The washers (3)
  10. With an assistant, remove the assist step assembly from the vehicle.
  11. Remove the lower body-mount cushion assemblies (4), front and rear, from the vehicle.

  12. Object Number: 768801  Size: SH
  13. Remove the following components from the front assist step brackets, and from the rear assist step brackets:
  14. 8.1. The bolts (1)
    8.2. The lock washers (2)
    8.3. The washers (3)
  15. Remove the front brackets, and the rear brackets (4) from the assist step.
  16. Remove the front gaskets, and the rear gaskets (5) from the assist step.

Installation Procedure


    Object Number: 768801  Size: SH

    Important: Apply thread locker GM P/N 12345382 to all bolt threads prior to assembly.

  1. Install the front gaskets, and the rear gaskets (5) to the assist step.
  2. Install the front brackets, and the rear brackets (4) to the assist step.
  3. Notice: Use the correct fastener in the correct location. Replacement fasteners must be the correct part number for that application. Fasteners requiring replacement or fasteners requiring the use of thread locking compound or sealant are identified in the service procedure. Do not use paints, lubricants, or corrosion inhibitors on fasteners or fastener joint surfaces unless specified. These coatings affect fastener torque and joint clamping force and may damage the fastener. Use the correct tightening sequence and specifications when installing fasteners in order to avoid damage to parts and systems.

  4. Install the following components to the front assist step bracket, and the rear assist step bracket:
  5. 3.1. The washers (3)
    3.2. The lock washers (2)
    3.3. The bolts (1)

    Tighten
    Torque the bolts to 90 N·m (66 lb ft).


    Object Number: 768798  Size: SH
  6. Install the lower body-mount cushion assemblies (4), front and rear, to the vehicle.
  7. With an assistant, raise the assist step to the vehicle.
  8. With an assistant, install the following front components, and rear components:
  9. 6.1. The washers (3)
    6.2. The lock washers (2)
    6.3. The body mount bolts (1)

    Tighten
    Torque the bolts to 90 N·m (66 lb ft).


    Object Number: 768787  Size: SH
  10. Install (5) the assist step center bracket.
  11. Install (2) the following components to the assist step:
  12. 8.1. The washer
    8.2. The lock washer
    8.3. The center bolt

    Tighten
    Torque to 45 N·m (33 lb ft).

  13. Install (1) the following components to the assist step:
  14. 9.1. The washer
    9.2. The lock washer
    9.3. The center body mount bolt

    Tighten
    Torque to 90 N·m (66 lb ft).

Assist Step Replacement Frame Mount

Removal Procedure


    Object Number: 768956  Size: SH
  1. With an assistant, remove the front retaining bolt (3) from the assist step.

  2. Object Number: 768959  Size: SH
  3. With an assistant, remove the rear retaining bolt (2) from the assist step.
  4. Remove the assist step from the vehicle.

  5. Object Number: 768958  Size: SH
  6. Remove the front bracket retainers (1), and remove the bracket (4) from the vehicle.

  7. Object Number: 768960  Size: SH
  8. Remove the rear bracket retainers (1), and remove the bracket (8) from the vehicle.

Installation Procedure


    Object Number: 768960  Size: SH

    Important:  Prior to installing all bolts apply thread locker GM P/N 12345382.

    Important: The left side may use a nut plate in place of the washers, and in place of the nuts.

  1. Install the rear bracket (8) with the following components:
  2. 1.1. The spacers (7)
    1.2. The bolts
    1.3. The washers
    1.4. The lock washers
    1.5. The nuts--Leave the fasteners hand-tightened at this time.

    Object Number: 768958  Size: SH
  3. Install the front bracket hook bolts (6) with poly liners to the frame.
  4. Install the spacers (5) to the hook bolts.
  5. Install the front bracket with the following components:
  6. 4.1. The washers (3)
    4.2. The lock washers (2)
    4.3. The nuts (1)--Leave the fasteners hand-tightened at this time.

    Object Number: 768959  Size: SH
  7. With an assistant, install the step to the vehicle.
  8. With an assistant, install the following components to the rear assist step bracket:
  9. 6.1. The gasket (1)
    6.2. The washer (4)
    6.3. The lock washer (3)
    6.4. The bolt (2)--Leave the fasteners hand-tightened at this time.

    Object Number: 768956  Size: SH
  10. With an assistant, install the following components to the assist step:
  11. 7.1. The gasket (1)
    7.2. The washer (5)
    7.3. The lock washer (4)
    7.4. The bolt (3)

    Notice: Use the correct fastener in the correct location. Replacement fasteners must be the correct part number for that application. Fasteners requiring replacement or fasteners requiring the use of thread locking compound or sealant are identified in the service procedure. Do not use paints, lubricants, or corrosion inhibitors on fasteners or fastener joint surfaces unless specified. These coatings affect fastener torque and joint clamping force and may damage the fastener. Use the correct tightening sequence and specifications when installing fasteners in order to avoid damage to parts and systems.

  12. Align step with rocker panel, and tighten the bolts.
  13. Tighten
    Torque all fasteners to 81 N·m (60 lb ft).

Assist Step Replacement Sierra Pro

Removal Procedure


    Object Number: 813943  Size: SH
  1. With the aid of an assistant remove the following components:
  2. 1.1. The body mounts (1)
    1.2. The washers
  3. With an assistant, remove the assist step assembly from the vehicle.
  4. Remove the lower body-mount cushion assemblies (2) from the vehicle.

  5. Object Number: 822240  Size: SH
  6. Remove the assist step bracket bolts (1).
  7. Remove the assist step brackets.

Installation Procedure


    Object Number: 822240  Size: SH

    Important: Apply thread locker GM P/N 12345382 (Canadian P/N 10953489), to all bolt threads prior to assembly

  1. Install assist step brackets.
  2. Install the assist step bracket bolts (1).
  3. Notice: Use the correct fastener in the correct location. Replacement fasteners must be the correct part number for that application. Fasteners requiring replacement or fasteners requiring the use of thread locking compound or sealant are identified in the service procedure. Do not use paints, lubricants, or corrosion inhibitors on fasteners or fastener joint surfaces unless specified. These coatings affect fastener torque and joint clamping force and may damage the fastener. Use the correct tightening sequence and specifications when installing fasteners in order to avoid damage to parts and systems.

  4. Install assist step bracket nuts (2).
  5. Tighten
    Torque the bolts to 50 N·m (37 lb ft)


    Object Number: 813943  Size: SH
  6. Install the lower body-mount cushion assemblies (2) to the vehicle.
  7. With an assistant, raise the assist step to the vehicle.
  8. With an assistant, install the following:
  9. 6.1. The washers
    6.2. The body mount bolts (1)

    Tighten
    Torque bolts to 90 N·m (66 lb ft)