GM Service Manual Online
For 1990-2009 cars only
Makes
🢒
Chevrolet
🢒
2002
🢒
Chevy C Silverado - 2WD
🢒
Body and Accessories
🢒
Wiring Systems
🢒 Theft Deterrent System Schematics
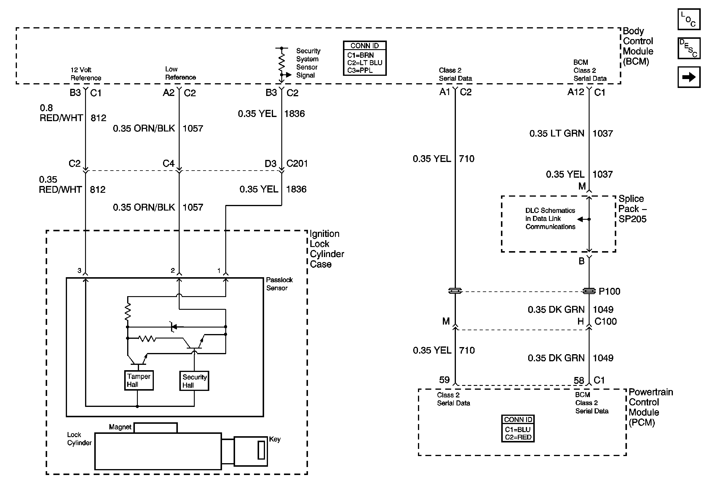
Figure
1:
Ignition Tamper/Security Sensors
Master Electrical Component List
Theft Systems Description and Operation
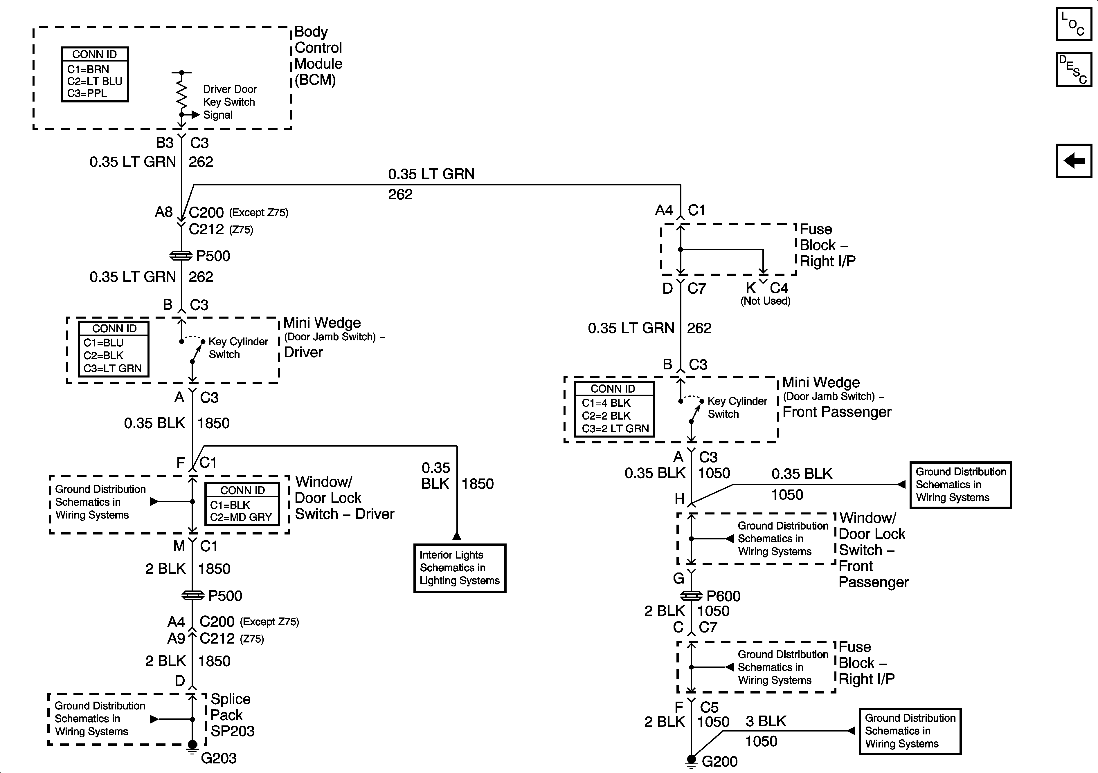
Key Cylinder Switches
Splice Pack SP205
Figure
2:
Key Cylinder Switches
Master Electrical Component List
Theft Systems Description and Operation
Ignition Tamper/Security Sensors
G203 - 1 of 3
Door Jamb Switch Signals - Uplevel Crewcab
G203 - 1 of 3
G200
G200
G200
G200