GM Service Manual Online
For 1990-2009 cars only
Makes
🢒
Chevrolet
🢒
2002
🢒
Chevy C Silverado - 2WD
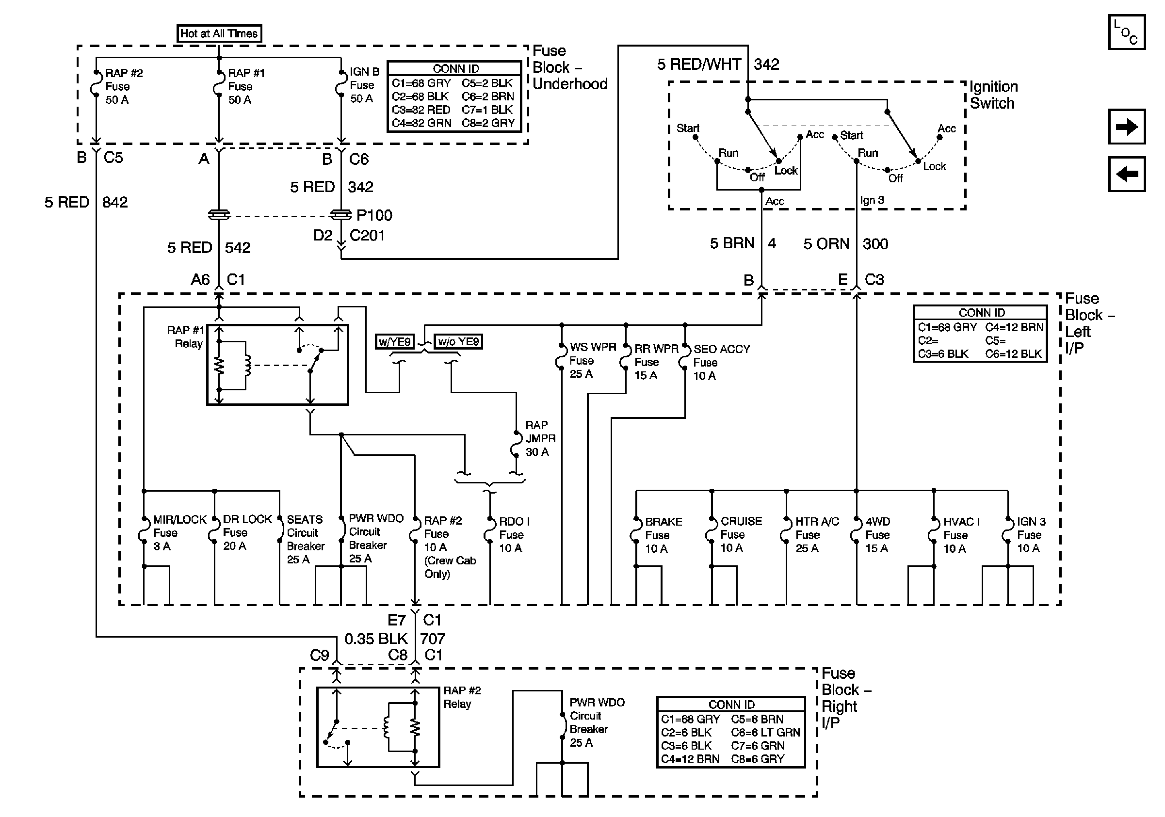
🢒 Ignition, Run, Accessory, and RAP Bus Bars - RAP#1 and RAP#2 Fuses
Ignition, Run, Accessory, and RAP Bus Bars - RAP#1 and RAP#2 Fuses
Ignition, Run, Accessory, and RAP Bus Bars - RAP#1 and RAP #2 Fuses
Master Electrical Component List
Stop, Turn, and Hazard Bus Bars
Ignition, Run, and Start Bus Bar