GM Service Manual Online
For 1990-2009 cars only

Object Number: 878163  Size: MF
Master Electrical Component List
Automatic Transmission Controls Schematics
OBD II Symbol Description Notice

Circuit Description

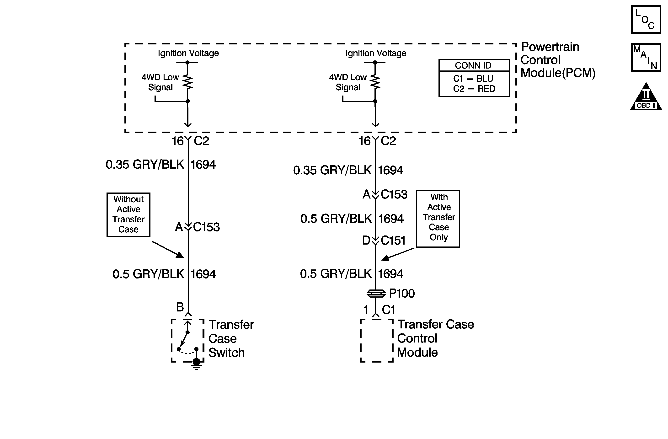
For vehicles equipped with an active transfer case, the four wheel drive, 4WD, low circuit consists of the powertrain control module (PCM), a transfer case control module and the circuit wiring. The transfer case control module controls the 4WD low signal on the low signal circuit. When the operator selects 4WD low, the transfer case control module grounds the signal circuit, and the 4WD low signal voltage on the circuit changes from ignition voltage to zero volts. The PCM then compensates for transfer case gear reduction in the transmission output shaft speed (OSS) sensor signal. The PCM uses the transmission OSS sensor signal to adjust shift points, line pressure and torque converter clutch (TCC) scheduling.

For vehicles not equipped with an active transfer case, the 4WD low circuit consists of the PCM, a transfer case switch and the circuit wiring. The transfer case switch controls the 4WD low signal on the signal circuit. When the operator selects 4WD low, the transfer case switch closes and the 4WD low signal voltage on the signal circuit changes from ignition voltage to zero volts. The PCM then compensates for transfer case gear reduction in the transmission output shaft speed (OSS) sensor signal. The PCM uses the transmission OSS sensor signal to adjust shift points, line pressure and TCC scheduling.

When the PCM detects a continuous open, short to ground or short to power in the 4WD low circuit, then DTC P1875 sets. DTC P1875 is a type B DTC.

Conditions for Running the DTC

    • No TP sensor DTCs P0122, or P0123.
    • No VSS assembly DTCs P0502 or P0503.
    • No TCC solenoid valve DTC P0740.
    • No TCC stuck ON DTC P0742.
    • No 1-2 SS valve DTCs P0751 or P0753.
    • No 2-3 SS valve DTCs P0756 or P0758.
    • No TFP manual valve position switch DTC P1810.
    • No TCC PWM solenoid valve DTC P1860.
    • The engine speed is greater than 450 RPM for 5 seconds.
    • The engine is not in fuel cutoff.
    • The vehicle speed is greater than 11 km/h (7 mph).
    • The TP angle is 17-50 percent.
    • The engine torque is 54-542 N·m (40-400 lb ft).
    • The engine vacuum is 0-105 kPa (0-15 psi).
    • The gear range is D4.
    • The shift solenoid performance counters are zero.
    • The TFT is 20-130°C (68-266°F).

Conditions for Setting the DTC

DTC P1875 sets if one of the following conditions occurs:

Condition 1

    • The 4WD low switch is in 4WD low.
    • The transfer case is not in 4WD low.
    • The TCC slip speed is -3,000 to -50 RPM.
    • The transfer case ratio is 0.08-1.2, the transfer case ratio is the engine speed divided by the transfer case output speed.
    • All conditions are met for 5 seconds.

Condition 2

    • The 4WD low switch is not in 4WD low.
    • The transfer case is in 4WD low.
    • The TCC is commanded ON.
    • The TCC slip speed is 100 to 3,000 RPM.
    • The transfer case ratio is 2.5-2.9.
    • All conditions are met for 10 seconds.

Action Taken When the DTC Sets

    • The PCM illuminates the malfunction indicator lamp (MIL) during the second consecutive trip in which the Conditions for Setting the DTC are met.
    • The PCM commands a normal shift pattern, not a 4WD low shift pattern.
    • The PCM records the operating conditions when the Conditions for Setting the DTC are met. The PCM stores this information as Freeze Frame and Failure Records.
    • The PCM stores DTC P1875 in PCM history during the second consecutive trip in which the Conditions for Setting the DTC are met.

Conditions for Clearing the MIL/DTC

    • The PCM turns OFF the MIL during the third consecutive trip in which the diagnostic test runs and passes.
    • A scan tool can clear the MIL/DTC.
    • The PCM clears the DTC from PCM history if the vehicle completes 40 warm-up cycles without an emission-related diagnostic fault occurring.
    • The PCM cancels the DTC default actions when the fault no longer exists and/or the ignition switch is OFF long enough in order to power down the PCM.

Test Description

The numbers below refer to the step numbers on the diagnostic table.

  1. This step tests for a short to ground in the 4WD low signal circuit (CKT 1694).

  2. This step tests for an open in the 4WD low signal circuit (CKT 1694) or a faulty transfer case control module, active transfer case vehicles, or transfer case switch, non-active transfer case vehicles.

DTC P1875

Step

Action

Value(s)

Yes

No

1

Did you perform the Powertrain Diagnostic System Check?

--

Go to Step 2

Go to Diagnostic System Check - Engine Controls in Engine Controls - 4.3 L or Diagnostic System Check - Engine Controls in Engine Controls - 4.8 L, 5.3 L and 6.0 L

2

  1. Install a scan tool.
  2. Start the engine, parking brake disengaged.
  3. Important: Before clearing the DTC, use the scan tool in order to record the Freeze Frame and Failure Records. Using the Clear Info function erases the Freeze Frame and Failure Records from the PCM.

  4. Record the DTC Freeze Frame and Failure Records.
  5. Clear the DTC.
  6. Place the transmission in NEUTRAL.
  7. Select 4HI on the transfer case selector.
  8. Important: It may be necessary to drive the vehicle slightly forward to engage 4LO on the transfer case.

  9. Select 4LO on the transfer case selector.

Does the scan tool 4WD Low display Disabled when you select 4HI, then Enabled when you select 4LO?

--

Go to Intermittent Conditions in Engine Controls - 4.3 L or Intermittent Conditions in Engine Controls - 4.8 L, 5.3 L and 6.0 L

Go to Step 3

3

  1. Turn OFF the ignition.
  2. Disconnect the transfer case control module connector, active transfer case vehicles, or the transfer case switch connector, non-active transfer case vehicles.
  3. Turn ON the ignition, with the engine OFF.

Does the scan tool 4WD Low indicate Enabled?

--

Go to Step 6

Go to Step 4

4

  1. Connect C1-1 of the transfer case control module connector, active transfer case vehicles, to ground, or terminal B of the transfer case switch connector, non-active transfer case vehicles, to ground.
  2. Observe the scan tool 4WD Low.

Does the scan tool 4WD Low indicate Enabled when the 4WD low signal circuit (1694) is grounded?

--

Go to Step 5

Go to Step 7

5

Replace the transfer case control module, active transfer case vehicles, or the transfer case selector switch, non-active transfer case vehicles.

Refer to Transfer Case Shift Control Module Replacement in Transfer Case - NVG 236/246-NP8 (Two Speed Automatic) or Transfer Case Gear Indicator Switch Replacement in Transfer Case - NVG 261-NP2 (Two Speed Manual).

Did you complete the replacement?

--

Go to Step 9

--

6

Test the 4WD low signal circuit (CKT 1694) for a short to ground.

Refer to Circuit Testing and Wiring Repairs in Wiring Systems.

Did you find and correct the condition?

--

Go to Step 9

Go to Step 8

7

Test the 4WD low signal circuit (CKT 1694) for an open.

Refer to Circuit Testing and Wiring Repairs in Wiring Systems.

Did you find and correct the condition?

--

Go to Step 9

Go to Step 8

8

Replace the PCM.

Refer to Powertrain Control Module Replacement in Engine Controls - 4.3 L or Powertrain Control Module Replacement in Engine Controls - 4.8 L, 5.3 L and 6.0 L.

Did you complete the replacement?

--

Go to Step 9

--

9

Perform the following procedure in order to verify the repair:

  1. Select DTC.
  2. Select Clear Info.
  3. Operate the vehicle under the following conditions:
  4. 3.1. Select 4LO on the transfer case selector.
    3.2. Drive the vehicle in D4.
    3.3. Verify that the speed ratio is 2.5-2.9 for 1.5 seconds.
    3.4. Select 2HI or 4HI on the transfer case selector.
    3.5. Drive the vehicle in D4 with the TCC ON.
    3.6. Verify that the speed ratio is 0.8-1.2 for 5 seconds.
  5. Select Specific DTC.
  6. Enter DTC P1875.

Has the test run and passed?

--

System OK

Go to Step 1