GM Service Manual Online
For 1990-2009 cars only

Accessory Power Receptacle Harness Replacement 5.3L Engine w/RPO HP2

Removal Procedure


    Object Number: 1257479  Size: SH
  1. Disconnect the energy storage box (ESB). Refer to Hybrid Battery Service Disconnect/Connect .
  2. Disconnect the accessory power receptacle electrical connector (1) at the starter/generator control module (SGCM).

  3. Object Number: 1257477  Size: SH
  4. Remove the accessory power receptacle harness clip (2) from the tray.

  5. Object Number: 1257475  Size: SH
  6. Remove the accessory power receptacle to 42V electrical connector clip.
  7. Disconnect the accessory power receptacle electrical connector (1) to 42V electrical connector (2).

  8. Object Number: 1257481  Size: SH
  9. Remove the accessory power receptacle harness clips from the engine harness.
  10. Raise and suitably support the vehicle. Refer to Lifting and Jacking the Vehicle in General Information.

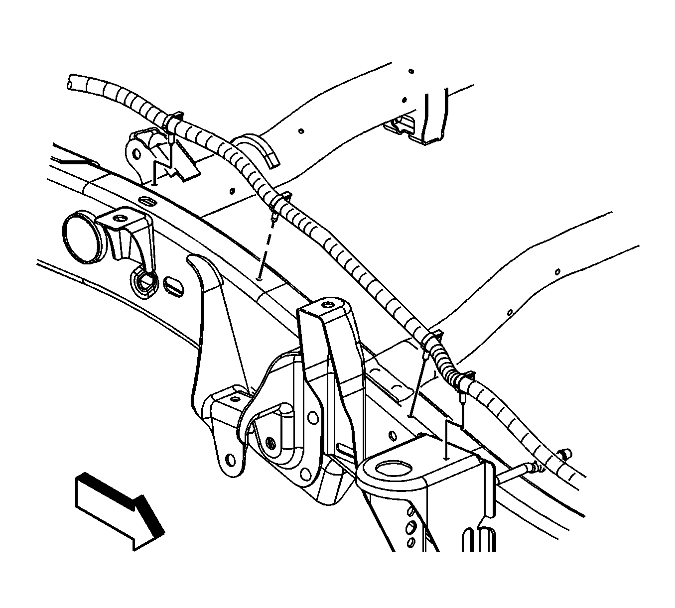
  11. Object Number: 1257483  Size: SH
  12. Remove the accessory power receptacle harness clips from the frame front side rail.

  13. Object Number: 1257484  Size: SH
  14. Remove the accessory power receptacle harness clips from the frame side rail.

  15. Object Number: 1257487  Size: SH
  16. Remove the accessory power receptacle harness clips from the frame rear side rail.
  17. Remove the accessory power receptacle harness ground wire bolt (1).
  18. Reposition the ground wire from the frame.

  19. Object Number: 1257489  Size: SH
  20. Disconnect the accessory power receptacle harness electrical connector from the receptacle.
  21. Remove the accessory power receptacle harness from the vehicle.

Installation Procedure


    Object Number: 1257489  Size: SH
  1. Install the accessory power receptacle harness to the vehicle.
  2. Connect the accessory power receptacle harness electrical connector to the receptacle.
  3. Notice: Refer to Fastener Notice in the Preface section.


    Object Number: 1257487  Size: SH
  4. Position the ground wire to the frame.
  5. Install the accessory power receptacle harness ground wire bolt (1).
  6. Tighten
    Tighten the bolt to 9 N·m (80 lb in).

  7. Install the accessory power receptacle harness clips to the frame rear side rail.

  8. Object Number: 1257484  Size: SH
  9. Install the accessory power receptacle harness clips to the frame side rail.

  10. Object Number: 1257483  Size: SH
  11. Install the accessory power receptacle harness clips to the frame front side rail.

  12. Object Number: 1257481  Size: SH
  13. Lower the vehicle.
  14. Install the accessory power receptacle harness clips to the engine harness.

  15. Object Number: 1257475  Size: SH
  16. Connect the accessory power receptacle electrical connector (1) to the 42V electrical connector (2).
  17. Install the accessory power receptacle to the 42V electrical connector clip.

  18. Object Number: 1257477  Size: SH
  19. Install the accessory power receptacle harness clip (2) to the tray.

  20. Object Number: 1257479  Size: SH
  21. Connect the accessory power receptacle electrical connector (1) at the SGCM.
  22. Connect the ESB. Refer to Hybrid Battery Service Disconnect/Connect .