GM Service Manual Online
For 1990-2009 cars only

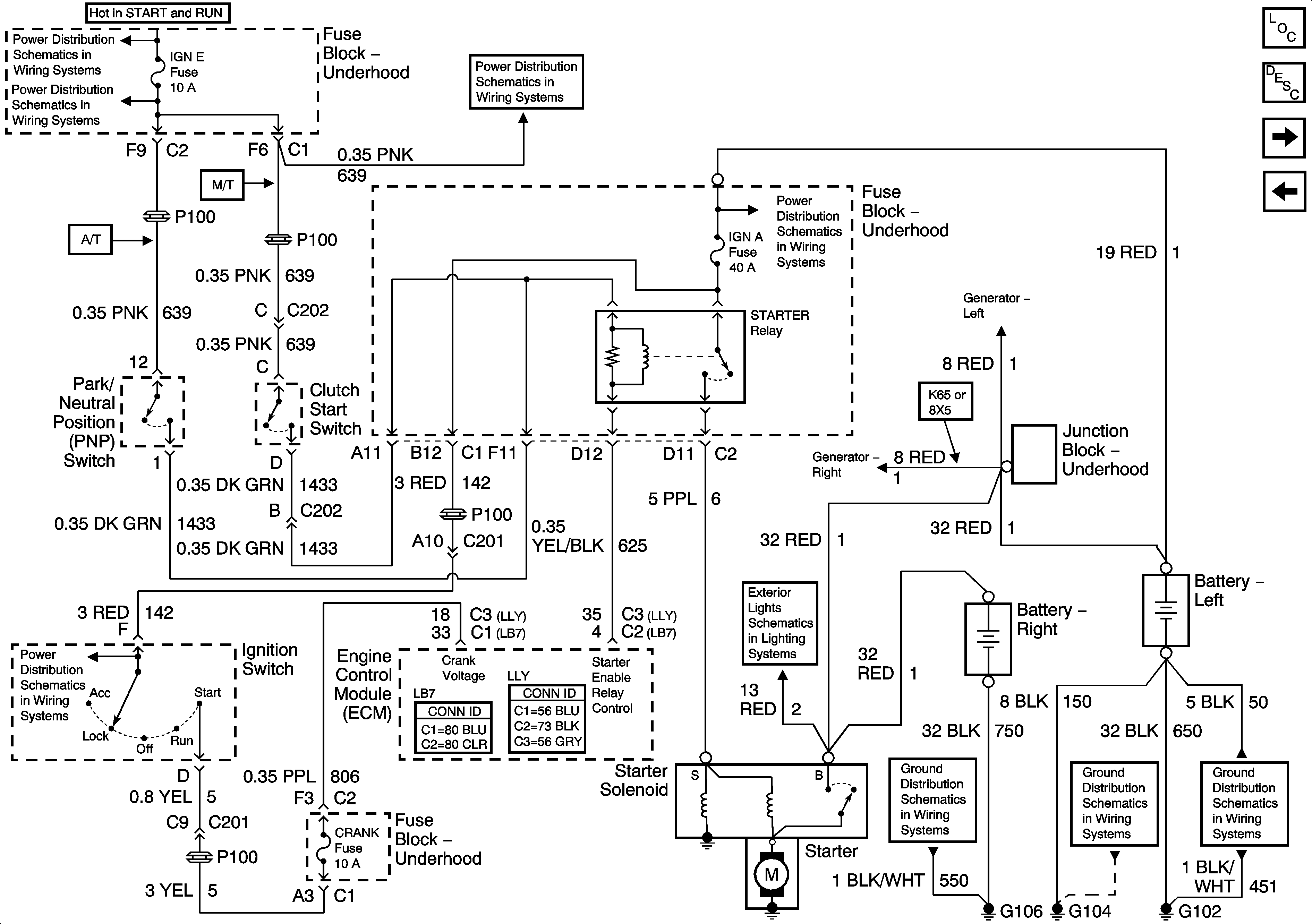
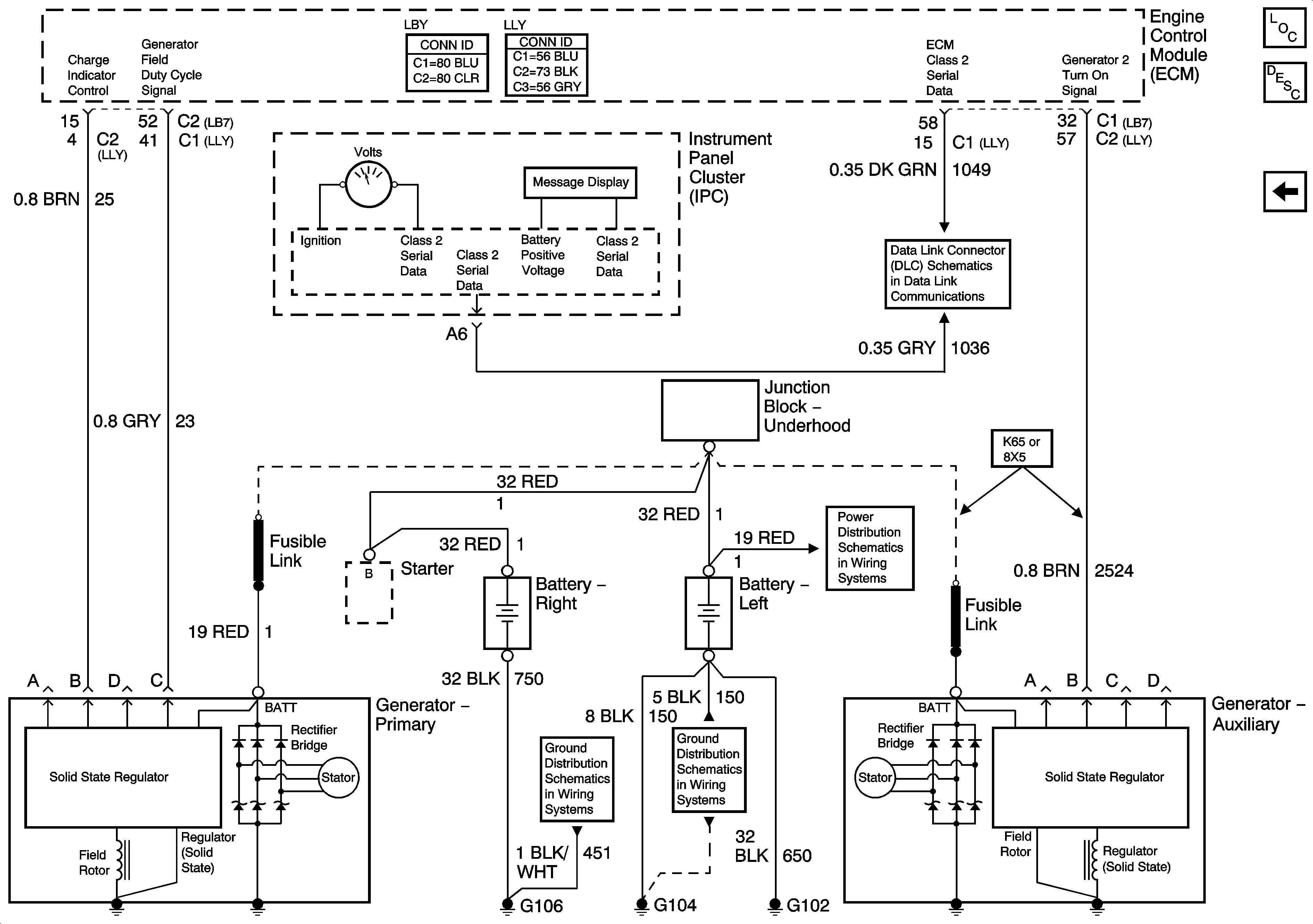
Starting and Charging Schematics Except HP2

Figure 1:

Starting - Gas


Object Number: 1218631  Size: FS
Master Electrical Component List
Starter/Generator Description and Operation
Starting - Diesel
Ignition Switch - ACC/RUN and RUN/START Bus Bars
IGN E Fuse
IGN E Fuse
Ignition Switch - START, RUN, and ACC/RUN/START Bus Bars
Ignition Switch - START, RUN, and ACC/RUN/START Bus Bars
B+ Bus Bar - 2 of 2
Charging - Gas
Power, Ground, Serial Data and Vehicle Speed
Roof Beacon
Auxiliary Battery Schematics
G100 and G101
G100 and G101
Figure 2:

Starting - Diesel


Object Number: 1218633  Size: FS
Master Electrical Component List
Starter/Generator Description and Operation
Charging - Gas
Starting - Gas
Ignition Switch - ACC/RUN and RUN/START Bus Bars
IGN E Fuse
IGN E Fuse
Ignition Switch - START, RUN, and ACC/RUN/START Bus Bars
Ignition Switch - START, RUN, and ACC/RUN/START Bus Bars
B+ Bus Bar - 2 of 2
Charging - Diesel
Roof Beacon
G104, G106, and G107
G104, G106, and G107
G100 and G101
Figure 3:

Charging - Gas


Object Number: 1218634  Size: FS
Master Electrical Component List
Starter/Generator Description and Operation
Charging - Diesel
Starting - Diesel
Auxiliary Battery Schematics
Roof Beacon
SP205 - 2 of 2
Battery Supply - 1 of 2
G100 and G101
G100 and G101
Supplemental Brake Assist
Figure 4:

Charging - Diesel


Object Number: 1218635  Size: FS
Master Electrical Component List
Starter/Generator Description and Operation
Charging - Gas
SP205 - 2 of 2
Battery Supply - 1 of 2
G104, G106, and G107
G104, G106, and G107

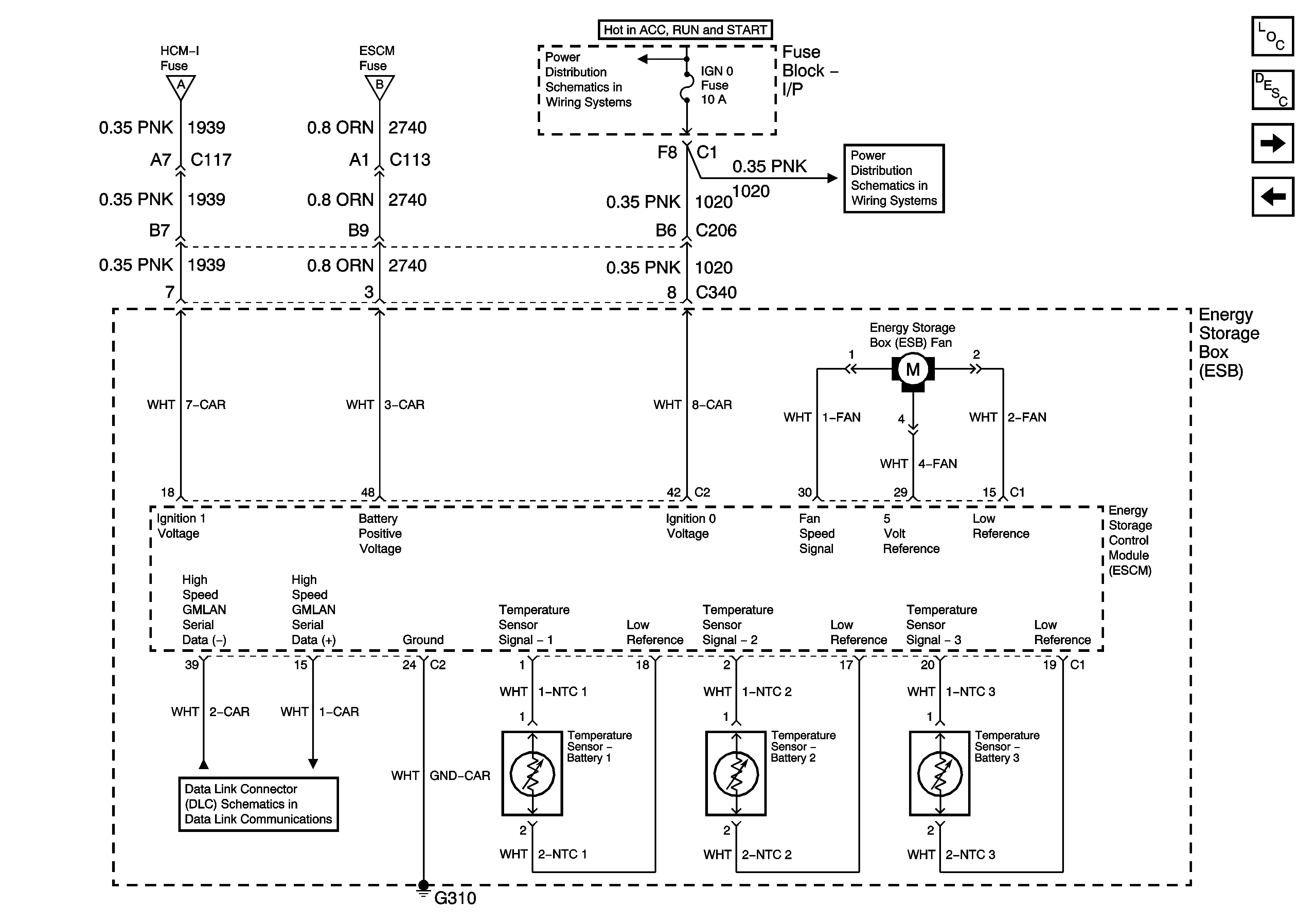
Starting and Charging Schematics HP2

Figure 1:

Hybrid Control Module and Starter/Generator Control Module Power, Ground and Serial Data


Object Number: 1402681  Size: FS
Master Electrical Component List
Generator Battery Carrier Description and Operation
Energy Storage Control Module Power, Ground and Serial Data and Battery Temperature and Venting
IGN 0, TBC IGN 0,TBC ACCY, SEO ACCY, RR WPR, and WS WPR Fuses
ABS, VSES/ECAS, STUD #1, STUD #2, and TBC BATT Fuses
Continuous Mode Bus Bar (HP2)
IGN 0, TBC IGN 0,TBC ACCY, SEO ACCY, RR WPR, and WS WPR Fuses
IGN 0, TBC IGN 0,TBC ACCY, SEO ACCY, RR WPR, and WS WPR Fuses
IGN 0, TBC IGN 0,TBC ACCY, SEO ACCY, RR WPR, and WS WPR Fuses
Energy Storage Control Module Power, Ground and Serial Data and Battery Temperature and Venting
Energy Storage Control Module Power, Ground and Serial Data and Battery Temperature and Venting
G103 - Gas
High Speed GMLAN - Hybrid Only
SP205 - 1 of 2
High Speed GMLAN - Hybrid Only
Figure 2:

Energy Storage Control Module Power, Ground and Serial Data and Battery Temperature and Venting


Object Number: 1402683  Size: FS
Master Electrical Component List
Generator Battery Carrier Description and Operation
Engine Speed Signal and Accessory Battery Charging
Hybrid Control Module and Starter/Generator Control Module Power, Ground and Serial Data
Hybrid Control Module and Starter/Generator Control Module Power, Ground and Serial Data
Hybrid Control Module and Starter/Generator Control Module Power, Ground and Serial Data
IGN 0, TBC IGN 0,TBC ACCY, SEO ACCY, RR WPR, and WS WPR Fuses
IGN 0, TBC IGN 0,TBC ACCY, SEO ACCY, RR WPR, and WS WPR Fuses
High Speed GMLAN - Hybrid Only
Figure 3:

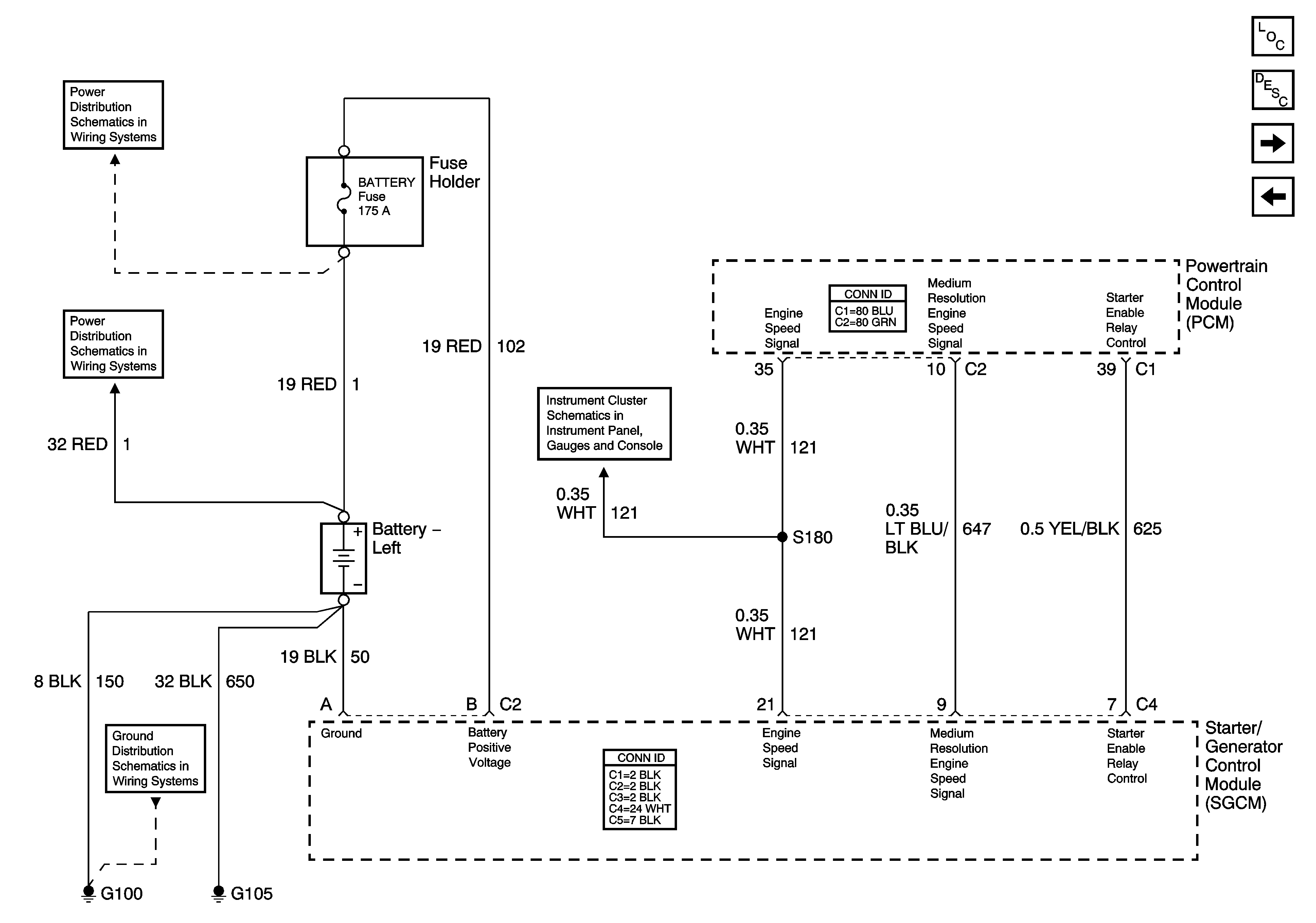
Engine Speed and Accessory Battery Charging


Object Number: 1402685  Size: FS
Master Electrical Component List
Generator Battery Carrier Description and Operation
Starting - 1 of 2
Energy Storage Control Module Power, Ground and Serial Data and Battery Temperature and Venting
Battery Supply - 1 of 2
Battery Supply - 1 of 2
Gages
G100 and G101
Figure 4:

Starting - 1 of 2


Object Number: 1402686  Size: FS
Master Electrical Component List
Generator Battery Carrier Description and Operation
Starting - 2 of 2 and Energy Storage
Engine Speed Signal and Accessory Battery Charging
Ignition Switch - ACC/RUN and RUN/START Bus Bars
B+ Bus Bar - 1 of 2
Ignition Switch - ACC/RUN and RUN/START Bus Bars
Continuous Mode Bus Bar (HP2)
Continuous Mode Bus Bar (HP2)
High Speed GMLAN - Hybrid Only
Continuous Mode Bus Bar (HP2)
Continuous Mode Bus Bar (HP2)
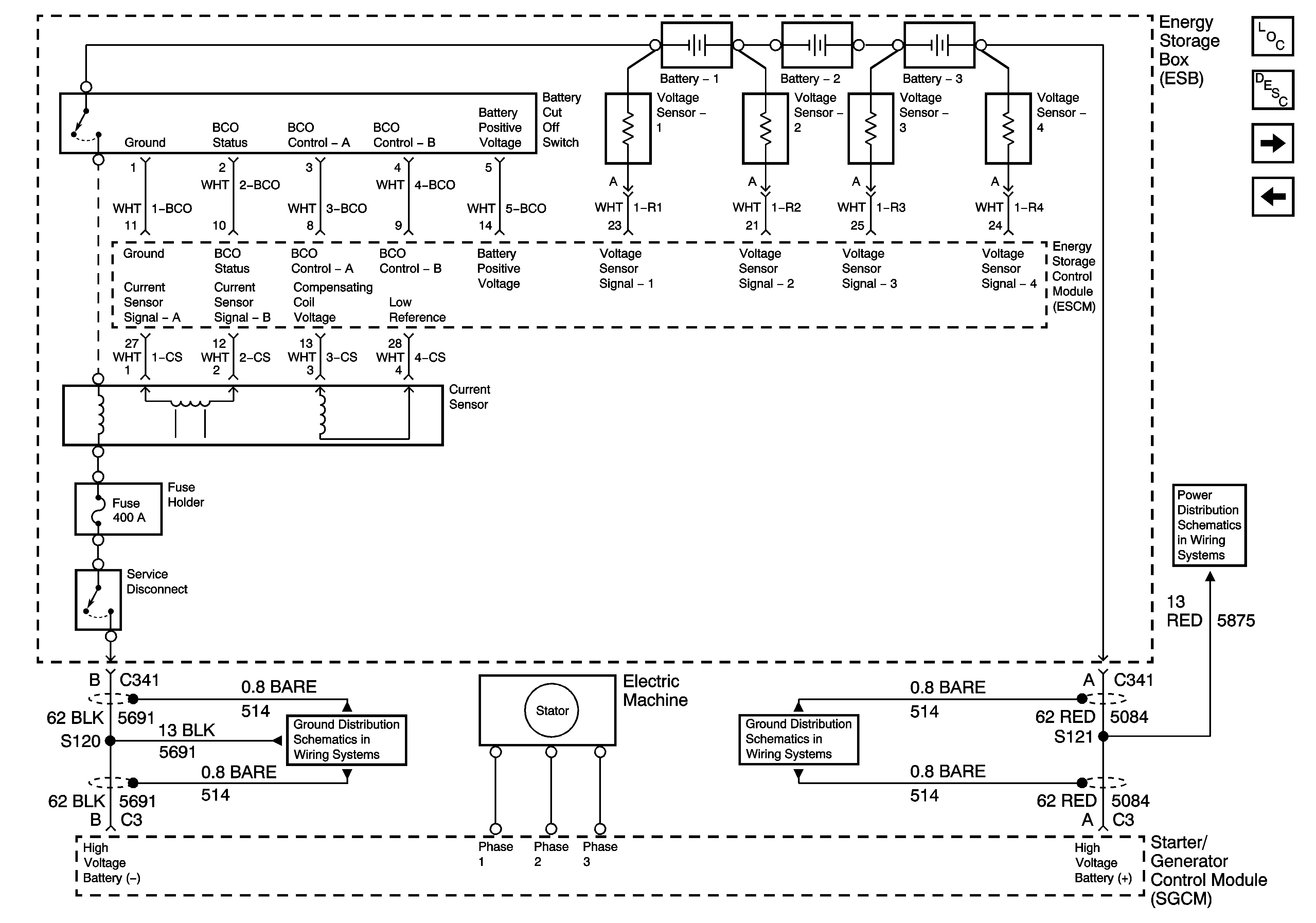
Figure 5:

Starting - 2 of 2 and Energy Storage


Object Number: 1402695  Size: FS
Master Electrical Component List
Generator Battery Carrier Description and Operation
Controlled/Monitored Subsystem References
Starting - 1 of 2
Battery Supply - 2 of 2
Hybrid Ground - 1 of 2
Hybrid Ground - 1 of 2
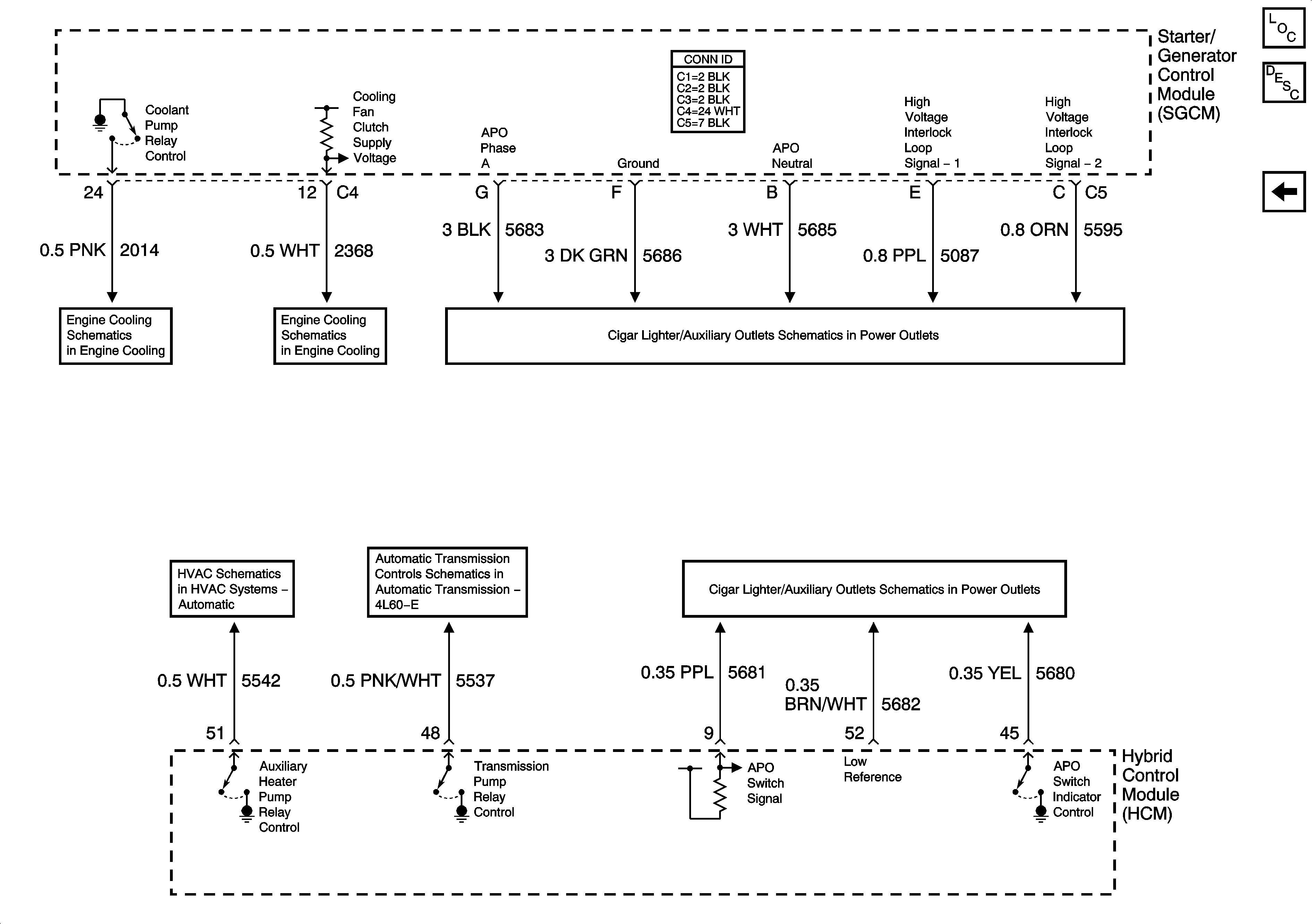
Figure 6:

Controlled/Monitored Subsystem References


Object Number: 1402698  Size: FS
Master Electrical Component List
Generator Battery Carrier Description and Operation
Starting - 2 of 2 and Energy Storage
Starter/Generator Control Module Cooling - 1 of 2 - HP2
Starter/Generator Control Module Cooling - 2 of 2 - HP2
120V AC Outlets - 2 of 2 - HP2
Auxiliary Heater Pump (HP2)
Auxiliary Pump Controls - Hybrid Only
120V AC Outlets - 1 of 2 - HP2