GM Service Manual Online
For 1990-2009 cars only
Figure 1:

AG2


Object Number: 1242651  Size: FS
Master Electrical Component List
Power Seats System Description and Operation
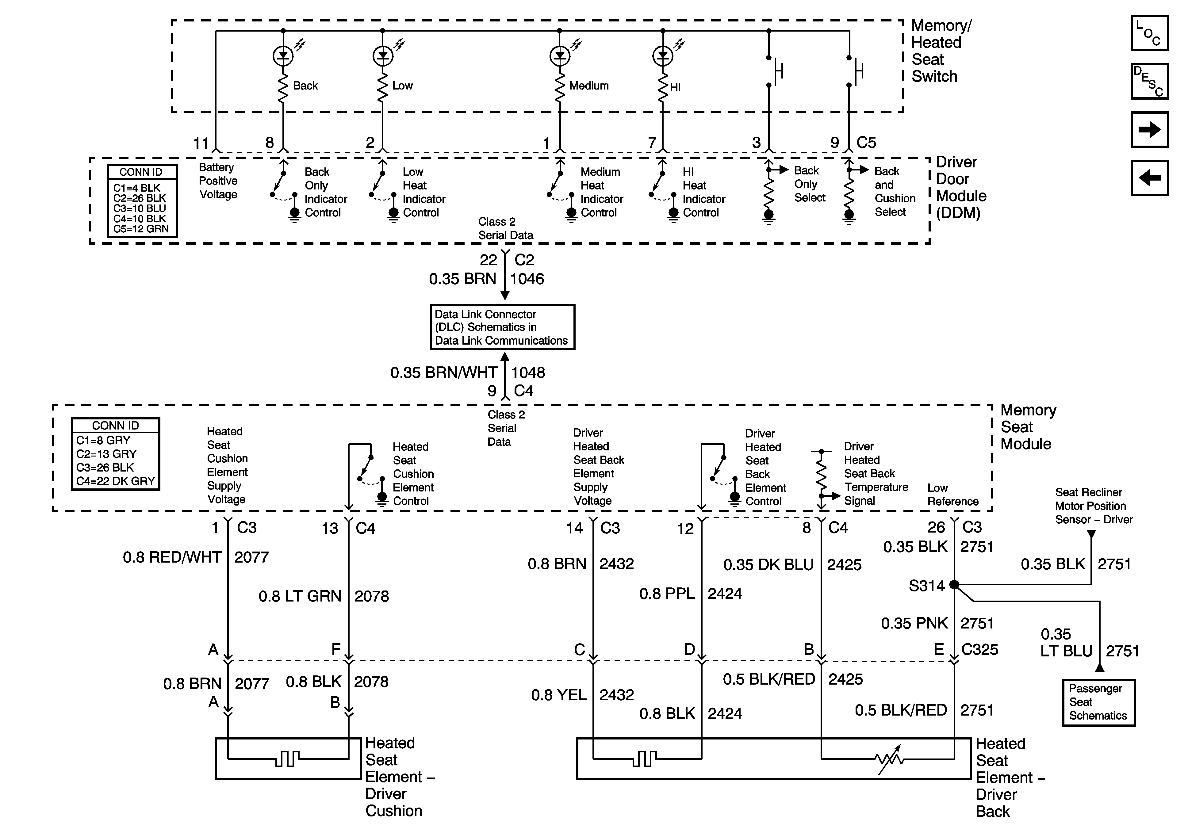
Heat Controls - AN3
TBC 2A, TBC 2B, TBC 2C Fuses and LT DOORS, RT DOOR, SEAT Circuit Breakers
G304 and G305
G306, G310, and G390
Figure 2:

Heat Controls - AN3


Object Number: 1242658  Size: FS
Master Electrical Component List
Heated Seats Description and Operation
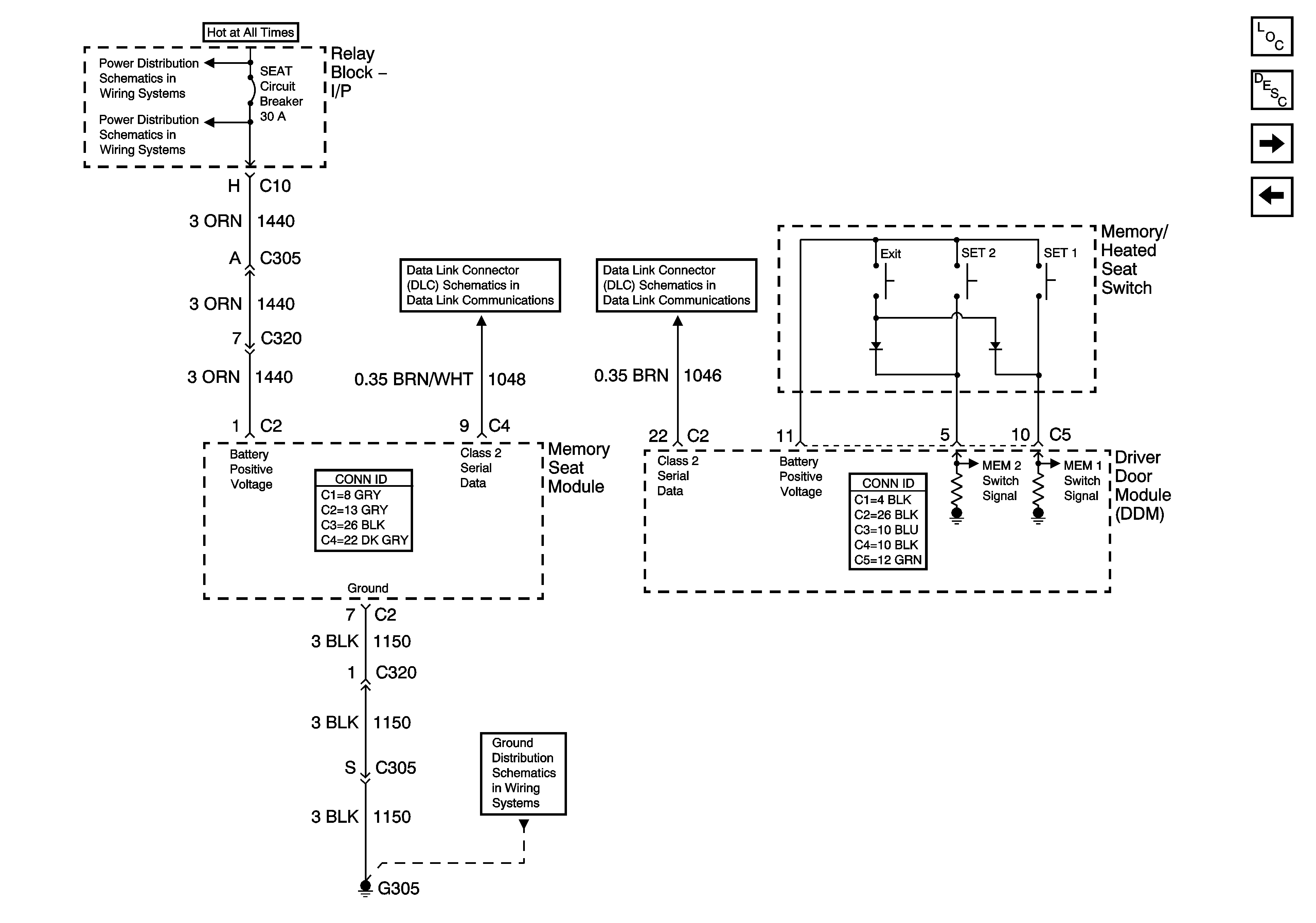
Module Power, Ground, Serial Data and Memory Switch Signals - AN3
w/AG2
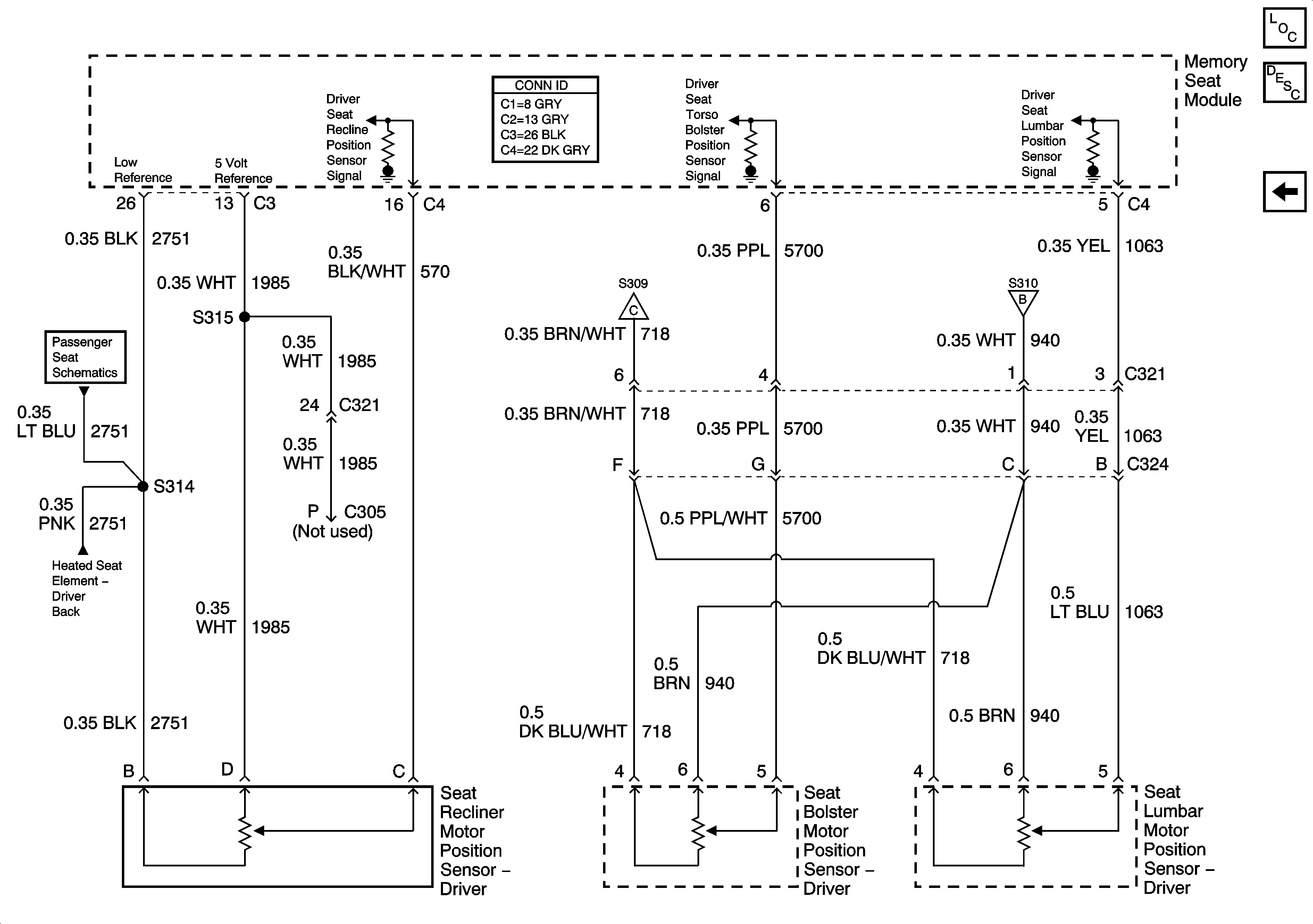
Position Sensors - 2 of 2
Heat Controls - 2 of 2
SP205 - 1 of 2
Figure 3:

Module Power, Ground, Serial Data and Memory Switch Signals - AN3


Object Number: 1242665  Size: FS
Master Electrical Component List
Memory Seats Description and Operation
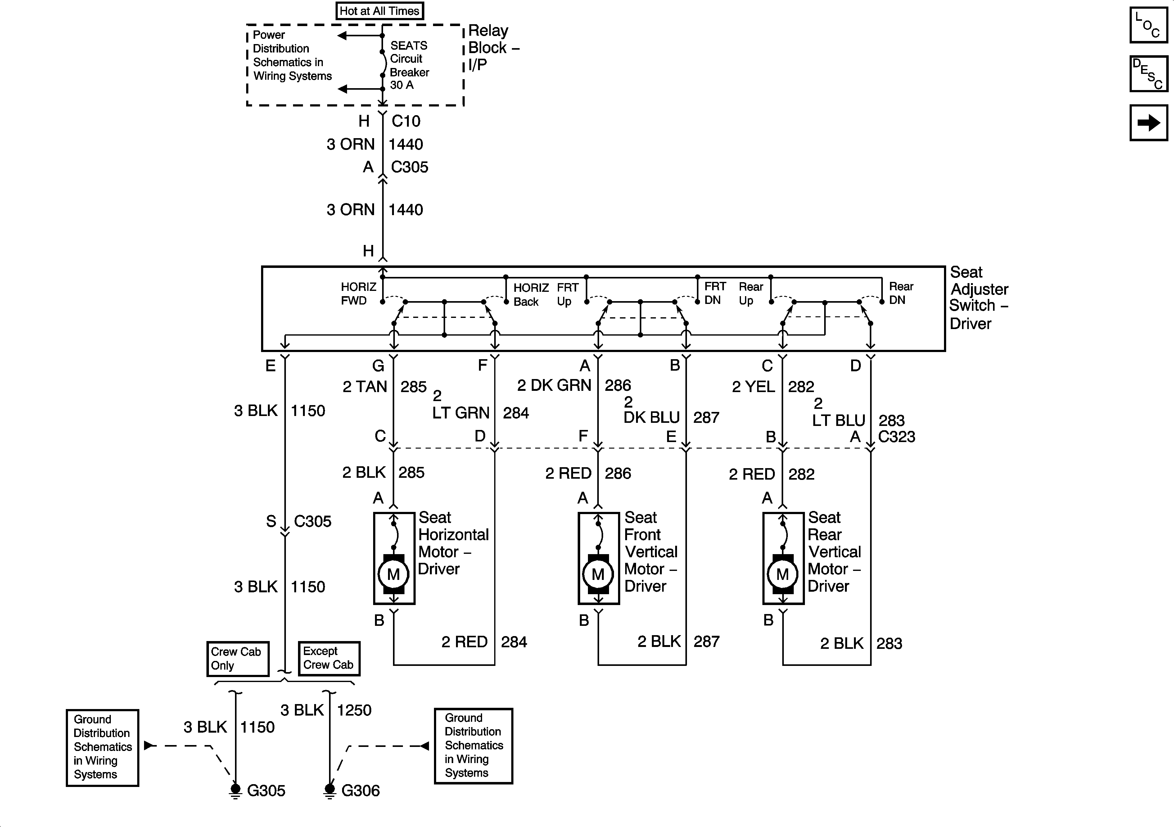
Seat Positioning Controls - AN3
Heat Controls - AN3
LBEC 1, LBEC 2, and MBEC 1 Fuses
TBC 2A, TBC 2B, TBC 2C Fuses and LT DOORS, RT DOOR, SEAT Circuit Breakers
SP205 - 2 of 2
SP205 - 1 of 2
G304 and G305
Figure 4:

Seat Positioning Controls - AN3


Object Number: 1242666  Size: FS
Master Electrical Component List
Power Seats System Description and Operation
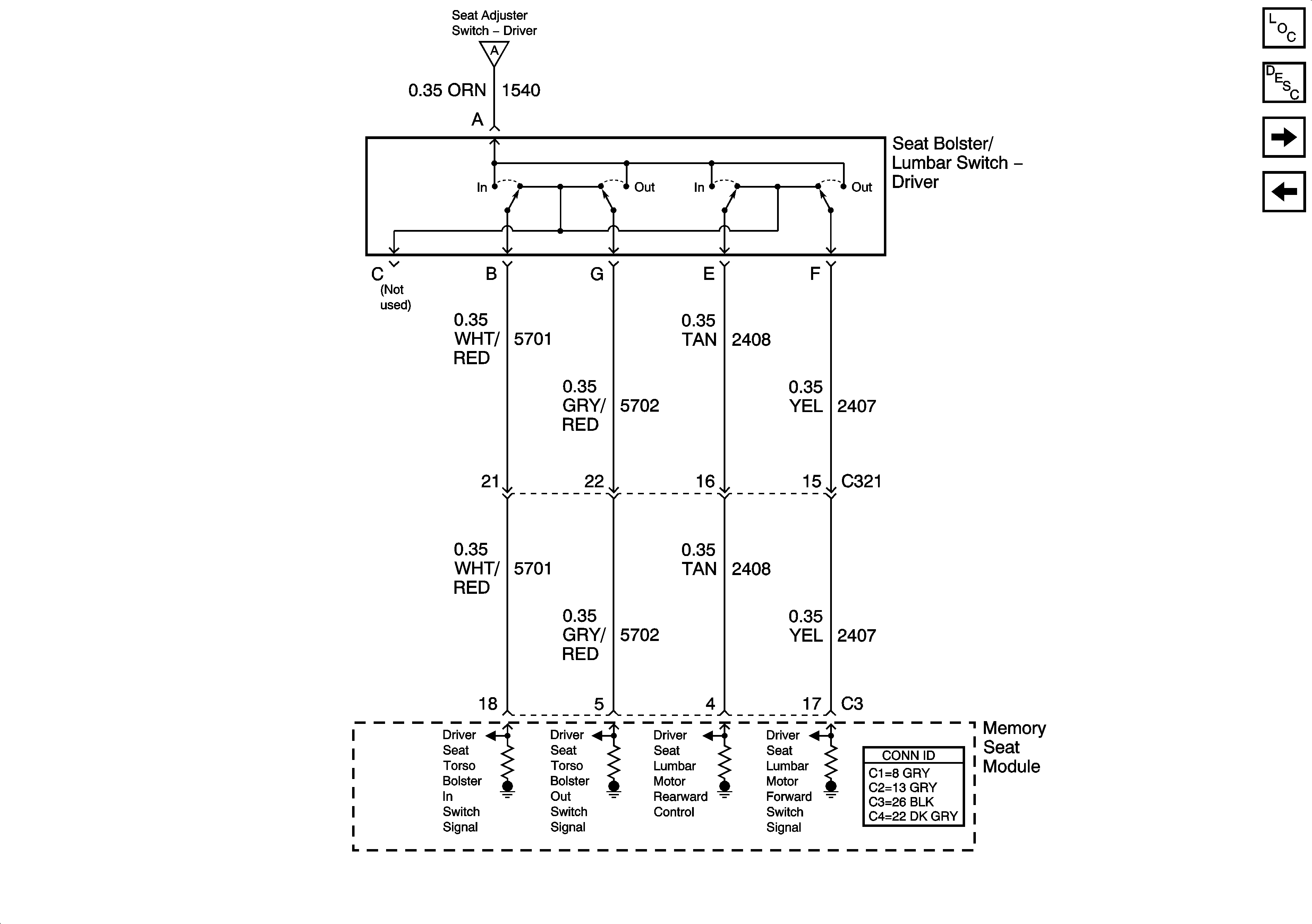
Lumbar/Bolster Controls - AN3
Module Power, Ground, Serial Data and Memory Switch Signals - AN3
Lumbar/Bolster Controls - AN3
Figure 5:

Lumbar/Bolster Controls - AN3


Object Number: 1242668  Size: FS
Master Electrical Component List
Lumbar Support Description and Operation
Motors - AN3
Seat Positioning Controls - AN3
Seat Positioning Controls - AN3
Figure 6:

Motors - AN3


Object Number: 1242670  Size: FS
Master Electrical Component List
Power Seats System Description and Operation
Position Sensors - 1 of 2
Lumbar/Bolster Controls - AN3
Figure 7:

Position Sensors - 1 of 2


Object Number: 1242674  Size: FS
Master Electrical Component List
Memory Seats Description and Operation
Position Sensors - 2 of 2
Motors - AN3
Position Sensors - 2 of 2
Position Sensors - 2 of 2
Figure 8:

Position Sensors - 2 of 2


Object Number: 1242675  Size: FS
Master Electrical Component List
Memory Seats Description and Operation
Position Sensors - 1 of 2
Heat Controls - 2 of 2
Heat Controls - AN3
Position Sensors - 1 of 2
Position Sensors - 1 of 2