GM Service Manual Online
For 1990-2009 cars only
Figure 1:

Steering Wheel Speed/Position Sensor


Object Number: 784118  Size: LF
(1)Steering Column
(2)C201
(3)Steering Wheel Speed/Position Sensor
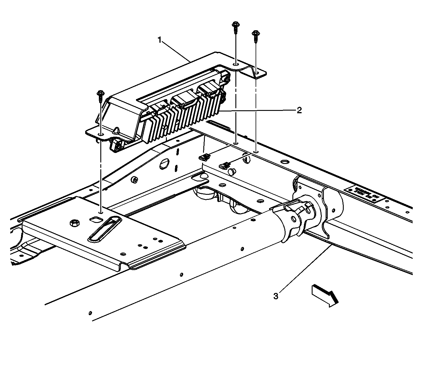
Figure 2:

Rear Wheel Steering Control Module


Object Number: 784117  Size: LF
(1)Mounting Bracket
(2)Rear Wheel Steering Control Module
(3)Frame
Figure 3:

Rear Steering Gear Motor


Object Number: 785013  Size: LF
(1)Rear Steering Gear Motor
(2)Steering Gear Assembly
Figure 4:

Rear Wheel Position Sensor


Object Number: 785004  Size: LF
(1)O-Ring
(2)Rear Wheel Position Sensor
(3)Retaining Bolts
(4)Sensor Cover
Figure 5:

Rear Wheel Steering Mode Select Switch


Object Number: 785007  Size: LF
(1) Rear Wheel Steering Mode Select Switch
(2)Switch Housing
(3)Switch Electrical Connector