GM Service Manual Online
For 1990-2009 cars only

LB7/LBZ/LLY/LMM - Intermittent Driveability Conditions-No Crank, Crank No Start, Hard to Start, MIL/SES, HEsitation, Lack of Power, Surge, Misfire, Fuel Knock, IPC Indicates No Oil Pressure, DTCs Set

Subject:LB7 LBZ LLY LMM -- Intermittent Driveability Conditions Such as No Crank, Crank But No Start, Hard to Start, MIL/SES, Hesitation, Lack of Power, Surge, Misfire, Fuel Knock, No Serial Data Communication, IPC Indicates No Oil Pressure, DTCs Set (Inspect Connection/Replace Connector Bodies)

Models:2001-2007 Chevrolet Silverado Pickups
2006-2007 Chevrolet Express Vans
2003-2007 Chevrolet Kodiak C4500/C5500 Series
2001-2007 GMC Sierra Pickups
2006-2007 GMC Savana Vans
2003-2007 GMC TopKick C4500/C5500 Series
with 6.6L Duramax™ Diesel Engine (VINs 1, 2, 6, D -- RPOs LB7, LLY, LMM, LBZ)



This bulletin is being revised to update the model years and add Condition and Correction content. Please discard Corporate Bulletin Number 04-06-04-001B (Section 06 -- Engine/Propulsion System).


Condition

Some customers may comment on any of the following various intermittent driveability conditions:

    • No crank
    • Crank but no start
    • Hard to start
    • MIL/SES Illuminated with EGR DTCs, cam sensor DTCs, fuel pressure DTCs, turbocharger DTCs, injection circuit DTCs
    • Hesitation
    •  Lack of power
    • Surge
    • Misfire
    • Fuel knock
    • No serial data communication
    • IPC indicates no oil pressure

Various engine faults or DTCs may occur due to backed out pins in the following main engine harness connectors:

    • C107 and C118 (38-way) Engine Harness to the Engine Chassis Harness Connector
    • C108 and C119 (24-way) Engine Harness to the Engine Chassis Harness Connector

Cause


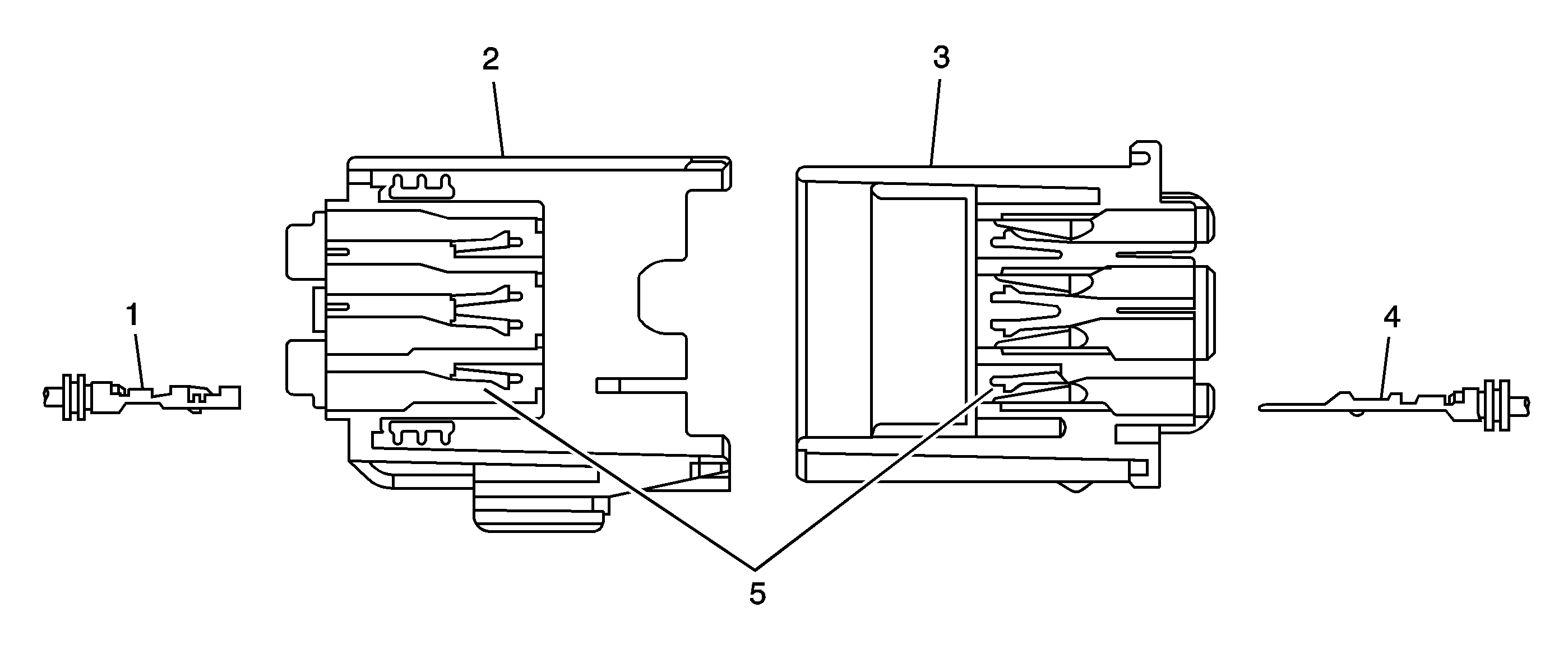
Object Number: 1379953  Size: SF

The main engine to chassis connectors utilize a plastic tab formed into the connector body as a terminal lock (5). If a terminal lock (5) is damaged or broken, the terminal (1, 4) will be pushed partially out of the connector body (2, 3) during assembly and will make poor or no contact with its mating terminal. Various and intermittent engine control faults may occur.

Correction

Notice: When reconnecting the engine to chassis connectors, slide the Primary Lock Reinforcement partially out of the male side connectors to support the ends of the male pins upon installation. Guide the chassis side connectors straight into the engine connectors when using the lever lock to avoid terminal misalignment. Failure to do so may cause terminal lock breakage.

Inspect the terminals in the male and female sides of the connectors for broken terminal locks by removing the terminal position assurance (TPA) comb at the back of the connector (if equipped) and gently pushing and pulling on the wire in question. If the wire moves within the connector and does not lock into position, the connector body should be replaced.

Connector Location

 

The following connectors are all located at the engine harness to engine chassis harness that is mounted to the top of the driver side valve cover.

    • C107 and C118 (38-way) Engine Harness to the Engine Chassis Harness Connector
    • C108 and C119 (24-way) Engine Harness to the Engine Chassis Harness Connector

If an illustration is needed to locate the connector in question, please refer to SI and build your vehicle publication to view. Then select the following areas:

  1. Body
  2. Wiring Systems
  3. Component Location
  4. Master Electrical Component List

Connector Components

 


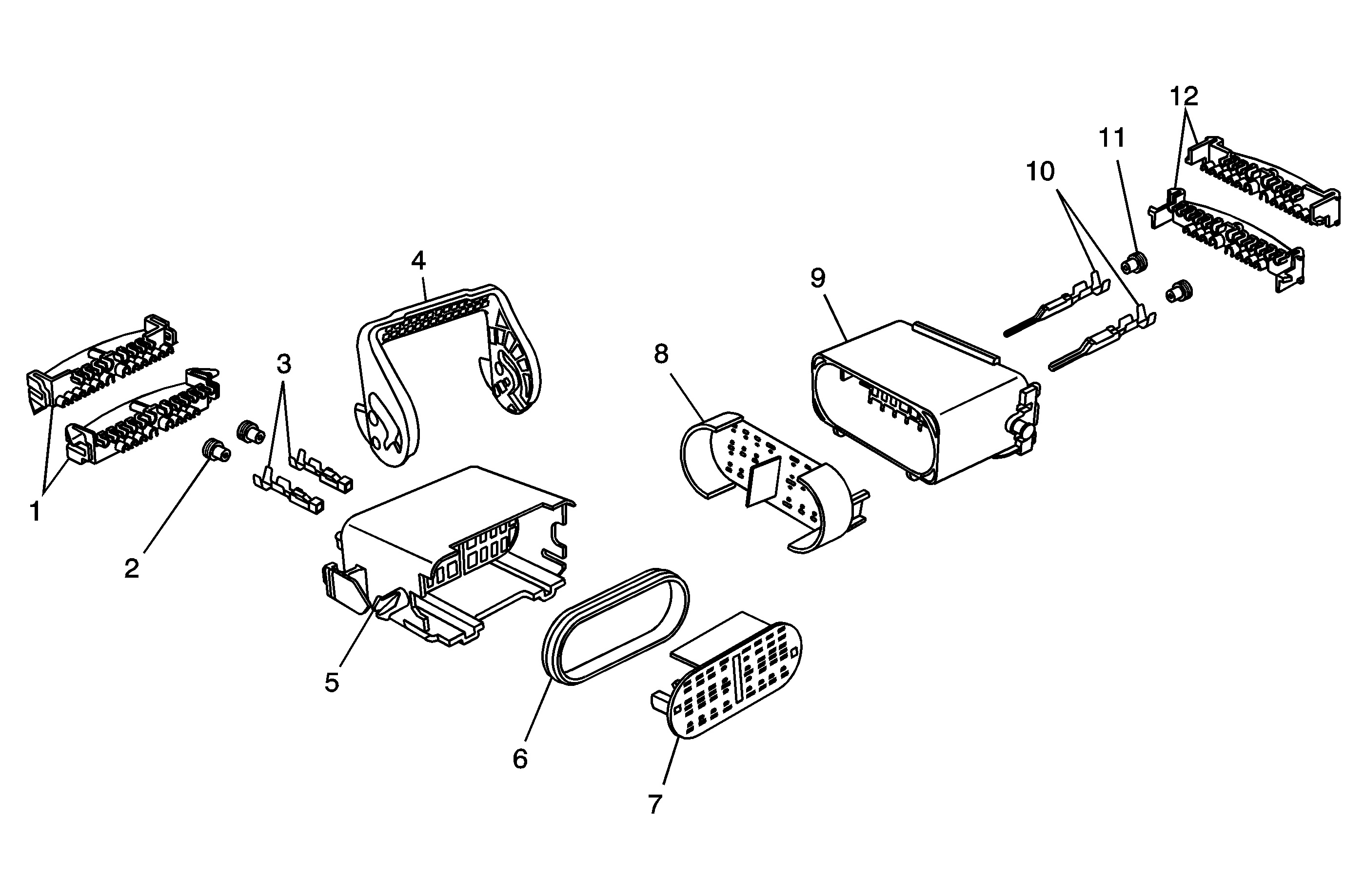
Object Number: 1379950  Size: MF
  1. Terminal Position Assurance (TPA) (C107 and C118 only)
  2. Cable Seal
  3. Female Terminal
  4. Lever Lock
  5. Connector Body - Female
  6. Connector Seal
  7. Primary Lock Reinforcement (PLR) - Female (C108 and C119 24-way connectors only)
  8. Primary Lock Reinforcement (PLR) - Male (C108 and C119 24-way connectors only)
  9. Connector Body - Male
  10. Male Terminal
  11. Cable Seal
  12. Terminal Position Assurance (TPA) (If equipped)

The 6.6L diesel engine utilizes a 24-way and a 38-way Packard Lever Lock GT Series sealed connector for the engine to chassis connection. Connector components can be serviced using the J 38125 Terminal Kit. Connector bodies are available through GMSPO. The following components are available from the J 38125 Terminal Kit:

Component Type

Service P/N

J 38125 Location

Connectors

15366099

15336173

15443822

15317380

Terminals

GT150 Female

12191819

Tray 8

OK

N/A

OK

N/A

GT150 Male

15326269

Tray 19

N/A

OK

N/A

OK

GT280 Female - 0.75-1.0 mm2 (approx. 18-16 gauge) wire

15304716

Tray 8

15304719

N/A

OK

N/A

GT280 Male - 0.75-1.0 mm2 (approx. 18-16 gauge) wire

15304728

Tray 8

N/A

15304731

N/A

OK

GT280 Female - 1.5-2.0 mm2 (approx. 14 gauge) wire

15304717

Tray 8

15304720

N/A

OK

N/A

GT280 Male - 1.5-2.0 mm2 (approx. 14 gauge) wire

15304729

Tray 8

N/A

15304732

N/A

OK

Cable Seals

GT150 White

15366021

Tray 4

OK

OK

OK

OK

GT280 Tan

15366067

Tray 20

OK

OK

15366063

15366063

--

M/P 280

--

12041351 is a M/P 280 Seal - Not for GT 280 Use

GT280 Orange

15366065

Tray 20

OK

OK

15366061

15366061

Cavity Plugs

GT150 Dark Red

M/P 150

Tray 3

15305171

15305171

15305171

15305171

GT280 Green

M/P 280

Tray 18

15305170

15305170

15305172

15305172

Important: If the correct terminals are not found, verify that the tray numbers have been updated.

Parts Information

Part Number

Description

15366099

Connector Body, 24-way female(C108 and C119)

15336173

Connector Body, 24-way male (C108 and C119)

88987930

Connector Body, 38-way female(C107 and C118)

15317380

Connector Body, 38-way male(C107 and C118)

Warranty Information

For vehicles repaired under warranty, use:

Labor Operation

Description

Labor Time

N6608

Wiring and/or Connector - Emissions System - Repair or Replace

Use Published Labor Operation Time