GM Service Manual Online
For 1990-2009 cars only

Accessory Drive Belt Chirp, Squeal or Squeak Type Noise at Cold Idle (Replace A/C Compressor/Power Steering Pump Mounting Bracket or Enlarge Bracket Bolt Holes)

Subject:Accessory Drive Belt Chirp, Squeal or Squeak Type Noise at Cold Idle (Replace A/C Compressor/Power Steering Pump Mounting Bracket or Enlarge Bracket Bolt Holes)

Models:2004-2007 Chevrolet Silverado (Classic)
2006-2007 Chevrolet Express
2004-2007 GMC Sierra (Classic)
2006-2007 GMC Savana
with 6.6L Duramax® Diesel Engine (VINs D, 2 - RPOs LBZ, LLY)



This bulletin is being revised to add additional model years, models and update the technical content. Please discard Corporate Bulletin Number 05-06-01-018 (Section 06 -- Engine/Propulsion System).


Condition

Important: It should be noted that a chirp type noise on engine shutdown is normal for a diesel engine due to higher engine compression and the rapid stopping of the crankshaft. No repairs should be attempted for this condition.

Some customers may comment on an accessory drive belt chirp, squeal, or squeak type noise at idle, especially on a cold start. The noise may be reduced or go away after the engine warms up.

Cause

Some 2004/2005 Silverado or Sierra trucks, with a 6.6L LLY engine produced before June, 2004, may have an A/C compressor/power steering pump mounting bracket and power steering rear mounting bracket that are machined slightly out of specification, causing a misaligned power steering pump.

If the power steering pump is misaligned, it will force the accessory drive belt to run farther inboard on the fan pulley. When the belt leaves the fan pulley, the belt will not align properly to the crankshaft pulley grooves and create a chirp or squeak type noise at the point of interference.

Vehicles built after June 2004 will already have the new A/C compressor/power steering pump mounting bracket installed, but still may exhibit belt noise caused by the power steering pump rear mounting bracket.

Correction

Vehicles built prior to June 2004, replace the A/C compressor/power steering pump mounting bracket.

Vehicles built after June 2004, enlarge the rear power steering pump bracket bolt holes.

  1. Follow the published service information (SI) diagnostics for drive belt chirping. The diagnostic chart for the drive belt chirping will ask to inspect for a misaligned accessory drive pulley.
  2. Important: Remove the top section of the radiator shroud and TCM/cover to gain access to check alignment and measure the power steering pulley on the power steering pump shaft.

  3. Verify that the power steering pulley is properly pressed onto the power steering pump shaft. Refer to SI for the power steering pulley replacement. If the pulley needs to be realigned on the power steering pump shaft, follow the published SI procedures for the power steering pulley replacement.

  4. Object Number: 1664564  Size: SH
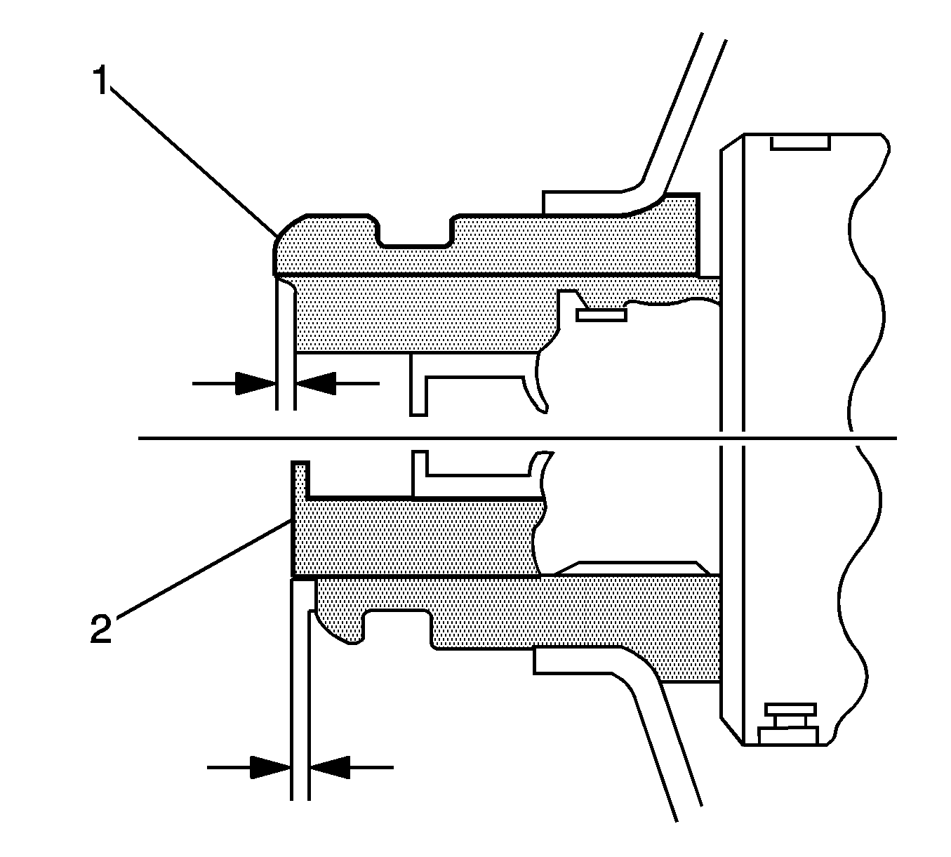
  5. If the noise was not fully eliminated by the procedure in step 2, the power steering pulley may be adjusted with an allowable maximum variance of 1.0 mm (0.039 in) to the front from the flush position on the shaft to assist in eliminating any remaining belt noise. Refer to graphic illustration number 1 and number 2. Ensure that the power steering pump pulley illustration number 1 is flush against the power steering pump shaft illustration number 2, with an allowable variance of 1.0 mm (0.039 in).
  6. If the noise was not fully eliminated by the procedure in step 3, and there are no other concerns found, follow the published SI diagnostics for drive belt chirping. Then, if the vehicle was built prior to June 2004 go to step 5. If the vehicle was built after June 2004, go to step 6.

  7. Object Number: 1664146  Size: SH
  8. Vehicles Built Prior to June 2004:
  9. 5.1. Replace the A/C compressor/power steering pump mounting bracket with P/N 97362175. Refer to graphic illustration number 1. Follow the published SI procedures for the Air Conditioning (A/C) Compressor and Power Steering Pump Mounting Bracket Replacement.
    5.2. With the new A/C compressor/power steering pump mounting bracket installed, reposition the power steering pump to gain access to drill larger holes into the rear mounting bracket using a 14  mm (1/2") drill bit. Drilling the bolt holes larger will ensure proper alignment of the bracket when installing the bolts. Refer to graphic illustration number 2.
    5.3. Install the power steering pump to the A/C compressor/power steering pump bracket. Refer to graphic illustration numbers 4, 2, and 1.

            Important: Power steering pump front mounting bolts must always be tightened first to ensure correct pulley alignment.

    5.4. Refer to graphic illustration number 4 and tighten the front power steering pump mounting bolts.

    Tighten
    Tighten the bolts to 50 N·m (37 lb ft).

    5.5.  Refer to graphic illustration number 2 and tighten the rear power steering bracket bolts.

    Tighten
    Tighten the bolts to 50 N·m (37 lb ft).


    Object Number: 1664146  Size: SH
  10. Vehicles Built After June 2004:
  11. 6.1. Remove the front and rear power steering bracket bolts from the A/C compressor/power steering pump bracket. Refer to graphic illustration numbers 4, 2, and 1.
    6.2. Reposition the power steering pump to gain access to drill larger holes into the rear mounting bracket using a 14  mm (1/2 in) drill bit. Drilling the bolt holes larger will ensure proper alignment of the bracket when installing the bolts. Refer to graphic illustration number 2.
    6.3. Install the power steering pump to A/C compressor/power steering pump bracket. Refer to graphic illustration numbers 4, 2, and 1.

            Important: Power steering pump front mounting bolts must always be tightened first to ensure correct pulley alignment.

    6.4. Refer to graphic illustration number 4 and tighten the front power steering pump mounting bolts.

    Tighten
    Tighten the bolts to 50 N·m (37 lb ft).

    6.5. Refer to graphic illustration number 2 and tighten the rear bracket bolts.

    Tighten
    Tighten the bolts to 50 N·m (37 lb ft).

Dual Generator System

New belts are not available for dual generator systems. If a belt chirp noise is occurring on a dual generator system, please complete a Field Product Report (FPR). The instructions for completing a FPR can be found in Service Bulletin Number 02-00-89-002F.

Parts Information

Part Number

Description

Qty

97386417

Bracket, A/C Compressor and Power Steering Pump Mounting

1

Warranty Information

For vehicles repaired under warranty, use:

Labor Operation

Description

Labor Time

J7509*

A/C Compressor and Power Steering Pump Mounting Bracket - Replace

(Vehicles Built Prior to June, 2004)

0.7 hr

Add:

Enlarge Rear Power Steering Pump Bracket Bolt Holes

(Vehicles Built After June, 2004)

0.3 hr

Add:

Removal of Auxiliary Generator (if equipped)

0.1 hr

*This is a unique labor operation number for bulletin use only. This number will not be published in the Labor Time Guide.