GM Service Manual Online
For 1990-2009 cars only
Makes
🢒
Chevrolet
🢒
2004
🢒
Chevy C Silverado - 2WD
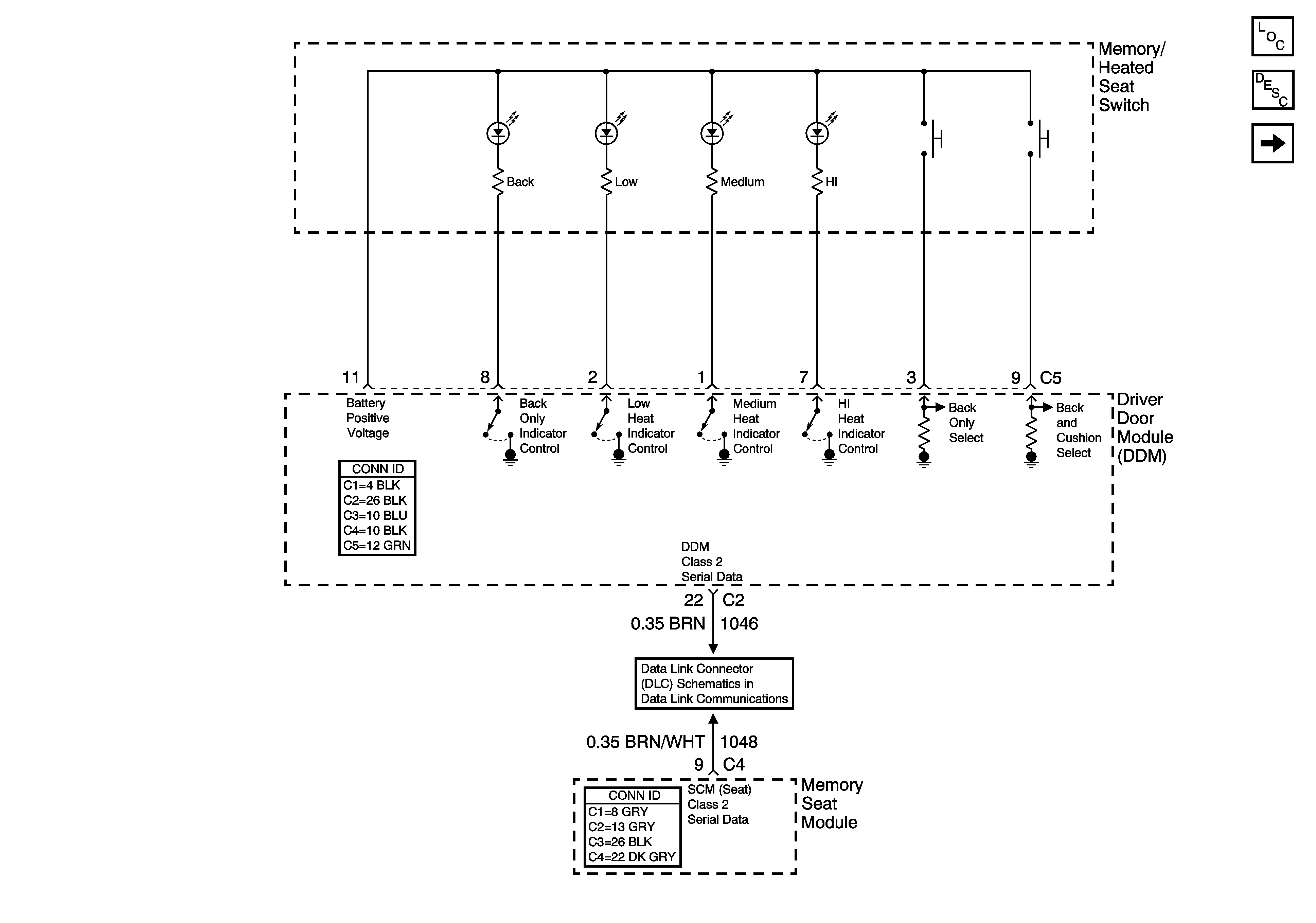
🢒 Heated Seat Controls - Driver
Heated Seat Controls - Driver
Heated Seat Controls - Driver