GM Service Manual Online
For 1990-2009 cars only
Makes
🢒
Chevrolet
🢒
2004
🢒
Chevy C Silverado - 2WD
🢒 Garage Door Opener
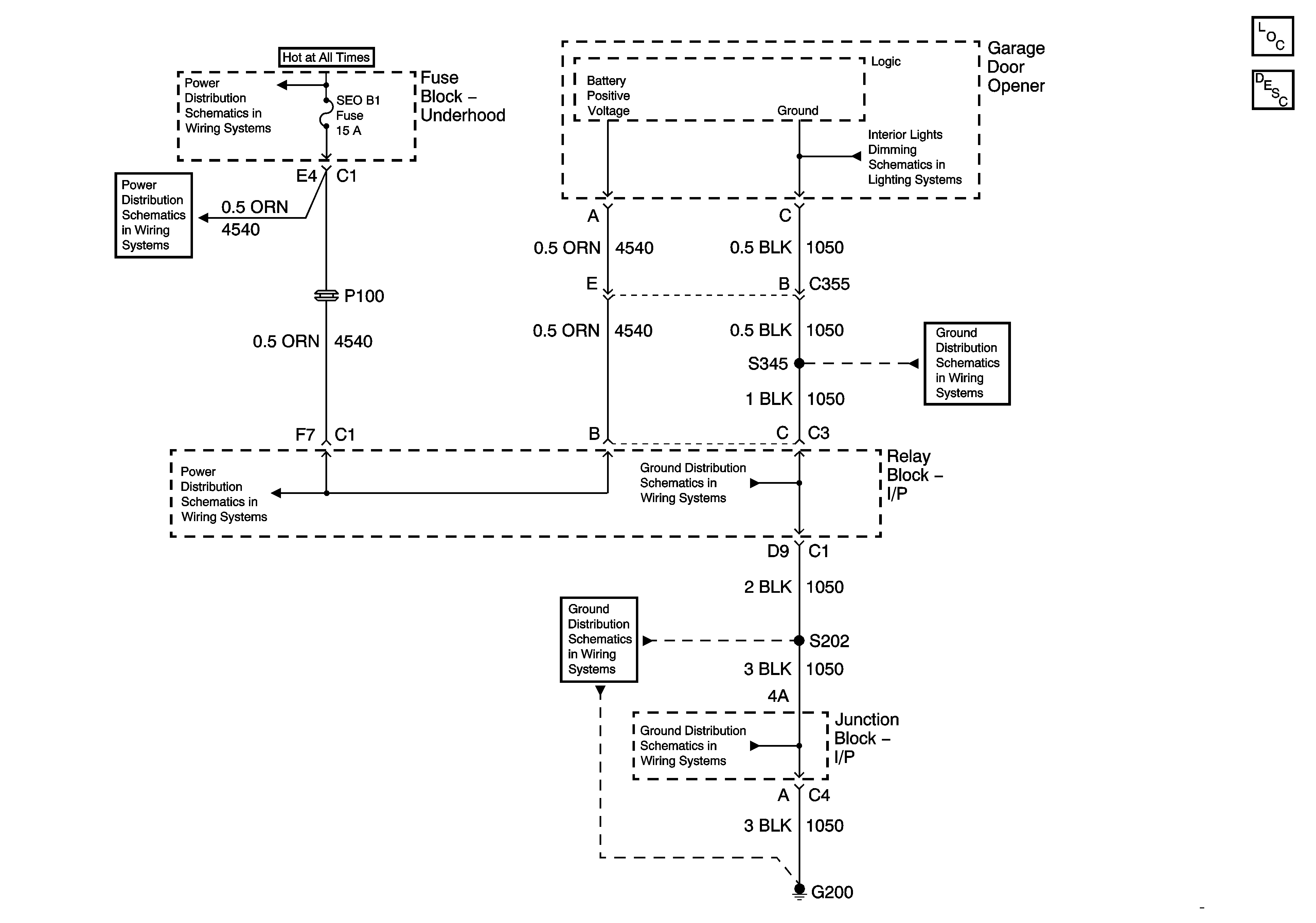
Garage Door Opener
Master Electrical Component List
Garage Door Opener Description and Operation
B+ Bus Bar - 1 of 2
RTD, IPC/DIC, SEO B1, SUNROOF, EAP, and RR WPR Fuses
RTD, IPC/DIC, SEO B1, SUNROOF, EAP, and RR WPR Fuses
I/P Dimming Supply Voltage - 5 of 6
G200 - 3 of 3
G200 - 3 of 3
G200 - 1 of 3
G200 - 1 of 3