GM Service Manual Online
For 1990-2009 cars only

Generator Battery Vent Fan Replacement 5.3L Engine w/RPO HP2

Caution: To help avoid personal injury, disable the 36V system anytime you perform service work on or around the generator battery carrier. The 36V system will still be active after you have disabled the generator battery carrier.

Caution: To help avoid personal injury, always disconnect the 36V generator battery carrier before doing any work to the generator battery carrier system. To disconnect the generator battery carrier, turn the engine off and turn OFF the service disconnect switch, which is located on the passenger side of the generator battery carrier.

Removal Procedure


    Object Number: 1403621  Size: SH
  1. Remove the generator battery carrier fuse power cable. Refer to Battery Negative Cable Replacement - Battery Cut Off to Fuse .
  2. Remove the generator battery carrier power cable - battery 2 to battery 3. Refer to Battery to Battery Positive to Negative Cable Replacement - Battery 2 to Battery 3 .
  3. Disconnect the outlet duct from the vent fan duct.
  4. Disconnect the battery vent tube from the fan duct.
  5. Disconnect the fan electrical connector.
  6. Remove the fan screws.
  7. Remove the push pin fasteners.
  8. Remove the screws attaching the air duct hose to the generator battery carrier.
  9. Remove the fan and air duct hose.

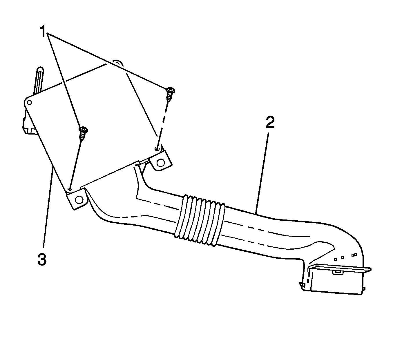
  10. Object Number: 1335910  Size: SH
  11. If necessary, remove the screws (1) attaching the air duct hose (2) to the fan (3).
  12. If necessary, remove the air duct hose (2) from the fan (3).

Installation Procedure


    Object Number: 1335910  Size: SH
  1. If necessary, install the air duct hose (2) to the fan (3).
  2. Notice: Refer to Fastener Notice in the Preface section.

  3. If necessary, install the screws (1) attaching the air duct hose (2) to the fan (3).
  4. Tighten
    Tighten the screws to 1 N·m (9 lb in).


    Object Number: 1403621  Size: SH
  5. Install the fan and air duct hose.
  6. Install the screws attaching the air duct hose to the generator battery carrier.
  7. Tighten
    Tighten the screws to 0.5 N·m (4.4 lb in).

  8. Install the push pin fasteners.
  9. Install the fan screws.
  10. Tighten
    Tighten the screws to 1 N·m (9 lb in).

  11. Connect the electrical connector to the fan.
  12. Connect the battery vent tube to the fan duct.
  13. Connect the outlet duct to the vent fan duct.
  14. Install the generator battery carrier power cable - battery 2 to battery 3. Refer to Battery to Battery Positive to Negative Cable Replacement - Battery 2 to Battery 3 .
  15. Install the generator battery carrier fuse power cable. Refer to Battery Negative Cable Replacement - Battery Cut Off to Fuse .