GM Service Manual Online
For 1990-2009 cars only

Rear Fender Replacement Standard

Removal Procedure


    Object Number: 702046  Size: SH
  1. Remove the bolts from the front of the fender.
  2. Remove the screws in the wheel house attaching the fender to the box.
  3. Remove the tail lamp assembly. Refer to Tail/Turn Signal Lamp Replacement .
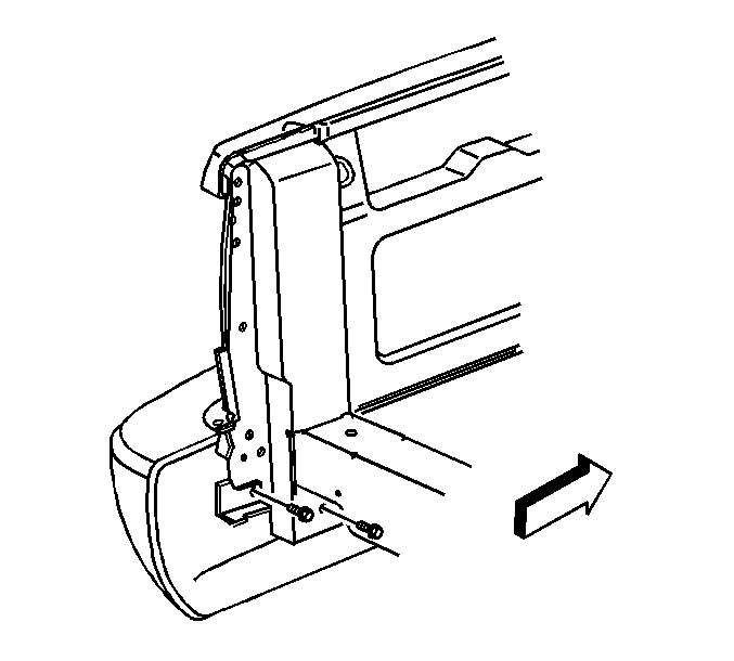
  4. Remove the fender to rear pillar retaining bolts through the tail lamp opening.

  5. Object Number: 702049  Size: SH
  6. Remove the rear bolts.
  7. Use the following procedure in order to remove the fender from the vehicle:
  8. 6.1. Lift the fender at the bottom up 45 degrees.
    6.2. Slide the fender upward to remove.

Installation Procedure

  1. Use the following procedure in order to install the fender to the vehicle:
  2. 1.1. Rotate the fender up 45 degrees.
    1.2. Rotate the fender down into the body position.

    Object Number: 702049  Size: SH
  3. Install the fender to rear pillar retaining bolts through the tail lamp opening.
  4. Notice: Use the correct fastener in the correct location. Replacement fasteners must be the correct part number for that application. Fasteners requiring replacement or fasteners requiring the use of thread locking compound or sealant are identified in the service procedure. Do not use paints, lubricants, or corrosion inhibitors on fasteners or fastener joint surfaces unless specified. These coatings affect fastener torque and joint clamping force and may damage the fastener. Use the correct tightening sequence and specifications when installing fasteners in order to avoid damage to parts and systems.

  5. Install the rear retaining bolts.
  6. Tighten
    Tighten the bolts to 17 N·m (12 lb ft).

  7. Install the tail lamp assembly. Refer to Tail/Turn Signal Lamp Replacement .
  8. Install the screws in the wheelhouse attaching the fender to the box.
  9. Tighten
    Tighten the screws to 2 N·m (18 lb in).


    Object Number: 702046  Size: SH
  10. Install the bolts to the front of the fender.
  11. Tighten
    Tighten the bolts to 17 N·m (12 lb ft).

Rear Fender Replacement QS4

Removal Procedure


    Object Number: 796351  Size: SH
  1. Remove the upper molding rear retainer (1) from the fender.
  2. Remove the upper molding from the fender. Use a flat-bladed tool in order to release the top molding retainers.
  3. Remove the fuel filler neck from the vehicle, if necessary. Refer to Fuel Tank Filler Door Replacement .

  4. Object Number: 702046  Size: SH
  5. Remove the bolts from the front of the fender.

  6. Object Number: 702049  Size: SH
  7. Remove the rear tail lamp assembly from the vehicle. Refer to Tail/Turn Signal Lamp Replacement in Lighting Systems.
  8. Remove the bolts that retain the fender to the rear pillar.

  9. Object Number: 752215  Size: SH
  10. Remove the lower bolts from the rear of the fender.
  11. Disconnect the electrical connectors from the running lights, if equipped.
  12. Remove the screws from the outer wheel well.

  13. Object Number: 796323  Size: SH
  14. Remove the bolts from the bottom of the fender.
  15. With an assistant, pivot the fender from the bottom upward to approximately 90 degrees in order to remove the fender from the retainers.

Installation Procedure


    Object Number: 796323  Size: SH
  1. With an assistant, install the fender to the pickup box at a 90 degree angle and lower gently.
  2. Notice: Refer to Fastener Notice in the Preface section.

  3. Install the bolts to the bottom of the fender.
  4. Tighten
    Tighten the bolts to 9 N·m (80 lb in).

  5. Install the screws to the outer wheel well area.
  6. Tighten
    Tighten the bolts to 9 N·m (80 lb in).

  7. Install the bolts to the bottom of the fender.
  8. Connect the electrical connectors to the running lamps, if equipped.

  9. Object Number: 752215  Size: SH
  10. Install the lower bolts to the rear of the fender.
  11. Tighten
    Tighten the bolts to 9 N·m (80 lb in).

  12. Install the bolts in order to retain the fender to the rear pillar.
  13. Tighten
    Tighten the bolts to 9 N·m (80 lb in).


    Object Number: 702049  Size: SH
  14. Install the rear tail lamp assembly to the vehicle. Refer to Tail/Turn Signal Lamp Replacement in Lighting Systems.

  15. Object Number: 702046  Size: SH
  16. Install the bolts to the front of the fender.
  17. Tighten
    Tighten the bolts to 17 N·m (13 lb ft).

  18. Install the fuel filler neck to the vehicle, if removed. Refer to Fuel Tank Filler Door Replacement .

  19. Object Number: 796351  Size: SH
  20. Install the upper molding to the pickup box side.
  21. Align the locator pins (2) and press down in order to secure.

  22. Install the upper molding rear retainer (1) to the pickup box side.

Rear Fender Replacement Rear Dual Wheel

Removal Procedure


    Object Number: 752209  Size: SH
  1. Remove the upper molding rear retainer (1) from the fender.
  2. Remove the upper molding from the fender. Use a flat-bladed tool in order to release the top molding retainers.
  3. Remove the fuel filler neck from the vehicle, if necessary. Refer to Fuel Tank Filler Door Replacement .

  4. Object Number: 702046  Size: SH
  5. Remove the bolts from the front of the fender.

  6. Object Number: 702049  Size: SH
  7. Remove the rear taillamp assembly from the vehicle. Refer to Tail/Turn Signal Lamp Replacement in Lighting Systems.
  8. Remove the bolts that retain the fender to the rear pillar. Remove the bolts through the taillamp opening.

  9. Object Number: 752215  Size: SH
  10. Remove the lower bolts from the rear of the fender.
  11. Disconnect the electrical connectors from the running lights, if equipped.
  12. Remove the screws from the wheelwell.

  13. Object Number: 752201  Size: SH
  14. Remove the bolts from the bottom of the fender.
  15. With an assistant, pivot the fender from the bottom to approximately 90 degrees in order to remove the fender.

Installation Procedure


    Object Number: 752201  Size: SH
  1. With an assistant, install the fender to the pickup box at a 90 degree angle and lower gently.
  2. Notice: Refer to Fastener Notice in the Preface section.

  3. Install the bolts to the bottom of the fender.
  4. Tighten
    Tighten the bolts to 25 N·m (18 lb ft).

  5. Install the screws to the wheelwell area.
  6. Tighten
    Tighten the screws to 2 N·m (18 lb in).

  7. Connect the electrical connectors to the running lamps, if equipped.

  8. Object Number: 752215  Size: SH
  9. Install the lower bolts to the rear of the fender.
  10. Tighten
    Tighten the bolts to 25 N·m (18 lb ft).

  11. Install the bolts in order to retain the fender to the rear pillar.
  12. Tighten
    Tighten the bolts to 23 N·m (17 lb ft).


    Object Number: 702049  Size: SH
  13. Install the rear taillamp assembly to the vehicle. Refer to Tail/Turn Signal Lamp Replacement in Lighting Systems.

  14. Object Number: 702046  Size: SH
  15. Install the bolts to the front of the fender.
  16. Tighten
    Tighten the bolts to 23 N·m (17 lb ft).

  17. Install the fuel filler neck to the vehicle, if removed. Refer to Fuel Tank Filler Door Replacement .

  18. Object Number: 752209  Size: SH
  19. Install the upper molding to the pickup box side.
  20. Align the locator pins (2) and press down in order to secure.

  21. Install the upper molding rear retainer to the pickup box side.

Rear Fender Replacement Step Side

Removal Procedure

  1. Remove the front filler bolts.

  2. Object Number: 366581  Size: SH
  3. Remove the step pad.
  4. Remove the lower fender brace rod bolts.
  5. Remove the fender step bolts.
  6. Remove the fender molding push-pins.
  7. Remove the tail lamp assembly. Refer to Tail/Turn Signal Lamp Replacement .
  8. Remove the fender to rear pillar retaining bolts through the tail lamp opening.

  9. Object Number: 352938  Size: SH
  10. Remove the rear retaining screws.
  11. Remove the top fender molding push-pin retainer.

  12. Object Number: 352937  Size: SH
  13. Remove the top fender molding.
  14. Use the following procedure in order to remove the fender from the vehicle:
  15. 11.1. Lift the fender up 90 degrees.
    11.2. Slide the fender outward.

Installation Procedure

  1. Use the following procedure in order to install the fender to the vehicle:
  2. 1.1. Position the locating notch in the fender to the vehicle.
    1.2. Rotate the fender up 90 degrees.
    1.3. Slide the fender under the retainers.
    1.4. Rotate the fender down 90 degrees into the body position.
  3. Install the rear retaining screws.

  4. Object Number: 352938  Size: SH
  5. Install the fender to the rear pillar retaining bolts through the tail lamp opening.
  6. Install the tail lamp assembly. Refer to Tail/Turn Signal Lamp Replacement .
  7. Install the fender step bolts.

  8. Object Number: 366581  Size: SH
  9. Install the step pad.
  10. Install the front filler bolts.
  11. Install the lower fender brace rods bolts.

  12. Object Number: 352937  Size: SH
  13. Install the top fender molding.
  14. Install the top molding rear push-pin retainer.