Removal Procedure
- Remove all related panels and components.
- Restore as much of the damage as possible to factory specifications.
- Note the location and remove the following as necessary:
| • | The anti-corrosion materials |
Important: Refer to
Outer Door Frame Sectioning
for specified sectioning location. Sectioning outside of these areas may compromise the structural integrity of the vehicle.
- Measure 80 mm (3 1/8 in) down from the large wiring harness hole in the hinge pillar (1) and mark a horizontal line.
- Perform additional sectioning procedures as necessary. Refer to the following procedures:
Important: Do not damage the inner panels or reinforcements.
- Cut the pillar in the locations where sectioning is to be performed.
- Locate and drill out all factory welds. Note the number and location of the welds for installation of the service part.
- Remove the damaged section of the door frame opening.
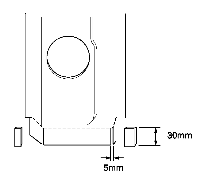
- Cut and remove 30 mm (1 3/16 in) from the flanges on either side of the remaining section of the original
hinge pillar to create 30 mm (1 3/16 in) tabs. Cut 5 mm (3/16 in) wide gaps in the bottom corners.
Important: The metal of the hinge pillar is of a heavy gauge. However, the tabs can be created using the appropriate tools.
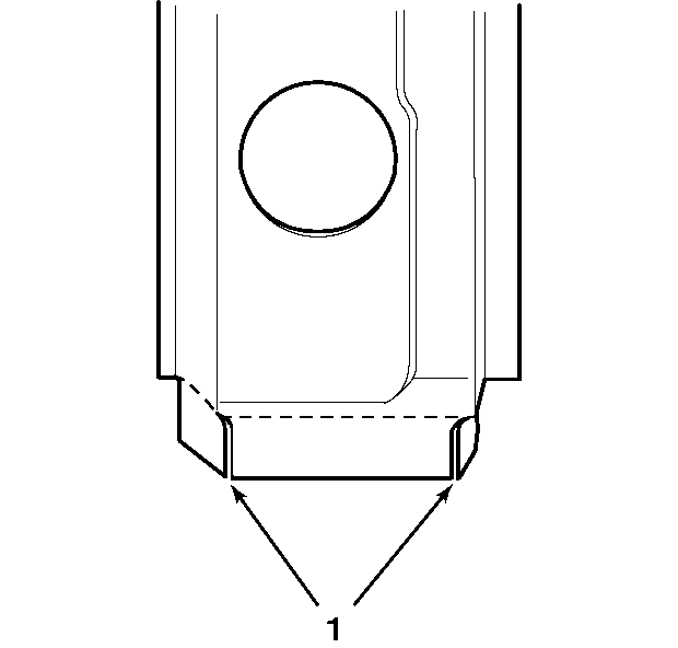
- Step the tabs (1) inward to allow the door frame opening service section to fit over the original hinge pillar. Weld the tabs together along the edges.
Installation Procedure
- On the service part (1), measure 50 mm (2 in) down from the large wiring harness hole in the hinge pillar
and mark horizontal line. Cut the hinge pillar along this line.
- Perform additional sectioning procedures as necessary to remove the unused areas of the service part.
- Drill 8 mm (5/16 in) plug weld holes along the hinge pillar sectioning cut on the service part. Locate these holes approximately 15 mm (9/16 in) from the edge and spaced 40 mm (1 ½ in) apart.
Important: If the location of the original plug weld holes cannot be determined, space the plug weld holes every 40 mm (1 1/2 in) apart.
- Drill 8 mm (5/16 in) plug weld holes (1) in the service part (2) , in the locations noted from the original panel.
Caution: Foam sound deadeners must be removed from areas within 152.4 mm
(6 in) of where flame is to be used for body repairs. When
reinstalling foam sound deadeners, avoid inhaling fumes as bodily injury
may result.
- Prepare all mating surfaces as necessary.
- Apply 3M Weld-Thru Coating P/N 05916 or equivalent to all mating surfaces.
- Align the service section over the stepped tab on the original hinge pillar, allowing 30 mm (1 3/16 in) of overlap. Check fit using 3-dimensional measuring.
- Plug weld service part in position (1).
- To create a solid weld with minimum heat distortion, make 25 mm (1 in) welds along the seam with 25 mm (1 in) gaps between them (2). Then, go back and complete the stitch weld.
Important: Prior to refinishing, refer to the publication GM4901M-D-2000 GM Approved refinish materials for recommended products. Do not combine paint systems. Refer to paint manufacturer's recommendations.
- Clean and prepare all welded surfaces.
- Apply the following as necessary:
| • | An approved anti-corrosion primer |
| • | The sound deadening materials |
| • | The sealers and the refinish materials |
- Install all related panels and components.