GM Service Manual Online
For 1990-2009 cars only

Assist Step Replacement Body Mount

Removal Procedure


    Object Number: 768787  Size: SH
  1. Remove the following components from the vehicle:
  2. 1.1. The center body mount bolt (1)
    1.2. The lock washer
    1.3. The washer
  3. Remove the center lower body-cushion assemblies (4).
  4. Remove the following components from the assist step:
  5. 3.1. The center bolt (2)
    3.2. The lock washer
    3.3. The washer
  6. Remove the assist step center bracket (5).

  7. Object Number: 768798  Size: SH
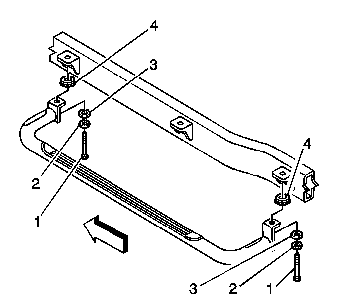
  8. With an assistant, remove the following front components, and rear components:
  9. 5.1. The body mount bolts (1)
    5.2. The lock washers (2)
    5.3. The washers (3)
  10. With an assistant, remove the assist step assembly from the vehicle.
  11. Remove the lower body-mount cushion assemblies (4), front and rear, from the vehicle.

  12. Object Number: 768801  Size: SH
  13. Remove the following components from the front assist step brackets, and from the rear assist step brackets:
  14. 8.1. The bolts (1)
    8.2. The lock washers (2)
    8.3. The washers (3)
  15. Remove the front brackets, and the rear brackets (4) from the assist step.
  16. Remove the front gaskets, and the rear gaskets (5) from the assist step.

Installation Procedure


    Object Number: 768801  Size: SH

    Important: Apply thread locker GM P/N 12345382 to all bolt threads prior to assembly.

  1. Install the front gaskets, and the rear gaskets (5) to the assist step.
  2. Install the front brackets, and the rear brackets (4) to the assist step.
  3. Notice: Use the correct fastener in the correct location. Replacement fasteners must be the correct part number for that application. Fasteners requiring replacement or fasteners requiring the use of thread locking compound or sealant are identified in the service procedure. Do not use paints, lubricants, or corrosion inhibitors on fasteners or fastener joint surfaces unless specified. These coatings affect fastener torque and joint clamping force and may damage the fastener. Use the correct tightening sequence and specifications when installing fasteners in order to avoid damage to parts and systems.

  4. Install the following components to the front assist step bracket, and the rear assist step bracket:
  5. 3.1. The washers (3)
    3.2. The lock washers (2)
    3.3. The bolts (1)

    Tighten
    Torque the bolts to 90 N·m (66 lb ft).


    Object Number: 768798  Size: SH
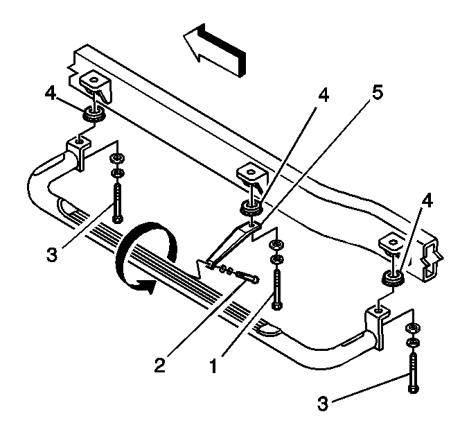
  6. Install the lower body-mount cushion assemblies (4), front and rear, to the vehicle.
  7. With an assistant, raise the assist step to the vehicle.
  8. With an assistant, install the following front components, and rear components:
  9. 6.1. The washers (3)
    6.2. The lock washers (2)
    6.3. The body mount bolts (1)

    Tighten
    Torque the bolts to 90 N·m (66 lb ft).


    Object Number: 768787  Size: SH
  10. Install (5) the assist step center bracket.
  11. Install (2) the following components to the assist step:
  12. 8.1. The washer
    8.2. The lock washer
    8.3. The center bolt

    Tighten
    Torque to 45 N·m (33 lb ft).

  13. Install (1) the following components to the assist step:
  14. 9.1. The washer
    9.2. The lock washer
    9.3. The center body mount bolt

    Tighten
    Torque to 90 N·m (66 lb ft).